lemon-mirror:
Home >> Volvo >> 2011 >> S60 >> Repair and Diagnosis >> Brakes >> Traction Control >> Brake Control System - Design And Function >> Brake Control Module >> Brake Control Module (BCM) [2011-2018] >> Design >> Power Brake Booster

Power Brake Booster

The brake servo serves to amplify braking force and, simply put, comprises two chambers - one front and one rear. There are two main types of brake servos - passive and active. The brake servo is mounted on the cowl panel in the engine compartment.

There are four versions of brake servo that are tied to the type and equipment of the vehicle.

Vehicle equipped with brake servo of type: Vehicle equipped with/without adaptive cruise control function
Adaptive cruise control (ACC) and without brake vacuum pump Adaptive cruise control (ACC) and with brake vacuum pump Without adaptive cruise control (ACC) and without brake vacuum pump Without adaptive cruise control (ACC) and with brake vacuum pump
Active brake servo with vacuum pressure sensor      
Active brake servo without vacuum pressure sensor      
Passive brake servo with vacuum pressure sensor      
Passive brake servo without vacuum pressure sensor      

Passive brake servo 

The passive brake servo amplifies the driver's braking force by allowing atmospheric pressure into the rear chamber while the front chamber maintains a vacuum pressure. This creates an amplification factor.

The passive brake servo can be equipped with a vacuum pressure sensor if the vehicle does not have a brake vacuum pump.

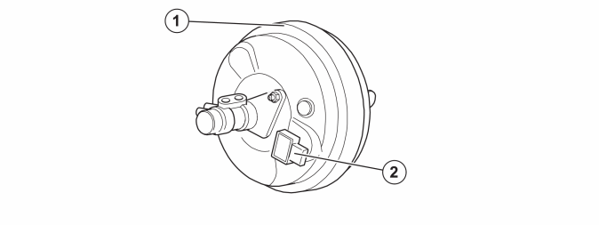
Passive brake servo without vacuum pressure sensor 

GLL1032242Courtesy of VOLVO CARS CORPORATION

The passive brake servo consists of: 

  1. vacuum cylinder

Passive brake servo with vacuum pressure sensor 

GLL1038957Courtesy of VOLVO CARS CORPORATION

The brake servo consists of: 

  1. vacuum cylinder
  2. vacuum pressure sensor

Active brake servo 

The active brake servo has the qualities of the passive brake servo, but can also be activated by the brake control module (BCM) regardless of whether the driver is braking. An active brake servo is equipped with a pressure valve and a pedal pressure sensor. In order to create brake pressure without the driver depressing the brake pedal, the brake control module (BCM) activates the pressure valve, which allows atmospheric pressure into the rear chamber. The brake control module (BCM) uses information from the pedal pressure sensor to be able to detect whether the driver is braking when the active brake servo is operating.

The active brake servo is also equipped with a pedal position sensor.

The active brake servo can be equipped with a vacuum pressure sensor if the vehicle does not have a brake vacuum pump.

Active brake servo without vacuum pressure sensor 

GLL154805Courtesy of VOLVO CARS CORPORATION

The brake servo consists of: 

  1. vacuum cylinder
  2. connector for pedal pressure sensor and pressure valve
  3. pedal position sensor

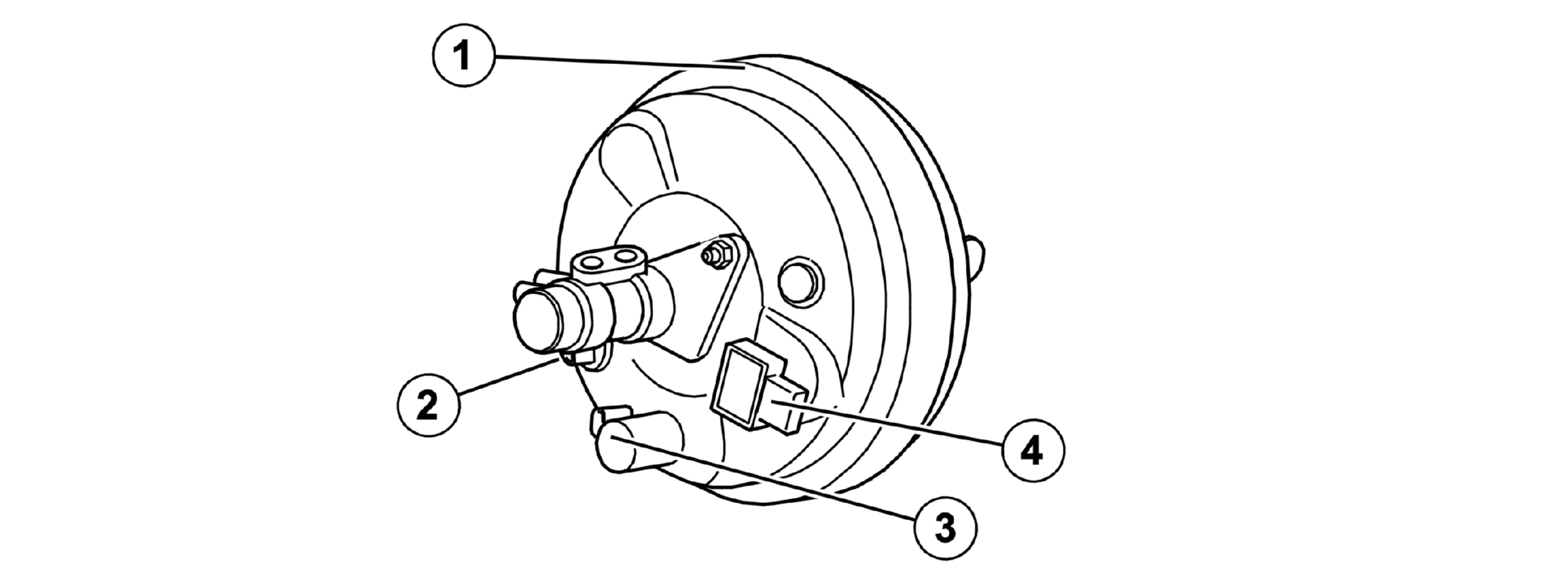
Active brake servo with vacuum pressure sensor 

GLL153882Courtesy of VOLVO CARS CORPORATION

The brake servo consists of: 

  1. vacuum cylinder
  2. connector for pedal pressure sensor and pressure valve
  3. pedal position sensor
  4. vacuum pressure sensor