lemon-mirror:
Home >> Volvo >> 2011 >> S60 >> Repair and Diagnosis >> Brakes >> Traction Control >> Brake Control System - Specifications, Electrical/Electronic >> Component Specifications, Brake Control Module >> Component Specifications, Brake Control Module (BCM) [2011-2018] >> Vacuum Sensor 7/160

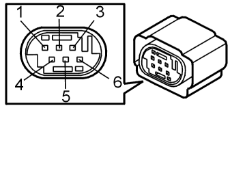
Vacuum Sensor 7/160

GENERAL 

Type 

Vacuum pressure sensor: Double piezoresistive sensors

The sensor measures the pressure change between the vacuum chamber and the work chamber. The signal ratio between the chambers should correspond.

characteristic 

Vacuum chamber (1): Voltage between terminals #30 (#A30) and #40 (#A40) should be similar to diagram 1 below.

Work chamber (2): Voltage between terminals 41 (A#41) and #40 (#A40) should be similar to diagram 2 below.

GLL1002899Courtesy of VOLVO CARS CORPORATION

PEDAL PRESSURE SENSOR/CHECK VALVE (SAME CONNECTOR) 

Type 

Pedal pressure sensor: Two-pin, quickshifter located within the brake servo on the brake servo pushrod

Check valve: Electric coil with magnet core and valve

Characteristic pedal pressure sensor 

Resistance between terminals #1 and #5 should be infinite when the brake pedal is not actuated and 0 Ω when the brake pedal is depressed

Resistance between terminals #2 and #5 should be 0 Ω when the brake pedal is not actuated and infinite when the brake pedal is depressed

Characteristic, check valve 

Resistance between terminals #3 and #4 should be approx. 3 Ω.

Check, pedal pressure sensor 

Prerequisites (unless otherwise specified):

Check 

Check 1, pedal pressure sensor 

Voltage between terminals #21 (#A21) and #23 (#A23) should be 0 V when the brake pedal is not actuated and 12 V when the brake pedal is depressed.

Voltage between terminals #21 (#A21) and #24 (#A24) should be 12 V when the brake pedal is not actuated and 0 V when the brake pedal is depressed.

Check 1, check valve 

Voltage between terminals #17 (A#17) and #31 (#A31) should be 12 V.

GLL104186Courtesy of VOLVO CARS CORPORATION