lemon-mirror:
Home >> Volvo >> 2012 >> C70 >> Repair and Diagnosis >> Electrical >> Gauges >> Infotainment Control Module (ICM) - Signal Specifications >> Entertainment Systems >> Infotainment Control Module (ICM), Signal Specification

Infotainment Control Module (ICM), Signal Specification

General 

NOTE:

It is important to check ground terminals before taking readings.

U= DC voltage in volts (V) Ulow = Voltage approximately 0 V
Ubat = Battery voltage (V)    
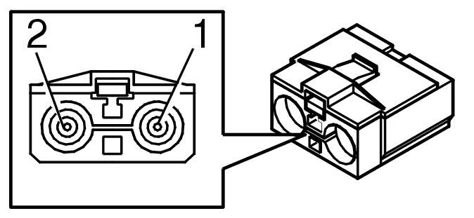
Fig 1: Identifying 2-Bit Connector
GLL128623Courtesy of VOLVO CARS CORPORATION
CONNECTOR A

Terminal  Signal type  Ignition on  Other 
#A1 Antenna signal - Input signal FMsub
#A2 Antenna signal - Input signal AM/FM main. Vehicles equipped with TMC - Phantom power supply for traffic message channel module (TMC). Vehicles without TMC - Phantom power supply for antenna amplifier.
Fig 2: Identifying Connector B
GLL101931Courtesy of VOLVO CARS CORPORATION
CONNECTOR B

Terminal  Signal type  Ignition on  Other 
#B1 30 supply U = Ubat  
Fig 3: Identifying Connector C
GLL108086Courtesy of VOLVO CARS CORPORATION
CONNECTOR C

Terminal  Signal type  Ignition on  Other 
#C1 MOST input signal Optical input signal when the MOST network is activated  
#C2 MOST output signal Optical output signal when the MOST network is activated