lemon-mirror:
Home >> Volvo >> 2012 >> C70 >> Repair and Diagnosis >> Engine Performance >> System >> Electronics - Design And Function - 1 Of 4 >> Battery >> Design And Function >> Gas Build Up

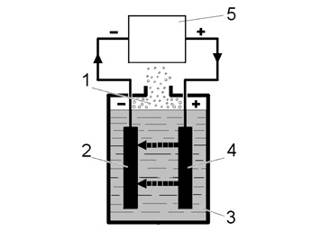
Gas Build Up

Fig 1: Battery Gas Build Up
GLL102565Courtesy of VOLVO CARS CORPORATION

Gas build up 

  1. Gas build up at the plates
  2. Negative plate
  3. Electrolyte
  4. Positive plate
  5. The power supply from the generator or the external battery charger.

Gas builds up at the end of the charging process when charging a lead battery. When the battery has reached 85-90% of the maximum capacity, the water in the electrolyte begins to separate into oxygen (O2 ) and hydrogen (H2 ). Oxygen is formed at the positive plate and hydrogen at the negative plate.

Gas build up results in a loss of some of the gas from the battery, because the battery must not be fully sealed. Because the water is lost, the electrolyte level in the battery will drop. New distilled or deionized water must therefore be added to prevent damage to the plates as a result of the electrolyte level being too low. If new water is not added when necessary, the plates may come into contact with the air. This would result in corrosion, reducing the capacity of the battery.

For maintenance-free batteries as well as sealed batteries (AGM), normally no gases are released. This means that the battery water is not consumed in the electrolyte and topping up of battery water is not necessary. Also, the design of the battery box does not permit topping up of battery water.

WARNING:

If oxygen and hydrogen are mixed in the right proportions, oxyhydrogen is formed. This mixture is extremely explosive. Take great care to avoid personal injuries as well as damage to the battery.

WARNING:

Make sure that the battery charger is turned off before the terminals are disconnected. This to prevent sparking which may ignite the oxyhydrogen.

NOTE:

Make sure that ventilation is good.