lemon-mirror:
Home >> Volvo >> 2012 >> XC90 Base, FWD >> Repair and Diagnosis >> Electrical >> Body Electrical >> Control Modules - Signal Specification For Diagnostic Procedures >> Fault-Tracing >> Signal Specification, Audio Control Module >> Connecting The Breakout Box And Checking The Ground Terminal >> Audio Control Module (Cable Between The Audio Module And The Amplifier)

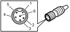
Audio Control Module (Cable Between The Audio Module And The Amplifier)

Fig 1: Identifying Terminals Of Cable Between Audio Module And Amplifier
GLL104158Courtesy of VOLVO CARS CORPORATION

Before taking any readings, see CHECKING VOLTAGE / GROUND CONNECTION, MEDIA/INFOTAINMENT .

Control module terminal Breakout box terminal Signal type Ignition on Miscellaneous
D1 #42 Audio channel, loudspeaker left front Alternating current when sound at front left loudspeaker -
D2 #43 Audio channel, loudspeaker right front Alternating current when sound at front right loudspeaker -
D3 #44 Audio channel, loudspeaker right rear Alternating current when sound at right rear loudspeaker -
D4 #45 Signal ground, audio channel Ulow -
D5 #46 Audio channel, loudspeaker left rear Alternating current when sound at left rear loudspeaker -
D6 #47 Control signal (off / on) amplifier   -