lemon-mirror:
Home >> Volvo >> 2012 >> XC90 Base, FWD >> Repair and Diagnosis >> Electrical >> Body Electrical >> Control Modules - Signal Specification For Diagnostic Procedures >> Fault-Tracing >> Signal Specification, Audio Control Module >> Connecting The Breakout Box And Checking The Ground Terminal >> Audio Control Module (Cable Between The Audio Module And The Cd Changer/Navigation Unit)

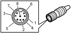
Audio Control Module (Cable Between The Audio Module And The Cd Changer/Navigation Unit)

Fig 1: Identifying Terminals Of Cable Between Audio Module And CD Changer/Navigation Unit
GLL104160Courtesy of VOLVO CARS CORPORATION

Before taking any readings, see CHECKING VOLTAGE / GROUND CONNECTION, MEDIA/INFOTAINMENT .

Control module terminal Breakout box terminal Signal type Ignition on Miscellaneous
E1 #16 Clock signal to audio unit Digital signal -
E2 #17 Signal ground, sound Ulow -
E3 #18 15 supply Ubat -
E4 #19 Data signal to audio unit Digital signal -
E5 #20 Busy signal to audio unit Digital signal -
E6 #21 Left audio channel Alternating current when there is sound to the loudspeaker -
E7 #22 Right audio channel Alternating current when there is sound to the loudspeaker -
E8 #23 Voice guide channel Alternating current when there is sound to the loudspeaker -
H   Screen ground, cable to audio unit Ulow -