lemon-mirror:
Home >> Volvo >> 2012 >> XC90 R-Design, AWD >> Repair and Diagnosis >> Engine Performance >> System >> Miscellaneous Electrical - Design And Function >> Accessory Electronic Module (AEM) (2003-2014) >> System Overview >> Control Module

Control Module

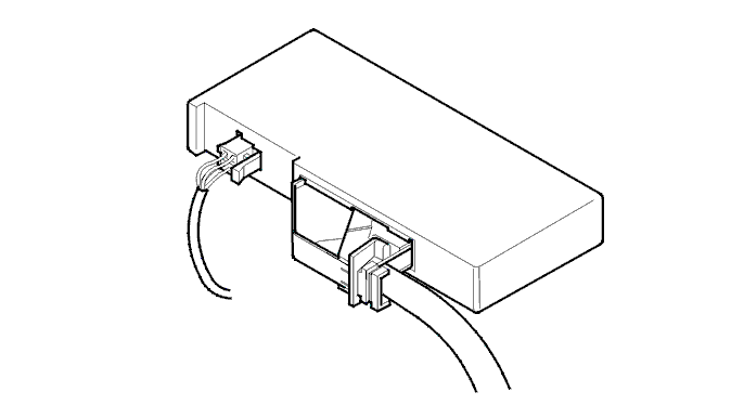
Fig 1: Accessory Electronic Module
GLL106161Courtesy of VOLVO CARS CORPORATION

The function of the accessory electronic module (AEM) is to allow certain accessories to exchange information with the car's controller area network. This exchange of information means that accessories can be installed with greater functionality and higher quality. The accessory electronic module (AEM) manages the following functions:

The functions managed by the accessory electronic module (AEM) may vary between different car models.

The accessory electronic module (AEM) is an accessory and is only available for order and installation as an after market item.

Information regarding which production plant a car is manufactured in can be found in the VIN number. The seventh position from the right in the VIN specifies the production plant.

Information regarding which production plant a car is manufactured in can be found in the VIN number. The seventh position from the right in the VIN specifies the production plant.

The control module is installed in the cargo compartment of the car behind the side panel at the right-hand wheel arch.

After installation the accessory electronic module (AEM) is configured using software. Configuration is carried out via VIDA (Volvo scan tool).

The control module communicates with directly connected components, and via a Controller area network (CAN).

One of the main purposes of the control module is to function as an interface between accessories, which are not prepared for Controller area network (CAN) communication, and the Control area network (CAN) of the car and its functions.

The control module checks activations and input and output signals via an integrated diagnostic system. A diagnostic trouble code (DTC) is stored if the control module detects a fault. Any diagnostic trouble codes (DTCs) and stored in the control module memory and information can be read out using VIDA (Volvo scan tool).