lemon-mirror:
Home >> Volvo >> 2021 >> XC60 T6 Inscription >> Repair and Diagnosis >> General Information >> OEM General Information >> Administration >> Engine >> Valves

OEM General Information: Administration: Engine: Valves

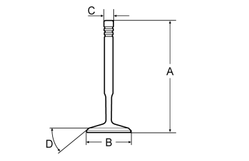
GLL158839Courtesy of VOLVO CARS CORPORATION
Intake   
Length (A)........mm 109, 16
Diameter on crown (B)........mm 31
Diameter on shaft (C)........mm 5, 94
Valve angle (D)........° 45, 5
Clearance in guide........μm 30
Valve clearance..................mm 0, 20±0.03
   
Exhaust   
Length (A)........mm 110, 79
Diameter on crown (B)........mm 27
Diameter on shaft (C)........mm 5, 94
Valve angle (D)........° 45, 5
Clearance in guide........μm 51
Valve clearance..................mm 0, 50±0.03