lemon-mirror:
Home >> Acura >> 1992 >> Integra GS-R >> Repair and Diagnosis >> Accessories & Equipment >> Cruise Control Systems >> Testing >> Dimmer Switch Circuit >> Legend

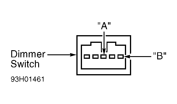
Dimmer Switch Circuit: Legend

  1. Turn ignition off. Remove 2 screws from instrument cluster bezel. Pull out instrument cluster bezel far enough to disconnect 3 electrical connectors (one on left side and 2 on right side). Remove instrument cluster bezel.
  2. Using a DVOM, measure resistance of dimmer switch terminals "A" and "B". See Fig 1 . Resistance should vary between zero and 24,000 ohms when dimmer switch dial is rotated. Resistance will vary slightly with temperature. If resistance is within specification, go to next step. If resistance is not within specification, replace dimmer switch.
    Fig 1: Dimmer Switch Terminal ID (Legend)
    G93H01461Courtesy of AMERICAN HONDA MOTOR CO., INC.
  3. Access dashlight brightness control unit located behind left side of radio. Disconnect dashlight brightness control unit 7-pin connector. See Fig 2 . With headlight switch on or off, use a DVOM to check for continuity between 7-pin connector Black wire and ground. Continuity should be present. If continuity is present, go to next step. If continuity is not present, repair open in Black wire or poor ground connection G251 located at base of left "B" pillar.
  4. With headlight switch on, use a DVOM to check for battery voltage between 7-pin connector Red/Black wire and ground. Battery voltage should be present. If battery voltage is present, go to next step. If battery voltage is not present, replace blown fuse No. 49, faulty taillight relay, faulty headlight switch or open circuit in Red/Black wire.
  5. With headlight switch on, use a jumper wire to ground 7-pin connector Red wire. Dashlights should come on. If dashlights come on (full bright), go to next step. If dashlights do not come on, repair open circuit in Red/Black wire or Red wire for 7-pin connector.
  6. Using a DVOM, measure resistance between 7-pin connector Red/Green wire and Red/Blue wire. Resistance should vary between zero and 24,000 ohms when dimmer switch dial is rotated. Resistance will vary slightly with temperature. If resistance is within specification, go to next step. If resistance is not within specification, repair open circuit in Red/Green wire or Red/Blue wire or replace faulty dashlight brightness control unit.
  7. Ensure connection between 7-pin connector and dashlight brightness control unit is okay. If connection is okay, replace dashlight brightness control unit with a known good unit and check operation of cruise control indicator light.
Fig 2: Dashlight Brightness Controller (Legend)
G93J01462Courtesy of AMERICAN HONDA MOTOR CO., INC.