lemon-mirror:
Home >> Acura >> 1998 >> 2.3CL Automatic >> Repair and Diagnosis >> Electrical >> Charging Systems >> Generators & Regulators >> Bench Testing >> Rectifier Diodes

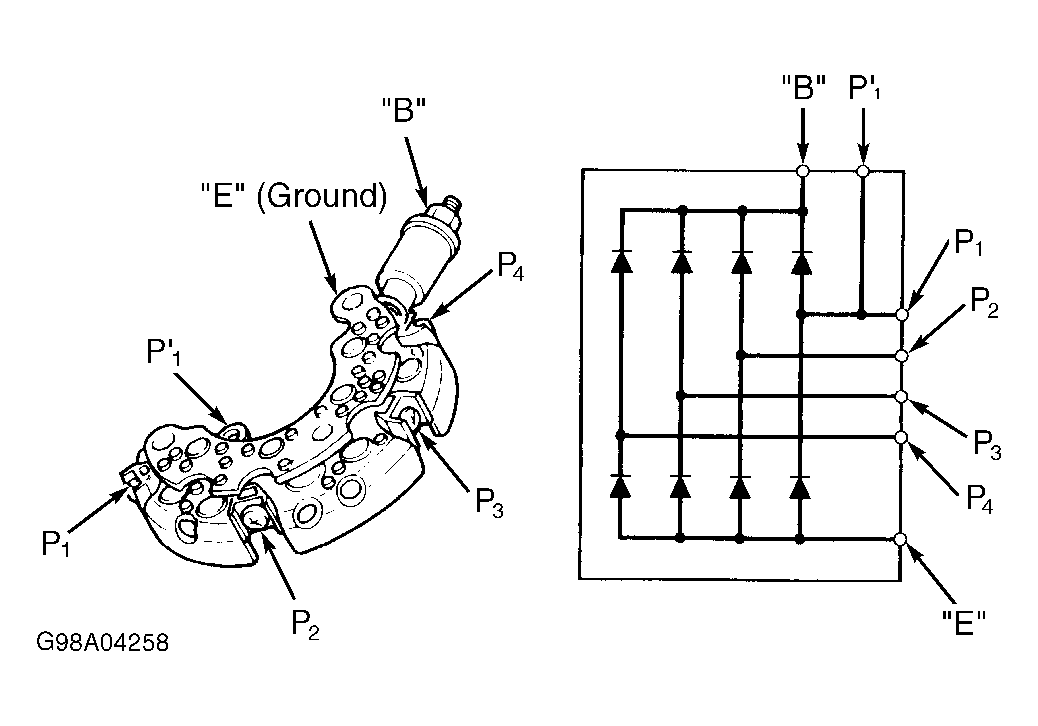
Rectifier Diodes

NOTE: Use an ohmmeter capable of checking diodes.
  1. Check for continuity between the rectifier assembly terminal "B" and terminals P1-P5, and between terminals "E" and P1-P5. See Figure. Note ohmmeter reading.
  2. Reverse leads, and repeat test. Continuity should exist only in one direction. If continuity is not as specified, replace rectifier assembly.
Fig 1: Identifying Rectifier Terminals
G98A04258Courtesy of AMERICAN HONDA MOTOR CO., INC.