lemon-mirror:
Home >> Acura >> 2003 >> MDX Base >> Repair and Diagnosis >> Body & Frame >> Windows >> Glass >> Rear Window Replacement

Rear Window Replacement

NOTE:
  • Put an gloves to protect your hands.
  • Wear eye protection while cutting the glass adhesive with piano wire.
  • Cover interior surfaces to avoid damaging them.
  • Do not damage the rear window defogger grid lines and terminals.
  1. Remove these items:
  2. Disconnect the rear window defogger connectors (A).
    Fig 1: Disconnecting Rear Window Defogger Connectors
    G03641554Courtesy of AMERICAN HONDA MOTOR CO., INC.
  3. If the old rear window will be reinstalled, make alignment marks across the glass and body with a grease pencil.
  4. Apply protective tape along the inside and outside edges of the tailgate. Using an awl, make a hole through the adhesive from inside the vehicle at the corner portion of the glass. Push the piano wire through the hole, and wrap each end around a piece of wood.
  5. With a helper on the outside, pull the piano wire (A) back and forth in a sawing motion. Hold the piano wire as close to the rear window (B) as possible to prevent damage to the tailgate, and carefully cut through the adhesive (C) around the entire rear window.
    Fig 2: Cutting Positions Using Piano Wire (1 Of 2)
    G03641555Courtesy of AMERICAN HONDA MOTOR CO., INC.
    Fig 3: Cutting Positions Using Piano Wire (2 Of 2)
    G03641556Courtesy of AMERICAN HONDA MOTOR CO., INC.
  6. Carefully remove the rear window.
  7. With a putty knife, scrape the old adhesive until smooth to a thickness of about 2 mm (0.08 in.) on the bonding surface around the entire rear window opening flange:
    • Do not scrape down to the painted surface of the body; damaged paint will interfere with proper bonding.
    • Remove the fasteners from the tailgate.
  8. Clean the tailgate bonding surface with a sponge dampened in alcohol. After cleaning, keep oil, grease, and water from getting on the surface.
  9. If the old rear window will be reinstalled, use a putty knife to scrape off all of the old adhesive and rubber dam from the rear window. Clean the inside face and the edge of the rear window with alcohol where new adhesive will be applied. Make sure the bonding surface is kept free of water, oil, and grease.
  10. Attach the upper corner fasteners (A) with adhesive tape A, and lower corner fasteners (B) with adhesive tape B. Attach the upper rubber dam (C) and lower rubber dam (D) with adhesive tape C to the inside surface of the rear window (E) as shown in Fig 4 :
    • Be sure the fasteners and rubber dams line up with alignment marks (F).
    • Be careful not to touch the rear window where adhesive will be applied.
      • Adhesive tape A: Thickness 0.6 mm (0.023 in.) Width 7.5 mm (0.30 in.) 
      • Adhesive tape B: Thickness 0.6 mm (0.023 in.) Width 7.5 mm (0.30 in.) 
      • Adhesive tape C: Thickness 0.16 mm (0.006 in.) Width 3.5 mm (0.14 in.) 
      Fig 4: Attaching Upper Corner Fasteners With Adhesive Tape A
      G03641557Courtesy of AMERICAN HONDA MOTOR CO., INC.
  11. Attach the corner fasteners (A, B) with adhesive tape A to the tailgate as shown in Fig 5 .

    Adhesive tape A: Thickness 0.6 mm (0.023 in.) Width 9.5 mm (0.37 in.) 

    Fig 5: Attaching Corner Fasteners With Adhesive Tape A To Tailgate
    G03641558Courtesy of AMERICAN HONDA MOTOR CO., INC.
  12. Set the rear window in the opening, and center it. Make alignment marks (A) across the rear window, tailgate, and body with a grease pencil at the four points shown in Fig 6 . Be careful not to touch the rear window where adhesive will be applied.
    Fig 6: Making Alignment Marks Across Rear Window, Tailgate And Body
    G03641559Courtesy of AMERICAN HONDA MOTOR CO., INC.
  13. Remove the rear window.
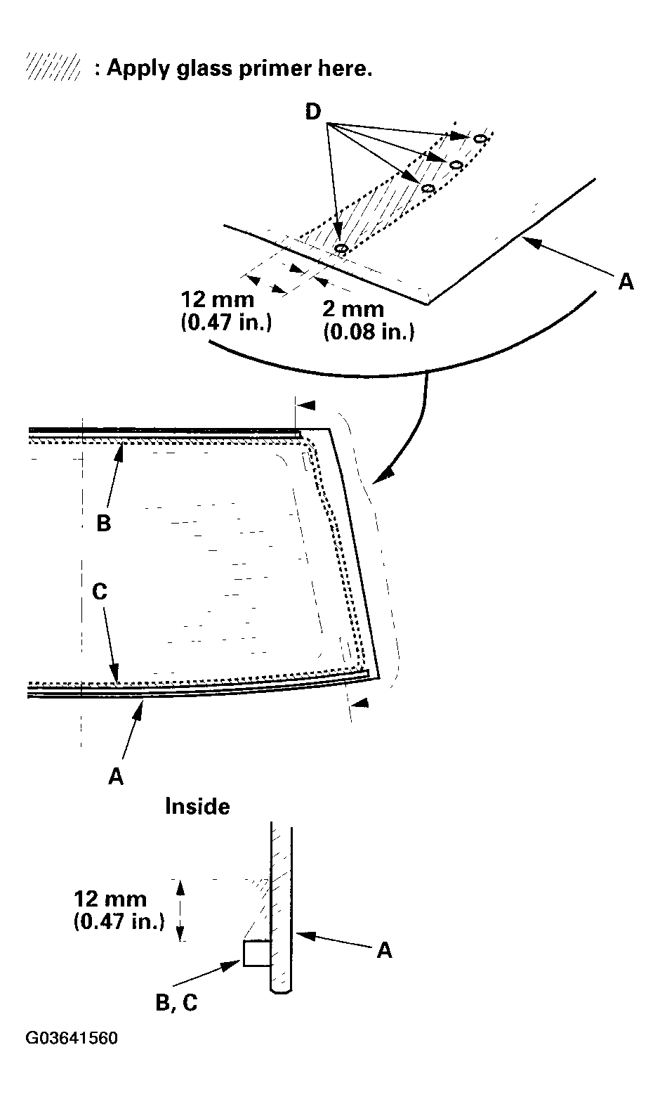
  14. With a sponge, apply a light coat of glass primer to the edge of the rear window (A) along the upper rubber dam (B) and lower rubber dam (C) as shown in Fig 7 , then lightly wipe it off with gauze or cheesecloth:
    • With the printed dots (D) on the rear window as a guide, apply the glass primer to both side portions of the rear window.
    • Do not apply body primer to the rear window, and do not get tailgate and glass primer sponges mixed up.
    • Never touch the primed surfaces with your hands. If you do, the adhesive may not bond to the rear window properly, causing a leak after the rear window is installed.
    • Keep water, dust, and abrasive materials away from the primed surfaces.
      Fig 7: Applying Light Coat Of Primer To Edge Of Rear Window
      G03641560Courtesy of AMERICAN HONDA MOTOR CO., INC.
  15. With a sponge, carefully apply a light coat of body primer to any exposed paint around the flange where new adhesive will be applied. Let the primer dry for at least 10 minutes:
    • Do NOT apply body primer to any remaining original adhesive on the flange.
    • Be careful not to mix up the body and glass primer sponges.
    • Never touch the primed surface with your hands.
      Fig 8: Applying Light Coat Of Body Primer To Any Exposed Paint
      G03641561Courtesy of AMERICAN HONDA MOTOR CO., INC.
  16. Cut a "V" in the end of the nozzle (A) on the adhesive cartridge as shown in Fig 9 .
    Fig 9: Cutting "V" End Of Nozzle On Adhesive Cartridge
    G03641562Courtesy of AMERICAN HONDA MOTOR CO., INC.
  17. Put the cartridge in a caulking gun, and run a bead of adhesive (A) on the glass primer trace (B) you applied on step  14 , and around the edge of the rear window (C) as shown in Fig 10 .

    Apply the adhesive within 30 minutes after applying the glass primer. Make a slightly thicker bead at each corner.

    Fig 10: Running Bead Of Adhesive On Glass Primer Trace
    G03641563Courtesy of AMERICAN HONDA MOTOR CO., INC.
  18. Use suction cups to hold the rear window over the opening, align it with the alignment marks you made in step  12 , and set it down on the adhesive. Lightly push on the rear window until its edges are fully seated on the adhesive all the way around. Do not open or close the doors until the adhesive is dry.
  19. Scrape or wipe any excess adhesive off with a putty knife or towel. To remove adhesive from a painted surface or the rear window, use a soft shop towel dampened with alcohol.
  20. Let the adhesive dry for at least 1 hour, then spray water over the rear window and check for leaks. Mark the leaking areas, let the rear window dry, then seal with sealant. Let the vehicle stand for at least 4 hours after rear window installation. If the vehicle has to be used within the first 4 hours, it must be driven slowly.
  21. Reinstall all remaining removed parts.
    NOTE: Advise the customer not to do the following things for 2 to 3 days:
    • Slam the doors with all the windows rolled up.
    • Twist the body excessively (such as when going in and out of driveways at an angle or driving over rough, uneven roads).