lemon-mirror:
Home >> Acura >> 2007 >> TL Base >> Repair and Diagnosis >> Engine Mechanical >> Mechanical >> Engine Removal And Installation >> Engine Installation

Engine Installation

Special Tools Required 

  1. Install the engine mount brackets and accessory brackets, and tighten their bolts to the specified torque.
    Fig 1: Engine Mount Brackets And Accessory Brackets Bolts With Torque Specifications
    G05457540Courtesy of AMERICAN HONDA MOTOR CO., INC.
  2. Position the engine/transmission under the vehicle. Be sure that they are properly aligned. Carefully lower the vehicle on the lift until the engine/transmission are properly positioned in the engine compartment. Make sure the vehicle is not resting on any part of the engine/transmission. Support the engine/transmission with a chain hoist (A) and carefully raise the engine/transmission into place.
    NOTE: Reinstall the mounting bolts/support nuts in the sequence given in the following steps. Failure to follow this sequence may cause excessive noise and vibration, and reduce engine mount life.
    Fig 2: Supporting Engine/Transmission With Chain Hoist
    G05457541Courtesy of AMERICAN HONDA MOTOR CO., INC.
  3. Install the engine support hanger (AAR-T-12566) to the vehicle.
    Fig 3: Installing Engine Support Hanger
    G05457542Courtesy of AMERICAN HONDA MOTOR CO., INC.
  4. Install the engine with the engine hanger balance bar (VSB02C000019). Attach the front arm (A) to the front cylinder head with a spacer (B) and the connector bracket bolt (10 x 1.25 mm) (C). Attach the rear arm (D) to the rear cylinder head with the harness clamp bracket bolt (8 x 1.25 mm) (E).
  5. Install the mounting bolts into the upper half of the side engine mount bracket. Tighten the bolts to the specified torque.
    Fig 4: Mounting Bolts Into Upper Half Of Side Engine Mount Bracket With Torque Specifications
    G05457543Courtesy of AMERICAN HONDA MOTOR CO., INC.
  6. Install the transmission upper mount bracket (A), then tighten the bolts in the numbered sequence shown.

    M/T model: 

    Fig 5: Transmission Upper Mount Bracket - M/T Model With Torque Specifications
    G05457544Courtesy of AMERICAN HONDA MOTOR CO., INC.

    A/T model: 

    Fig 6: Transmission Upper Mount Bracket - A/T Model With Torque Specifications
    G05457545Courtesy of AMERICAN HONDA MOTOR CO., INC.
  7. Remove the chain hoist, then raise the vehicle on the lift to full height.
  8. Using the subframe adapter (VSB20C000016) and a jack, then raise the front subframe up to the body.
    Fig 7: Raising Front Subframe Up To Body With Torque Specifications
    G05457546Courtesy of AMERICAN HONDA MOTOR CO., INC.
  9. Loosely install the new front subframe mounting bolts (four) (A), the 12 x 1.25 mm bolts (four) (B) (C), and the stiffeners (D).
  10. Loosely install the subframe middle mount.
    Fig 8: Front Subframe Mounting Bolts And Stiffeners With Torque Specifications
    G05457547Courtesy of AMERICAN HONDA MOTOR CO., INC.
  11. Remove the jack and front subframe adapter.
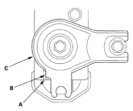
  12. Align the reference marks (A) with the edge (B) of both rear stiffeners (C), and tighten the rear subframe mounting bolts, then the front bolts, and finally the stiffener bolts to the specified torque.
    Fig 9: Identifying Reference Marks With Edge Of Rear Stiffeners
    G05457548Courtesy of AMERICAN HONDA MOTOR CO., INC.
  13. Tighten the bolts securing the subframe middle mounts.
  14. M/T model: Tighten the nuts securing the transmission lower front mount and transmission lower rear mount.
    Fig 10: Transmission Lower Front Mount And Transmission Lower Rear Mount Nuts With Torque Specifications
    G05457549Courtesy of AMERICAN HONDA MOTOR CO., INC.
  15. A/T model: Tighten the bolts securing the transmission lower mount.
    Fig 11: Transmission Lower Mount Bolts With Torque Specifications
    G05457550Courtesy of AMERICAN HONDA MOTOR CO., INC.
  16. Lower the vehicle.
  17. M/T model: Install the shift cable, and tighten the two bolts securing the shift cable bracket.
    Fig 12: Shift Cable Bracket Bolts With Torque Specifications
    G05457551Courtesy of AMERICAN HONDA MOTOR CO., INC.
  18. Install the vacuum hose (A).
    Fig 13: Vacuum Hose With Torque Specifications
    G05457552Courtesy of AMERICAN HONDA MOTOR CO., INC.
  19. Tighten the rear engine mount bolt (B), then install the rear engine mount stop (C).
  20. M/T model: Tighten the two bolts securing the rear engine damper.
    Fig 14: Rear Engine Damper Bolts With Torque Specifications
    G05457553Courtesy of AMERICAN HONDA MOTOR CO., INC.
  21. Tighten the front engine mount bolt (A), then install the front engine mount stop (B) and vacuum hose (C).
    Fig 15: Front Engine Mount Bolt, Engine Mount Stop And Vacuum Hose With Torque Specifications
    G05457554Courtesy of AMERICAN HONDA MOTOR CO., INC.
  22. Loosen the mounting bolts for the upper half of the side engine mount bracket, then retighten them to specified torque.
    Fig 16: Upper Half Of Side Engine Mount Bracket Mounting Bolts With Torque Specifications
    G05457555Courtesy of AMERICAN HONDA MOTOR CO., INC.
  23. Loosen the mounting bolts for the transmission upper mount bracket (A), then retighten the bolts in the numbered sequence shown.

    M/T model: 

    Fig 17: Transmission Upper Mount Bracket Bolts - M/T Model With Torque Specifications
    G05457556Courtesy of AMERICAN HONDA MOTOR CO., INC.

    A/T model: 

    Fig 18: Transmission Upper Mount Bracket Bolts - A/T Model With Torque Specifications
    G05457557Courtesy of AMERICAN HONDA MOTOR CO., INC.
  24. Install the ground cable (B).
  25. Remove the engine support hanger and engine hanger balance bar.
  26. Install the connector bracket to the front cylinder head.
    Fig 19: Engine Support Hanger And Engine Hanger Balance Bar With Torque Specifications
    G05457558Courtesy of AMERICAN HONDA MOTOR CO., INC.
  27. Install the harness clamp bracket to the rear cylinder head.
    Fig 20: Rear Cylinder Head Harness Clamp Bracket With Torque Specifications
    G05457559Courtesy of AMERICAN HONDA MOTOR CO., INC.
  28. A/T model: Install the ATF cooler hoses to the transmission (see ATF COOLER HOSE REPLACEMENT ).
  29. A/T model: Install the shift cable bracket to the front subframe.
    Fig 21: Identifying Shift Cable Bracket Subframe
    G05457560Courtesy of AMERICAN HONDA MOTOR CO., INC.
  30. Install the A/C compressor.
    Fig 22: A/C Compressor Bolts With Torque Specifications
    G05457561Courtesy of AMERICAN HONDA MOTOR CO., INC.
  31. Install the heater hoses.
    Fig 23: Identifying Heater Hoses
    G05457562Courtesy of AMERICAN HONDA MOTOR CO., INC.
  32. A/T model: Install the shift cable (see SHIFT CABLE REPLACEMENT ).
  33. Install the radiator (see RADIATOR AND FAN REPLACEMENT ).
  34. Raise the vehicle on the lift to full height.
  35. Connect the power steering pressure switch connector.
    Fig 24: Identifying Power Steering Pressure Switch Connector
    G05457563Courtesy of AMERICAN HONDA MOTOR CO., INC.
  36. Install the power steering (P/S) hose.
    Fig 25: Identifying Power Steering (P/S) Hose
    G05457564Courtesy of AMERICAN HONDA MOTOR CO., INC.
  37. Install exhaust pipe A using new gaskets (B) and new self locking nuts (C).
    Fig 26: Exhaust Pipe And Self Locking Nuts With Torque Specifications
    G05457565Courtesy of AMERICAN HONDA MOTOR CO., INC.
  38. Install a new set ring on the end of each driveshaft, then install the driveshafts. Make sure each ring "clicks" into place in the differential and intermediate shaft.
  39. Connect the suspension lower arm ball joints (see step 5 on LOWER ARM REMOVAL/INSTALLATION ).
  40. Connect the tie-rod end ball joints (see step 10 on KNUCKLE/HUB/WHEEL BEARING REPLACEMENT ).
  41. Install the damper fork (see step 2 on DAMPER/SPRING REMOVAL AND INSTALLATION ).
  42. Connect the stabilizer links (see STABILIZER LINK REMOVAL/INSTALLATION ).
  43. Install the splash shield.
    Fig 27: Splash Shield Bolts With Torque Specifications
    G05457566Courtesy of AMERICAN HONDA MOTOR CO., INC.
  44. Install the engine under cover.
    Fig 28: Identifying Engine Under Cover
    G05457567Courtesy of AMERICAN HONDA MOTOR CO., INC.
  45. Install the front wheels.
    NOTE: On J35A8 engine, be careful not to damage or chip the paint of the brake calipers when installing the wheels.
  46. Lower the vehicle on the lift.
  47. Connect the steering joint to the steering gearbox pinion shaft (A) by aligning the reference mark (B), then remove the wire (C) from the joint yoke (D).
    Fig 29: Steering Gearbox Pinion Shaft And Reference Mark With Torque Specifications
    G05457568Courtesy of AMERICAN HONDA MOTOR CO., INC.
  48. Install the steering joint cover (E).
  49. Install the steering wheel (see STEERING WHEEL INSTALLATION ).
  50. Install the P/S pump outlet hose (A) with a new O-ring (B).
    Fig 30: P/S Pump Outlet Hose With O-Ring With Torque Specifications
    G05457569Courtesy of AMERICAN HONDA MOTOR CO., INC.
  51. Install the P/S hose (C) to the clamp (D).
  52. Install the P/S fluid reservoir to the clamp, then install the return hose.
    Fig 31: Installing P/S Fluid Reservoir To Clamp
    G05457570Courtesy of AMERICAN HONDA MOTOR CO., INC.
  53. Install the drive belt (see DRIVE BELT REPLACEMENT ).
  54. M/T model: Install the clutch slave cylinder and clutch line bracket mounting bolt (see step 34 on TRANSMISSION INSTALLATION ).
  55. M/T model: Install the shift cable and select cable, then tighten the three bolts securing the shift cable holder (see step 36 on TRANSMISSION INSTALLATION ).
  56. Connect the engine wire harness connectors (A), then install the harness clamp (B).
    Fig 32: Identifying Engine Wire Harness Connectors And Clamp
    G05457571Courtesy of AMERICAN HONDA MOTOR CO., INC.
  57. Connect the fuel feed hose (A) (see FUEL LINE/QUICK-CONNECT FITTING INSTALLATION ), then install the quick-connect fitting cover (B).
    Fig 33: Identifying Fuel Feed Hose And Quick-Connect Fitting Cover
    G05457572Courtesy of AMERICAN HONDA MOTOR CO., INC.
  58. Install the brake booster vacuum hose (A) and evaporative emission (EVAP) canister hose (B).
    Fig 34: Identifying Brake Booster Vacuum Hose And Evaporative Emission (EVAP) Canister Hose
    G05457573Courtesy of AMERICAN HONDA MOTOR CO., INC.
  59. Install the strut brace (A), then install the harness clamp (B), and install the two 6 mm bolts (C).
    Fig 35: Strut Brace And Harness Clamp Bolts With Torque Specifications
    G05457574Courtesy of AMERICAN HONDA MOTOR CO., INC.
  60. Install the under-hood fuse/relay box (A), and connect the harness connector (B).
    Fig 36: Identifying Under-Hood Fuse/Relay Box And Harness Connector
    G05457575Courtesy of AMERICAN HONDA MOTOR CO., INC.
  61. Install the battery cables (C).
  62. Install the battery base (A), then install the harness clamps (B).
    Fig 37: Battery Cables And Battery Base With Torque Specifications
    G05457576Courtesy of AMERICAN HONDA MOTOR CO., INC.
  63. Install the air cleaner assembly (see AIR CLEANER REMOVAL/INSTALLATION ).
  64. Install the intake air duct (A), then install the breather pipe (B).
    Fig 38: Identifying Intake Air Duct And Breather Pipe
    G05457577Courtesy of AMERICAN HONDA MOTOR CO., INC.
  65. Install the engine cover.
    Fig 39: Identifying Engine Cover
    G05457578Courtesy of AMERICAN HONDA MOTOR CO., INC.
  66. Install the battery. Clean the battery posts and cable terminals, then assemble them and apply grease to prevent corrosion.
  67. A/T model: Move the shift lever to each gear, and verify that the A/T gear position indicator follows the transmission range switch.
  68. M/T model: Check that the transmission shifts into gear smoothly.
  69. Inspect for fuel leaks. Turn the ignition switch ON (II) (do not operate the starter) so the fuel pump runs for about 2 seconds and pressurizes the fuel line. Repeat this operation three times, then check for fuel leakage at any point in the fuel line.
  70. Refill the engine with engine oil (see ENGINE OIL REPLACEMENT ).
  71. Refill the transmission with fluid:
  72. Refill the power steering reservoir with fluid (see FLUID CHECK/REPLACEMENT ).
  73. Refill the radiator with engine coolant, and bleed the air from the cooling system with the heater valve open (see step 8 on COOLANT REPLACEMENT ).
  74. Bleed air from the P/S system. If necessary, add fluid (see FLUID CHECK/REPLACEMENT ).
  75. Check the front wheel alignment. If necessary, adjust it (see WHEEL ALIGNMENT ).
  76. Do the engine control module (ECM)/powertrain control module (PCM) reset procedure (see ECM/PCM RESET ).
  77. Do the ECM/PCM idle learn procedure (see ECM/PCM IDLE LEARN PROCEDURE ).
  78. Do the crankshaft position (CKP) pattern clear/CKP pattern learn procedure (see CRANK (CKP) PATTERN CLEAR/CRANK (CKP) PATTERN LEARN ).
  79. Inspect the idle speed (see IDLE SPEED INSPECTION ).
  80. Inspect the ignition timing (see IGNITION TIMING INSPECTION ).
  81. Install the right rear engine compartment cover (A), then install the right side engine compartment cover (B).
    Fig 40: Identifying Right Rear Engine Compartment Cover And Right Side Engine Compartment Cover
    G05457579Courtesy of AMERICAN HONDA MOTOR CO., INC.
  82. Install the left rear engine compartment cover (A) and the left side engine compartment cover (B).
    Fig 41: Identifying Left Rear Engine Compartment Cover
    G05457580Courtesy of AMERICAN HONDA MOTOR CO., INC.
  83. Enter the anti-theft codes for the audio system and the navigation system (if equipped).
  84. Set the clock (on vehicles without navigation).