lemon-mirror:
Home >> Acura >> 2009 >> RL >> Repair and Diagnosis >> Body & Frame >> Windows >> Power Windows >> Left Rear Power Window Switch Input Test

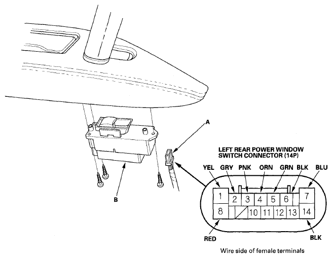
Left Rear Power Window Switch Input Test

  1. Turn the ignition switch to LOCK (0).
  2. Remove the left rear power window switch (see POWER WINDOW MASTER SWITCH REPLACEMENT ).
  3. Disconnect the 14P connector (A) from the left rear power window switch (B).
    Fig 1: Identifying Left Rear Power Window Switch Connector
    G06160809Courtesy of AMERICAN HONDA MOTOR CO., INC.
  4. Inspect the connector and socket terminals to be sure they are all making good contact.
    • If the terminals are bent, loose or corroded, repair them as necessary and recheck the system.
    • If the terminals look OK, go to step 5.
  5. With the connector still disconnected, do these input tests at the connector.
    • If any test indicates a problem, find and correct the cause, then recheck the system.
    • If all the input tests prove OK, go to step 6.
    TEST RESULT REFERENCE

    Cavity Wire Test condition Test: Desired result Possible cause if desired result is not obtained
    2 GRY Driver's under-dash fuse/ relay box connector H (14P) disconnected Check for continuity between terminal No. 2 and driver's under-dash fuse/relay box connector H (14P) terminal No. 4:
    There should be continuity.
    An open in the wire
    Check for continuity to ground:
    There should be no continuity.
    A short to ground in the wire
    1 YEL Connect terminals No. 8 and No. 1 with a jumper wire, and connect terminal No. 7 to body ground. Check the left rear power window motor operation:
    The motor should run (the window should go down).
    • Blown No. 24 (20 A) fuse in the driver's under-dash fuse/relay box
    • Faulty left rear power window motor
    • An open in the wire
    7 BLU Connect terminals No. 8 and No. 7 with a jumper wire, and connect terminal No. 1 to body ground. Check the left rear power window motor operation:
    The motor should run (the window should go up).
    • Blown No. 24 (20 A) fuse in the driver's under-dash fuse/relay box
    • Faulty left rear power window motor
    • An open in the wire
  6. Reconnect the connector to the left rear power window switch, and do these input tests at the connector.
    • If any test indicates a problem, find and correct the cause, then recheck the system.
    • If all the input tests prove OK, the left rear power window switch must be faulty; replace it (see POWER WINDOW MASTER SWITCH REPLACEMENT ) and go to step 7.
    TEST RESULT REFERENCE

    Cavity Wire Test condition Test: Desired result Possible cause if desired result is not obtained
    6 BLK Under all conditions Measure the voltage to ground:
    There should be less than 0.1 V.
    • Poor ground (G601)
    • An open in the wire
    14 BLK Under all conditions Measure the voltage to ground:
    There should be less than 0.1 V.
    • Poor ground (G601)
    • An open in the wire
    8 RED Under all conditions Measure the voltage to ground:
    There should be battery voltage.
    • Blown No. 23 (P/W) (50 A) fuse in the under-hood fuse/relay box
    • Blown No. 24 (20 A) fuse in the driver's under-dash fuse/relay box
    • Faulty driver's under-dash fuse/relay box
    • An open in the wire
    3 PNK Ignition switch ON (II) Measure the voltage to ground:
    There should be battery voltage.
    • Faulty left rear power window switch
    • An open in the wire
    5 GRN Ignition switch ON (II) and left rear power window motor runs by connecting terminals No. 8 and No. 1 with a jumper wire, and connect terminal No. 7 to body ground. Measure the voltage between terminals No. 5 and No. 6:
    There should be 0-about 5 V- 0-about 5 V repeatedly (a digital voltmeter reads about 2.5 V while the window moves).
    • Blown No. 24 (20 A) fuse in the driver's under-dash fuse/relay box
    • Faulty left rear power window switch
    • Faulty left rear power window motor
    • An open in the wire
    4 ORN Ignition switch ON (II) and left rear power window motor runs by connecting terminals No. 8 and No. 1 with a jumper wire, and connect terminal No. 7 to body ground. Measure the voltage between terminals No. 4 and No. 6:
    There should be 0-about 5 V- 0-about 5 V repeatedly (a digital voltmeter reads about 2.5 V while the window moves).
    • Blown No. 24 (20 A) fuse in the driver's under-dash fuse/relay box
    • Faulty left rear power window switch
    • Faulty left rear power window motor
    • An open in the wire
  7. Reset the power window control unit (see RESETTING THE POWER WINDOW CONTROL UNIT ).