lemon-mirror:
Home >> Cadillac >> 2000 >> Catera >> Repair and Diagnosis >> Body & Frame >> Body, Cab Control Systems >> Body Control Modules >> Self-Diagnostic System >> Scan Tool Does Not Communicate With Class 2 Serial Data Link

Scan Tool Does Not Communicate With Class 2 Serial Data Link

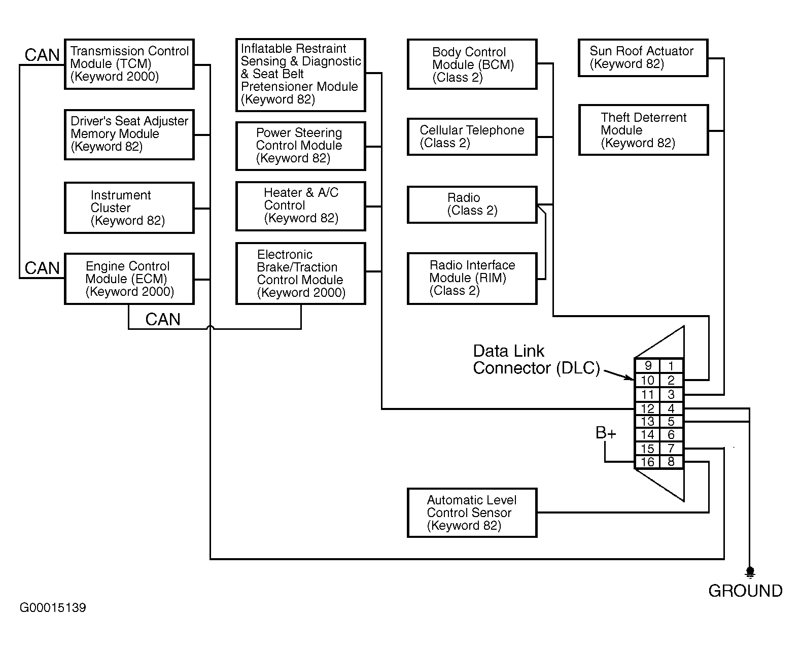
NOTE: To identify wire colors and modules on serial data links, see appropriate wiring diagram in DATA LINK CONNECTORS article in WIRING DIAGRAMS.
  1. Ensure battery condition, cold cranking amperage and reserve capacity meet specifications. Replace as necessary. Install scan tool to Data Link Connector (DLC). If scan tool powers up, go to next step. If scan tool does not power up, go to SCAN TOOL DOES NOT POWER UP  .
  2. Turn ignition on, engine off. Try to establish scan tool communication with each module on class 2 device. (On Tech II scan tools, CLASS 2 MESSAGE MONITOR feature). If communication with any module is established, go to next step. If communication with any module is not established, go to step  5
  3. Select display DTC function for each module on class 2 device. Record all displayed DTCs, status of displayed DTCs and module that set DTC. If any DTCs in range of U1000 to U1255 are displayed, go to next step. If no DTCs in range of U1000 to U1255 are displayed, attempt to diagnose malfunctioning system or device by symptom. Go to appropriate article for malfunctioning system or device.
  4. If DTC U1255 is only DTC displayed, go to DTC U1000 & DTC U1255: CLASS 2 COMMUNICATION MALFUNCTION  under DIAGNOSTIC TESTS. If DTC U1255 is not only DTC displayed, go to BODY CONTROL MODULE (BCM) DTC DEFINITIONS  table under SELF-DIAGNOSTIC SYSTEM.
  5. Turn ignition off. Disconnect scan tool from DLC. Inspect DLC terminal No. 2 (Brown/White wire) and terminal No. 5 (Black wire) for poor connections. See Fig 1 . If connections are okay, perform diagnostic system check for malfunctioning system or device. If fault was not located and repaired, go to next step.
  6. Using a DVOM, test DLC ground circuit terminal No. 5 (Black wire) for an open. See WIRING DIAGRAMS  . If circuit is okay, perform diagnostic system check for malfunctioning system or device. If fault was not located and repaired, go to next step.
    Fig 1: Identifying Data Link Connector (DLC) Terminals
    G00015137Courtesy of GENERAL MOTORS CORP.
  7. Disconnect each module on class 2 device (BCM, cellular telephone, radio receiver, first design remote control door lock receiver and sound processor interface). See Figure and Fig 2 . Also see appropriate wiring diagram in DATA LINK CONNECTORS article in WIRING DIAGRAMS. Test class 2 device (Brown/White wire) for short to ground (ignition off) and for short to voltage (ignition on) between DLC connector terminal No. 2 and each module. t was located and repaired, go to step  13 . If fault was not located and repaired, go to next step.
    Fig 2: Locating Body Control Module (BCM)
    G00015140Courtesy of GENERAL MOTORS CORP.
  8. Reconnect BCM and all disconnected in-line harness connectors. Install scan tool to DLC. Turn ignition on and attempt communication with BCM. If scan tool communicates with BCM, go to next step. If scan tool does not communicate with BCM, go to step  10 .
  9. Continue reconnecting modules on class 2 device one at a time and attempting to communicate after each connection until communication cannot be established or all modules are reconnected. If fault was located and repaired, go to step  11 . If fault was not located and repaired, go to PRELIMINARY INSPECTION  under TROUBLE SHOOTING.
  10. Inspect for poor connections of class 2 device circuit (Brown/White wire) at BCM connector C1 terminal B9. See Fig 3 . If fault was located and repaired, go to step  13 . If fault was not located and repaired, go to step  12 .
    Fig 3: Identifying Body Control Module (BCM) Connectors
    G99D08639
  11. Replace most recently reconnected module. See REMOVAL & INSTALLATION  . After replacement, go to step  13 .
  12. Replace BCM. See BODY CONTROL MODULE (BCM)  under REMOVAL & INSTALLATION. After replacement, perform set up procedure. See PROGRAMMING  . After replacement, go to next step.
  13. Turn ignition off. Reconnect all disconnected modules and any remaining disconnected connectors. Install scan tool to DLC. Turn ignition on, with engine off. Wait 10 seconds in case scan tool must reset due to a short on class 2 device circuit. Turn off or disconnect scan tool before proceeding. Reinstall or turn scan tool on and select display DTCs function for each module on class 2 device. Record all displayed DTCs, status of displayed DTCs and module that set DTC. If any DTCs that begin with "U" are displayed as CURRENT, go to step  15 . If no DTCs that begin with "U" are displayed as CURRENT, go to next step.
  14. If any DTCs were recorded that did not begin with "U", go to next step. If DTCs were recorded that did begin with "U", go to step  17 .
  15. Diagnose and repair recorded DTCs. Perform appropriate diagnostic procedure. See BODY CONTROL MODULE (BCM) DTC DEFINITIONS  table under SELF-DIAGNOSTIC SYSTEM. For DTCs not listed, go to appropriate article for malfunctioning system or module. After repair, go to next step.
  16. If all DTCs have been diagnosed, go to next step. If all DTCs have not been diagnosed, repeat step  15 .
  17. Use scan tool to clear DTCs. See CLEARING DTCS  under SELF-DIAGNOSTIC SYSTEM. Test is complete.