lemon-mirror:
Home >> Chevrolet >> 2002 >> Venture Plus >> Repair and Diagnosis >> External Pages >> Different car >> Section 63 (Body Control Modules) >> Component Locations

Component Locations

WARNING: This page is about a different car, the 2001 Cadillac Seville. However, it is still accessible from the selected car via links, so may be relevant.
NOTE: For component locations, refer to illustrations. See Fig 1 -Fig 12 .
COMPONENT LOCATIONS

Component Location
Battery Below Passenger's Side Rear Seat
Cellular Telephone Module Behind Rear Shelf Trim, Mounted To Right Side Of Rear Shelf Carrier
Continuously Variable Road Sensing Suspension Module Behind Right Rear Seat
Cruise Control Module Rear Engine Compartment, Near Brake Booster
Dash Integration Module Behind Right Side Of Dash, Near Blower Motor
Data Link Connector Below Left Side Of Instrument Panel, Near Steering Column
Driver's Door Module In Driver's Door, Near Radio Speaker
Electronic Brake Control Module Left Front Of Engine Compartment Attached To Subframe
Instrument Panel Module Behind Center Of Dash, Part Of Climate Control Panel
Memory Seat Module Below Driver's Front Seat
Powertrain Control Module Left Front Corner Of Engine Compartment, Below Air Cleaner Housing
Rear Integration Module Behind Rear Seat Back
Rear Fuse Block Below Rear Seat
Remote Keyless Entry Module Center Of Rear Compartment, Under Package Shelf
Sensing & Diagnostic Module Below Passenger's Front Seat
Steering Column Tilt/Telescoping Module Left Of Steering Column
Theft Deterrent Module Left Side Of Instrument Panel, To Right Of Steering Column
Underhood Fuse Block On Right Side Of Engine Compartment, Near Power Steering Pump
Vehicle Communication Unit Rear Of Passenger Compartment, Behind Rear Seat Back, Mounted To Vehicle Interface Unit
Vehicle Interface Unit Rear Of Passenger Compartment, Behind Rear Seat Back, Mounted To Electronics Bay
Fig 1: Locating Rear Fuse Block
G00016936Courtesy of GENERAL MOTORS CORP.
Fig 2: Locating Dash Integration Module
G00016939Courtesy of GENERAL MOTORS CORP.
Fig 3: Locating Data Link Connector
G00016935Courtesy of GENERAL MOTORS CORP.
Fig 4: Locating Electronic Brake Control Module
G00016937Courtesy of GENERAL MOTORS CORP.
Fig 5: Locating Sensing & Diagnostic Module
G00016934Courtesy of GENERAL MOTORS CORP.
Fig 6: Locating Instrument Panel Module
G00011701Courtesy of GENERAL MOTORS CORP.
Fig 7: Locating Rear Integration Module & Continuously Variable Road Sensing Suspension Module
G00016940Courtesy of GENERAL MOTORS CORP.
Fig 8: Locating Remote Control Door Lock Receiver
G99I52447
Fig 9: Locating Steering Column Control Module
G00016870Courtesy of GENERAL MOTORS CORP.
Fig 10: Locating Theft Deterrent Module
G00016933Courtesy of GENERAL MOTORS CORP.
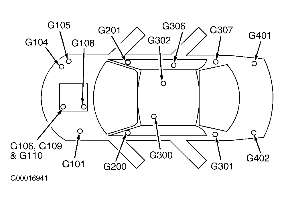
Fig 11: Locating Ground Points
G00016941Courtesy of GENERAL MOTORS CORP.
Fig 12: Locating Vehicle Interface Unit (OnStar(R)) & Vehicle Communication Unit
G00016886Courtesy of GENERAL MOTORS CORP.