Connector Identification
CONNECTOR IDENTIFICATION DIRECTORY
| Connector | Figure |
|---|---|
| CCD Data Link | 6 |
| Controller Anti-Lock Brake (CAB) | 7 |
| Hydraulic Control Unit (HCU) | 8 |
| Relay Box | 9 |
| Rear Wheel Speed Sensor Harness | 10 |
| Wheel Speed Sensors | 11 |
NOTE:
The following illustrations are courtesy of Chrysler Corp.
Following table is for Fig 1:
CCD DATA LINK CONNECTOR
| Terminal No. | Wire Color | Function |
|---|---|---|
| 3 | VIO/GRY | CCD Bus (+) |
| 4 | BLK | Ground |
| 5 | BLK/VIO | Ground |
| 6 | LT GRN | SCI Receive |
| 7 | PNK/LT BLU | SCI Transmit/ISO 9141K |
| 9 | PNK | Fused Battery (+) |
| 14 | WHT/DK GRN | CCD Bus ( - ) |
Following table is for Fig 2:
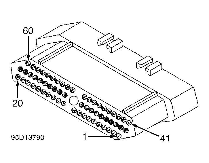
CONTROLLER ANTI-LOCK BRAKE (CAB) CONNECTOR
| Terminal No. | Wire Color | Function | ||
|---|---|---|---|---|
| 1 | YEL/DK BLU | RR WSS ( - ) | ||
| 2 | YEL | RR WSS (+) | ||
| 3 | LT GRN/DK BLU | LR WSS ( - ) | ||
| 4 | LT GRN | LR WSS (+) | ||
| 5 | BLK | Ground | ||
| 6 | WHT/DK BLU | RF WSS ( - ) | ||
| 7 | WHT | RF WSS (+) | ||
| 8 | ORG/DK BLU | LF WSS ( - ) | ||
| 9 | ORG | LF WSS (+) | ||
| 13 | WHT/BRN | (1) | ||
| 14 | GRY/DK GRN | Brake Warning Light Driver | ||
| 15 | LT GRN/ORG | ABS Warning Light Driver | ||
| 16 | GRY/LT BLU | Pump/Motor Relay Control | ||
| 20 | BRN/WHT | Pump/Motor Relay Monitor | ||
| 42 | BRN/YEL | LF Decay Solenoid Control | ||
| 43 | DK GRN/YEL | RF Decay Solenoid Control | ||
| 46 | BRN/LT BLU | LR Decay Solenoid Control | ||
| 47 | BRN/RED | ABS Relay Output | ||
| 48 | DK GRN/LT BLU | RR Decay Solenoid Control | ||
| 51 | PNK/LT BLU | SCI Transmit/ISO 9141K | ||
| 57 | BRN/BLK | ABS Relay Control | ||
| 60 | DK BLU/WHT | Fused Ignition Switch Output | ||
|
||||
Following table is for Fig 3:
HYDRAULIC CONTROL UNIT CONNECTOR
| Terminal No. | Wire Color | Function |
|---|---|---|
| 1 | BRN/LT BLU | LR Decay Solenoid Control |
| 2 | DK GRN/YEL | RF Decay Solenoid Control |
| 3 | BRN/YEL | LF Decay Solenoid Control |
| 4 | DK GRN/LT BLU | RR Decay Solenoid Control |
| 5 | BLK | Ground |
| 6 | BLK | Ground |
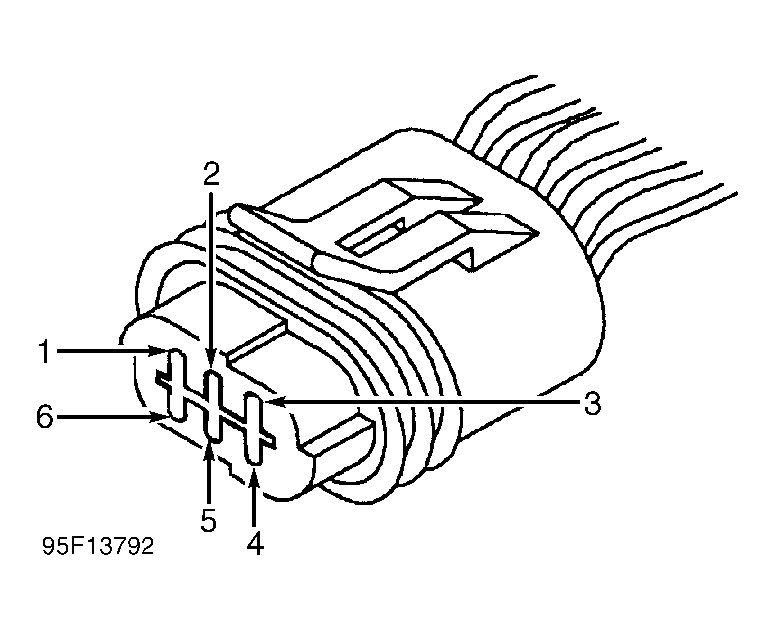
Following table is for Fig 4:
RELAY BOX 10-PIN CONNECTOR
| Terminal No. | Wire Color | Function |
|---|---|---|
| 1 | RED/DK GRN | Fused Battery (+) |
| 2 | BRN/BLK | ABS Relay Control |
| 3 | GRY/LT BLU | Pump/Motor Relay Control |
| 5 | RED/DK BLU | SOL Fused Battery (+) |
| 6 | BRN/WHT | Pump/Motor Relay Output |
| 7 | LT GRN/ORG | ABS Warning Light Driver |
| 9 | BRN/RED | ABS Relay Output |
| 10 | BLK | Ground |
Following table is for Fig 5:
REAR WHEEL SPEED SENSOR HARNESS CONNECTOR
| Terminal No. | Wire Color | Function |
|---|---|---|
| 1 | DK GRN/WHT | Fuel Pump Relay Output |
| 2 | VIO/BLK | Reverse Light |
| 3 | BLK | Ground |
| 4 | BLK/LT GRN | Ground |
| 5 | LT GRN | LR WSS (+) |
| 6 | LT GRN/DK BLU | LR WSS ( - ) |
| 7 | YEL | RR WSS (+) |
| 8 | YEL/DK BLU | RR WSS ( - ) |
Following 4 tables are for Fig 6:
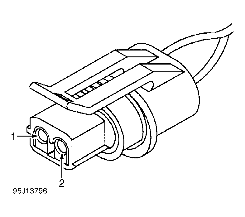
LEFT FRONT WHEEL SPEED SENSOR CONNECTOR
| Terminal No. | Wire Color | Function |
|---|---|---|
| 1 | ORG | Sensor (+) |
| 2 | ORG/DK BLU | Sensor ( - ) |
LEFT REAR WHEEL SPEED SENSOR CONNECTOR
| Terminal No. | Wire Color | Function |
|---|---|---|
| 1 | LT GRN | Sensor (+) |
| 2 | LT GRN/DK BLU | Sensor ( - ) |
RIGHT FRONT WHEEL SPEED SENSOR CONNECTOR
| Terminal No. | Wire Color | Function |
|---|---|---|
| 1 | WHT | Sensor (+) |
| 2 | WHT/DK BLU | Sensor ( - ) |
RIGHT REAR WHEEL SPEED SENSOR CONNECTOR
| Terminal No. | Wire Color | Function |
|---|---|---|
| 1 | YEL | Sensor (+) |
| 2 | YEL/DK BLU | Sensor ( - ) |