lemon-mirror:
Home >> Chrysler >> 2002 >> PT Cruiser Base, Standard >> Repair and Diagnosis >> Transmission >> Clutch System >> Modular Clutch >> Operation

Modular Clutch: Operation

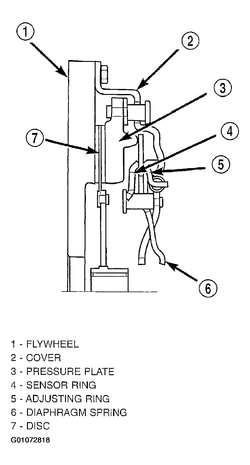
The modular clutch assembly is designed to transmit power from the engine to the manual transaxle. This is accomplished by the friction and clamping force generated when the spring loaded pressure plate locks the clutch disc to the flywheel (Fig 1 ). The clutch disc, which is splined to the transaxle input shaft, transmits power until the center of the diaphragm spring is depressed, and the clamp force is removed from the disc. The self adjusting feature of this clutch assembly relies on the sensor ring and the adjuster ring (Fig 2 ), which works its way around a ramped clutch cover, taking up clearance as the clutch disc wears and maintaining diaphragm spring force throughout the life of the clutch. The primary benefits of this design are reduced pedal effort, constant release load over clutch life, and extended clutch life.

Fig 1: Locating Clutch Coupling Powerflow
G01072817Courtesy of DAIMLERCHRYSLER CORP.
Fig 2: Identifying Modular Clutch Assembly Components
G01072818Courtesy of DAIMLERCHRYSLER CORP.