lemon-mirror:
Home >> Chrysler >> 2004 >> Pacifica FWD >> Repair and Diagnosis >> Body & Frame >> Windows >> Body Glass System >> Windshield >> Installation

Body Glass System: Windshield: Installation

Refer to the Safety Precautions in this section for description of tools and adhesive systems that are recommended for use in this procedure. (Refer to WARNING  ).

The urethane adhesive holding the windshield to the opening pinch weld (fence) can be cut using a sharp cold knife from the exterior of the vehicle.

Using the cold knife method is effective if the windshield is already broken. If the glass must be salvaged, cutting the urethane adhesive from the interior of the vehicle using a reciprocating or oscillating power knife is recommended.

CAUTION: Open the left front door glass before installing windshield to avoid pressurizing the passenger compartment. If a door is slammed before urethane bonding is cured, water leaks can result. Allow the urethane at least 24 hours to cure before returning the vehicle to use.
To avoid stressing the replacement windshield, the urethane bonding material on the windshield fence should be smooth and consistent to the shape of the replacement windshield. The support spacers should be cleaned and properly installed on weld studs or repair screws at bottom of windshield opening.
  1. Place replacement windshield into windshield opening and position glass in the center of the opening against the compression spacers.
  2. Verify the glass lays evenly against the pinch weld fence at the sides, top and bottom of the replacement windshield. If not, the pinch weld fence must be formed to the shape of the new glass.
  3. Remove replacement windshield from windshield opening.
  4. Position the windshield inside up on a suitable work surface with two padded, wood 10 cm by 10 cm by 50 cm (4 in. by 4 in. by 20 in.) blocks, placed parallel 75 cm (2.5 ft.) apart (Fig 1 ).
    Fig 1: Identifying Work Surface Set Up And Molding Installation
    G03571818Courtesy of DAIMLERCHRYSLER CORP.
    WARNING: DO NOT USE SOLVENT BASED GLASS CLEANER TO CLEAN WINDSHIELD BEFORE APPLYING GLASS PREP AND PRIMER. POOR ADHESION CAN RESULT.
  5. Clean inside of windshield with ammonia based glass cleaner and lint-free cloth.
  6. Install molding to perimeter of windshield (Fig 2 ).
  7. Fig 2: Removing Windshield Glass
    G03571819Courtesy of DAIMLERCHRYSLER CORP.
  8. Apply Glass Prep adhesion promoter 15 mm (0.6 in.) wide around perimeter of windshield and wipe with clean/dry lint-free cloth until no streaks are visible.
  9. Apply Glass Primer 15 mm (0.6 in.) wide around perimeter of windshield. Allow at least three minutes drying time (Fig 3 ).
  10. Fig 3: Identifying Windshield Preparation For Installation
    G03571820Courtesy of DAIMLERCHRYSLER CORP.
  11. Using a razor knife, remove as much original urethane as possible. Do not damage paint on windshield fence.
  12. Apply pinch weld primer 19 mm (0.75 in.) wide around the windshield fence. Allow at least three minutes drying time.
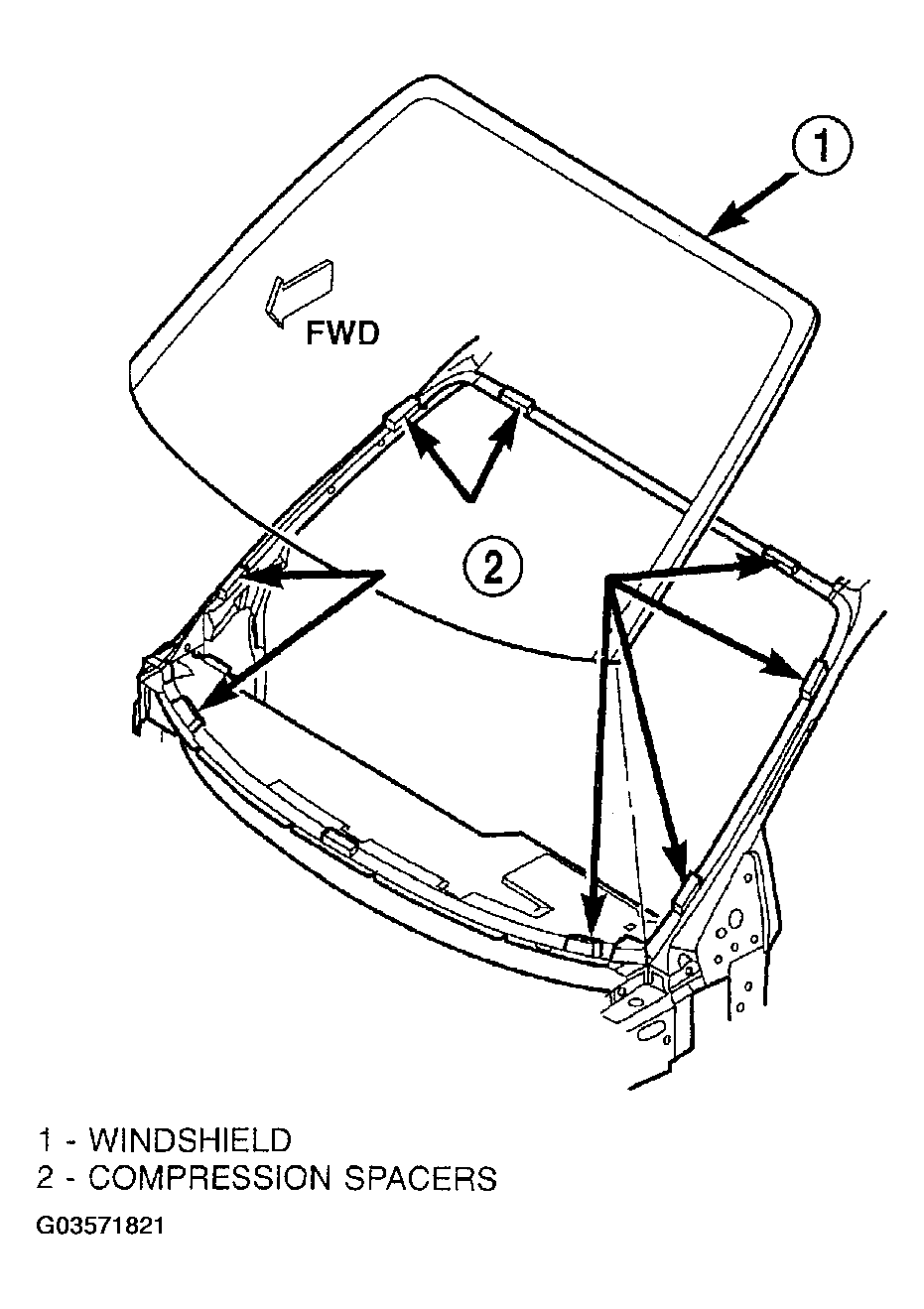
  13. If a low viscosity urethane adhesive is used, install compression spacers on the fence around the windshield opening (Fig 4 ).
  14. Fig 4: Positioning Windshield
    G03571821Courtesy of DAIMLERCHRYSLER CORP.
  15. Apply a 9.5 mm (0.4 in.) bead of urethane on center line of windshield fence.
  16. With the aid of a helper, position the windshield over the windshield opening.
  17. Slowly lower windshield glass to windshield opening fence. Guide the molding into proper position as necessary. Push windshield inward until molding is flush to roof line and A-pillars.
  18. Clean access urethane from exterior with Mopar(R) Super Kleen or equivalent.
  19. Apply 150 mm (6 in.) lengths of 50 mm (2 in.) masking tape spaced 250 mm (10 in.) apart to hold molding in place until urethane cures.
  20. Install A-pillar trim panels and side moldings. (Refer to A-PILLAR MOLDING ).
  21. Install cowl cover and wipers.
  22. Install inside rear view mirror.
  23. After urethane has cured, remove tape strips and water test windshield to verify repair.