lemon-mirror:
Home >> Chrysler >> 2005 >> PT Cruiser Base, 2D Convertible, Automatic >> Repair and Diagnosis >> Engine Performance >> Ignition System >> Ignition Control >> Ignition Coil >> Installation >> Installation - 1.6L

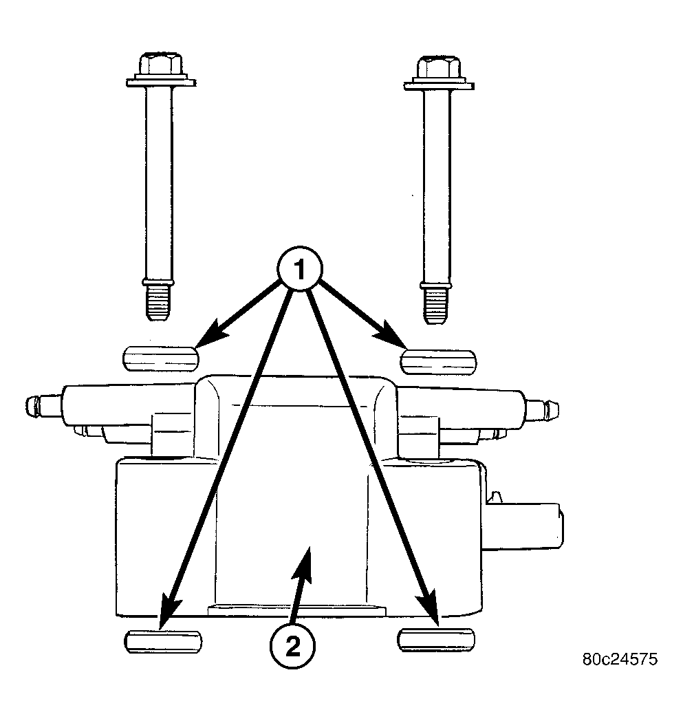
Installation - 1.6L

  1. Install coil and insulators. See Fig 1.
    Fig 1: RUBBER INSULATORS AND COIL
    GC0019925Courtesy of DAIMLERCHRYSLER CORP.
    1 - Rubber Insulators
    2 - Coil
  2. Tighten bolts to 12 N.m (105 +/-20 in. lbs.).
  3. Install gasket to upper intake manifold and. See Fig 2 and Fig 3.
    Fig 2: UPPER INTAKE GASKET
    GC0022908Courtesy of DAIMLERCHRYSLER CORP.
    Fig 3: UPPER INTAKE GASKET INPLACE
    GC0022909Courtesy of DAIMLERCHRYSLER CORP.
  4. Install the 4 bolts from the upper to lower manifold. See Figure.
  5. Install the 2 bolts to the upper manifold to struts and. See Figure and Figure.
  6. Install the PCV hose and the brake booster hose to the upper manifold
  7. Install the purge hose to throttle body.
  8. Connect the electrical connector to throttle body.
  9. Connect the negative battery cable.
  10. Install air cleaner assembly cover and connect the inlet air temperature sensor. See Figure.