lemon-mirror:
Home >> Chrysler >> 2005 >> Pacifica Limited >> Repair and Diagnosis >> Electrical >> Component Locations >> Electrical Component Locator >> Control Units

Control Units

CONTROL UNITS LOCATION

Component Location
Airbag Control Module (ORC) Under front of center console. See Figure.
Body Control Module Left kick panel. See Figure.
Controller Antilock Brake (3.5L) Left rear of engine compartment. See Figure.
Controller Antilock Brake (3.8L) Left rear of engine compartment. See Figure.
Front Blower Power Module On HVAC. See Figure.
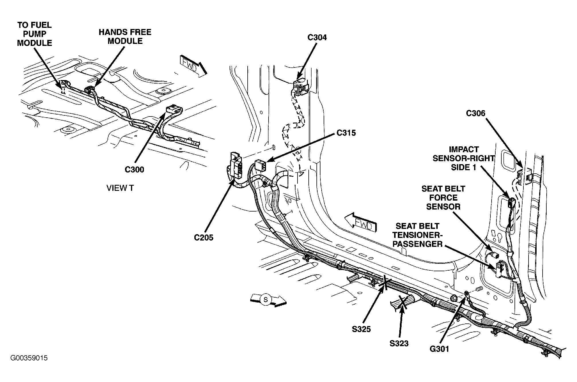
Hands Free Module Center of vehicle floor. See Figure.
Memory/Heated Seat Adjustable Pedals Module Under driver seat. See Figure.
Navigation Module Left rear corner of vehicle. See Figure.
Navigation Unit Left rear corner of vehicle. See Figure.
Park Display Module Near top center of liftgate. See Figure.
Park Module Left rear of vehicle. See Figure.
Power Liftgate Module Left rear corner of vehicle. See Figure.
Power Sunroof Module Rear of sunroof. See Figure.
Powertrain Control Module Left front of engine compartment. See Figure.
Rear Booster Fan Power Module Under rear of center console. See Figure.
Seat Heater Interface Module Under rear console. See Figure.
Skreem Module Left side of dash. See Figure.