lemon-mirror:
Home >> Ford >> 1997 >> Probe Base, Automatic >> Repair and Diagnosis >> External Pages >> Different car >> Section 4 (Module Communications Network) >> Testing >> Test G: Anti-Lock Brake System (Abs) Control Module Does Not Respond To Scan Tester

Test G: Anti-Lock Brake System (Abs) Control Module Does Not Respond To Scan Tester

WARNING: This page is about a different car, the 1997 Lincoln Continental. However, it is still accessible from the selected car via links, so may be relevant.
  1. Ensure ignition switch is in OFF position. Disconnect 84-pin harness connector C217. Harness connector C217 is located behind driver's side of instrument panel. See Figure .
  2. Using ohmmeter, check resistance between terminal No. 76 (Tan/Orange wire) on male side of harness connector C217 and terminal No. 2 (Tan/Orange wire) on Data Link Connector (DLC). See Figure and Figure .
  3. If resistance is 5 ohms or less, go to next step. If resistance is more than 5 ohms, repair open circuit on Tan/Orange wire between DLC and harness connector C217. Repeat TEST A  .
  4. Using ohmmeter, check resistance between terminal No. 77 (Pink/Light Blue wire) on male side of harness connector C217 and terminal No. 10 (Pink/Light Blue wire) on DLC. See Figure and Figure .
  5. If resistance is 5 ohms or less, go to next step. If resistance is more than 5 ohms, repair open circuit on Pink/Light Blue wire between DLC and harness connector C217. Repeat TEST A  .
  6. Disconnect Gray 40-pin harness connector C139. Harness connector C139 is located at driver's side rear corner of engine compartment. See Figure .
  7. Using ohmmeter, check resistance between terminal No. 19 (Tan/Orange wire) on female side of harness connector C139 and terminal No. 76 (Tan/Orange wire) on female side of harness connector C217. See Figure and Figure .
  8. If resistance is 5 ohms or less, go to next step. If resistance is more than 5 ohms, repair open circuit on Tan/Orange wire between harness connectors C139 and C217. Repeat TEST A  .
  9. Using ohmmeter, check resistance between terminal No. 23 (Pink/Light Blue wire) on female side of harness connector C139 and terminal No. 77 (Pink/Light Blue wire) on female side of harness connector C217. See Figure and Figure .
  10. If resistance is 5 ohms or less, go to next step. If resistance is more than 5 ohms, repair open circuit on Pink/Light Blue wire between harness connectors C139 and C217. Repeat TEST A  .
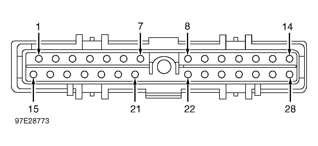
  11. Disconnect Black 28-pin connector C176 from ABS control module. See Figure . The ABS control module is located below battery tray at driver's side front corner of engine compartment.
  12. Using ohmmeter, check resistance between terminal No. 19 (Tan/Orange wire) on male side of harness connector C139 and terminal No. 25 (Tan/Orange wire) on connector C176. See Figure and Fig 1 .
  13. If resistance is 5 ohms or less, go to next step. If resistance is more than 5 ohms, repair open circuit on Tan/Orange wire between harness connector C139 and connector C176. Repeat TEST A  .
  14. Using ohmmeter, check resistance between terminal No. 23 (Pink/Light Blue wire) on male side of harness connector C139 and terminal No. 27 (Pink/Light Blue wire) on connector C176. See Figure and Fig 1 .
  15. If resistance is 5 ohms or less, go to next step. If resistance is more than 5 ohms, repair open circuit on Pink/Light Blue wire between harness connector C139 and connector C176. Repeat TEST A  .
  16. Using ohmmeter, check resistance between terminal No. 25 (Tan/Orange wire) on connector C176 and Tan/Orange wire on the EVAC and fill connector for the ABS. See Fig 1 . The EVAC and fill connector is a round Black 8-pin connector located in engine compartment on driver's side front fenderwell. See Figure .
  17. If resistance is 5 ohms or less, go to next step. If resistance is more than 5 ohms, repair open circuit on Tan/Orange wire between connector C176 and EVAC and fill connector. Repeat TEST A  .
  18. Inspect pins and wire connections on EVAC and fill connector. If pins and wire connections are okay, go to next step. If pins or wire connections are defective or damaged, repair pins or wire connections as necessary. Repeat TEST A  .
  19. Inspect pins and wire connections on harness connector C139 and connector C176. If pins and wire connections are okay, replace ABS control module. Repeat TEST A  . If pins or wire connections are defective or damaged, repair pins or wire connections as necessary. Repeat TEST A  .
Fig 1: Identifying Connector C176 Terminals
G97E28773Courtesy of FORD MOTOR CO.