lemon-mirror:
Home >> Ford >> 2002 >> Thunderbird >> Repair and Diagnosis >> Transmission >> Automatic Trans >> Automatic Transmission >> In-Vehicle Repair >> Main Control Valve Body >> Installation

Main Control Valve Body: Installation

    CAUTION: The intermediate clutch fluid inlet tube seal and spring must be correctly seated in the case. Failure to correctly seat the inlet tube seal and spring will cause an internal fluid leak and transmission damage.
    Fig 1: Installing Intermediate Clutch Fluid Inlet Tube Seal And Spring Into Case
    G03422210Courtesy of FORD MOTOR CO.
  1. Using a drift punch, correctly install and seat the intermediate clutch fluid inlet tube seal and spring into the case.
  2. Install the special tools into the transmission case.
    Fig 2: Installing Special Tools Into Transmission Case
    G03422211Courtesy of FORD MOTOR CO.
  3. Refer to the following chart for bolt locations:
    BOLT SPECIFICATIONS

    Item Part Number Part Name Size
    1 W702791-S300 Hex bolt M6 X 27
    2 W500103 -S1300 Hex bolt M6 X 45
    3 W703133 -S1300 Hex bolt M6 X 52
    4 W705559-S300 Hex bolt M6 X 82.2
    5 W500100-S300 Hex bolt M6 X 30
    6 W701099 -S1430 Cap int lob screw M6 X 20
    7 W703135 -S1300 Hex bolt M6 X 70
    8 W703189 -S1430 Cap int lob 8 M6 X 63
    9 W702921-S430 Cap int lob 8 M6 X 25
    Fig 3: Identifying Bolt Locations
    G03422212Courtesy of FORD MOTOR CO.
  4. Install the main control valve body and loosely install the screws.
    Fig 4: Installing Main Control Valve Body
    G03422213Courtesy of FORD MOTOR CO.
  5. Remove the special tools and loosely install the screws.
    Fig 5: Identifying Screws
    G03422214Courtesy of FORD MOTOR CO.
  6. Install the valve body cover plate and gasket and loosely install the screws.
    Fig 6: Installing Valve Body Cover Plate And Gasket
    G03422215Courtesy of FORD MOTOR CO.
  7. Install the reverse pressure switch and loosely install the screws.
    Fig 7: Installing Reverse Pressure Switch
    G03422216Courtesy of FORD MOTOR CO.
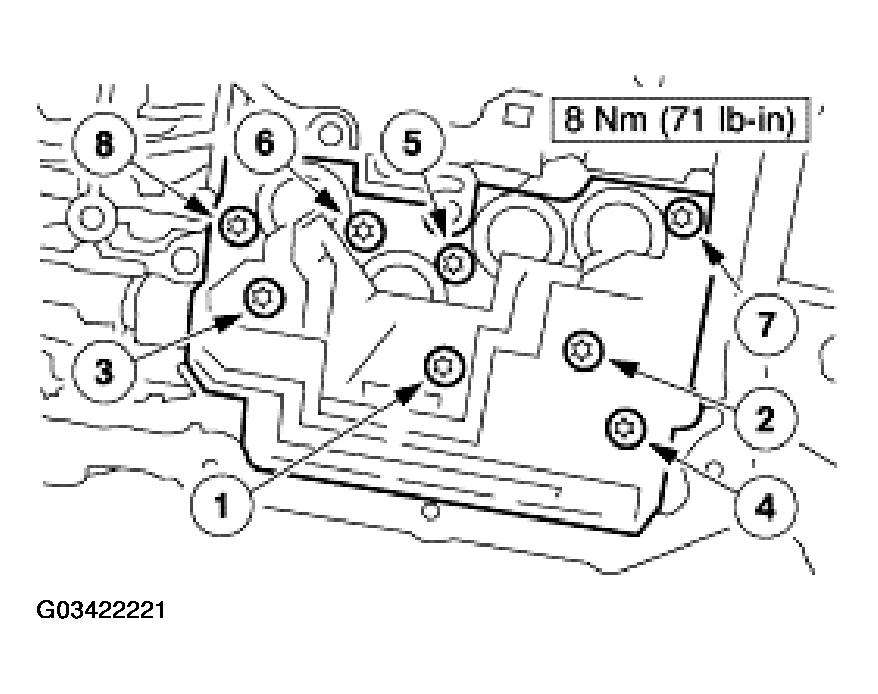
  8. Tighten the screws in the sequence shown.
    Fig 8: Screw Tightening Sequence
    G03422217Courtesy of FORD MOTOR CO.
  9. Install the reverse servo. Tighten the bolts in sequence shown in two stages.
    • Stage 1: Tighten bolts to 5N.m (44 lb-in)
    • Stage 2: Tighten bolts to 11N.m (8 lb-ft)
      Fig 9: Identifying Reverse Servo Bolts Tighten Sequence
      G03422218Courtesy of FORD MOTOR CO.
  10. Install the manual control valve detent spring.
    Fig 10: Installing Manual Control Valve Detent Spring
    G03422219Courtesy of FORD MOTOR CO.
  11. Install new O-ring seals on the solenoid body connector. Lubricate the O-ring seals with clean automatic transmission fluid.
    Fig 11: Installing O-Ring Seals On Solenoid Body Connector
    G03422220Courtesy of FORD MOTOR CO.
  12. CAUTION: Inspect the transmission case bore to make sure it is free of foreign material and not damaged. If it is damaged, transmission leak may occur.
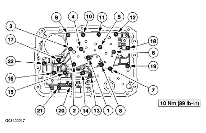
    Fig 12: Solenoid Body Bolts Tightening Sequence
    G03422221Courtesy of FORD MOTOR CO.
  13. Install the solenoid body. Tighten the bolts in sequence shown.
  14. Connect the reverse pressure switch connector.
    Fig 13: Connecting Reverse Pressure Switch Connector
    G03422222Courtesy of FORD MOTOR CO.
  15. CAUTION: Lubricate the fluid filter O-ring seals with clean automatic transmission fluid or seals can be damaged.
    NOTE: Make sure that the fluid filter O-ring seals are correctly seated on the filter.
    Fig 14: Installing Transmission Fluid Filter
    G03422223Courtesy of FORD MOTOR CO.
  16. Lubricate the seals and install the transmission fluid filter.
  17. NOTE: The transmission fluid pan gasket is reusable. Clean and inspect for damage. If not damaged, the gasket should be reused.
    Fig 15: Installing Transmission Fluid Pan And Gasket
    G03422224Courtesy of FORD MOTOR CO.
  18. Install the transmission fluid pan and gasket and loosely install the screws.
  19. Tighten the screws in a crisscross sequence.
    Fig 16: Identifying Transmission Fluid Pan Bolt Tighten Torque
    G03422225Courtesy of FORD MOTOR CO.
  20. Install the HO2S sensor connector to the front of the transmission pan rail.
    Fig 17: Installing HO2S Sensor Connector To Front Of Transmission Pan Rail
    G03422226Courtesy of FORD MOTOR CO.
  21. Reconnect the HO2S sensor connectors and install the sensor wire retaining clip to the right side of the transmission pan rail.
    Fig 18: Reconnecting HO2S Sensor Connectors
    G03422227Courtesy of FORD MOTOR CO.
  22. NOTE: A new converter drain plug must be used to prevent leakage.
    Fig 19: Installing Drain Plug
    G03422228Courtesy of FORD MOTOR CO.
  23. Install the drain plug.
  24. Install the converter housing access plug.
    Fig 20: Installing Converter Housing Access Plug
    G03422229Courtesy of FORD MOTOR CO.
  25. CAUTION: Damage to the solenoid body assembly can result if the screw is tightened above specification.
    NOTE: Always install new O-ring seals on vehicle harness connector.
    NOTE: Clean the area around connector to prevent contamination of the solenoid body connector.
    NOTE: Use petroleum jelly to lubricate the O-ring seals to aid in the installation process.
    Fig 21: Installing New O-Ring Seals On Transmission Connector
    G03422230Courtesy of FORD MOTOR CO.
  26. Install and lubricate new O-ring seals on the transmission connector and connect the connector.
  27. Reconnect the digital TR sensor connector and slide the rubber boot over the connector.
    Fig 22: Reconnecting Digital TR Sensor Connector
    G03422231Courtesy of FORD MOTOR CO.
  28. Install a new tie strap around the rubber boot for the TR sensor connector.
    Fig 23: Installing A New Tie Strap Around Rubber Boot For TR Sensor Connector
    G03422232Courtesy of FORD MOTOR CO.
  29. Install the transmission shift cable bracket.
    Fig 24: Installing Transmission Shift Cable Bracket
    G03422233Courtesy of FORD MOTOR CO.
  30. Reconnect the wire harness to the top of the transmission shift cable bracket.
    Fig 25: Reconnecting Wire Harness To Top Of Transmission Shift Cable Bracket
    G03422234Courtesy of FORD MOTOR CO.
  31. Lower the vehicle.
  32. NOTE: When the battery is disconnected or a new battery installed, certain transmission operating parameters can be lost. The powertrain control module (PCM) must relearn these parameters. During this learning process, you may experience slightly firm shifts, delayed, or early shifts. This operation is considered normal and will not affect the function of the transmission. Normal operation will return once these parameters are stored by the PCM.
  33. Connect the battery ground cable. For additional information, refer to BATTERY, MOUNTING & CABLES .
  34. Fill the transmission to the correct fluid level and check for correct transmission operation. For additional information, refer to TRANSMISSION FLUID LEVEL CHECK .