lemon-mirror:
Home >> Ford >> 2002 >> Thunderbird >> Repair and Diagnosis >> Transmission >> Automatic Trans >> Automatic Transmission >> In-Vehicle Repair >> Solenoid Body Assembly >> Installation

Solenoid Body Assembly: Installation

  1. Install new O-ring seals on the solenoid body connector. Lubricate the O-ring seals with clean automatic transmission fluid.
    Fig 1: Installing O-Ring Seals On Solenoid Body Connector
    G03422274Courtesy of FORD MOTOR CO.
  2. CAUTION: Inspect the transmission case bore to make sure it is free of foreign material and not damaged. If damaged, a transmission leak can result.
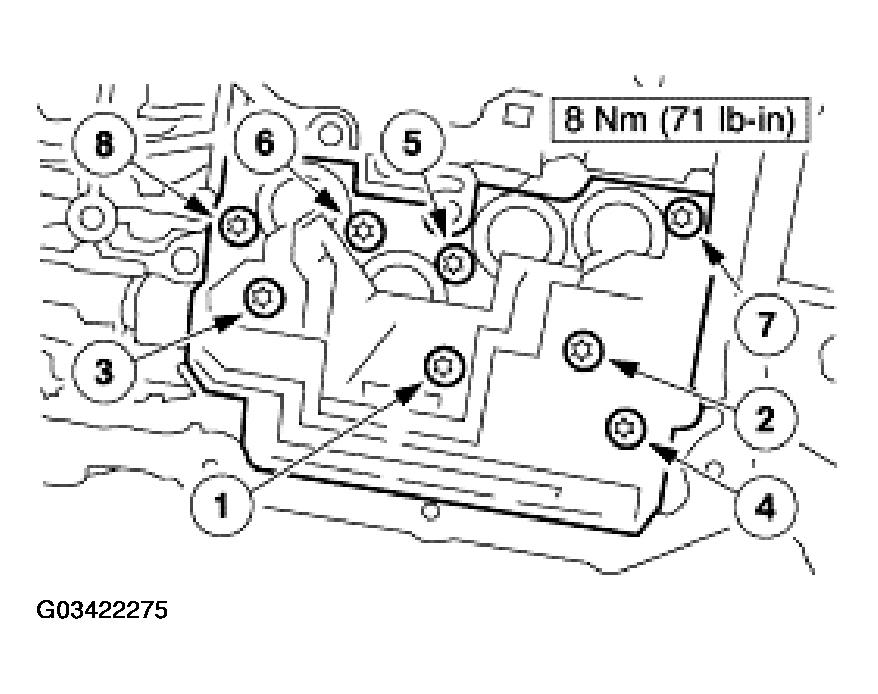
    Fig 2: Identifying Solenoid Body Bolts Tighten Sequence
    G03422275Courtesy of FORD MOTOR CO.
  3. Install the solenoid body. Tighten the bolts in sequence shown.
  4. Connect the reverse pressure switch connector.
    Fig 3: Connecting Reverse Pressure Switch Connector
    G03422276Courtesy of FORD MOTOR CO.
  5. CAUTION: Lubricate the fluid filter O-ring seals with clean automatic transmission fluid or seals may be damaged.
    NOTE: Make sure that the fluid filter O-ring seals are correctly seated on the filter.
    Fig 4: Installing Transmission Fluid Filter
    G03422277Courtesy of FORD MOTOR CO.
  6. Lubricate the seals and install the transmission fluid filter.
  7. NOTE: The transmission fluid pan gasket is reusable. Clean and inspect for damage. If not damaged, the gasket should be reused.
    Fig 5: Installing Transmission Fluid Pan And Gasket
    G03422278Courtesy of FORD MOTOR CO.
  8. Install the transmission fluid pan and gasket and loosely install the screws.
  9. Tighten the screws in a crisscross sequence.
    Fig 6: Identifying Transmission Fluid Pan Screws Tighten Sequence
    G03422279Courtesy of FORD MOTOR CO.
  10. Install the HO2S sensor connector to the front of the transmission pan rail.
    Fig 7: Installing HO2S Sensor Connector To Front Of Transmission Pan Rail
    G03422280Courtesy of FORD MOTOR CO.
  11. Reconnect the HO2S sensor connectors and install the sensor wire retaining clip to the right side of the transmission pan rail.
    Fig 8: Reconnecting HO2S Sensor Connectors
    G03422281Courtesy of FORD MOTOR CO.
  12. NOTE: A new converter drain plug must be used to prevent leakage.
    Fig 9: Installing Drain Plug
    G03422282Courtesy of FORD MOTOR CO.
  13. Install the drain plug.
  14. Install the converter housing access plug.
    Fig 10: Installing Converter Housing Access Plug
    G03422283Courtesy of FORD MOTOR CO.
  15. CAUTION: Damage to the solenoid body assembly can result if the screw is tightened above the specification.
    NOTE: Always install new O-ring seals on vehicle harness connector.
    NOTE: Clean the area around connector to prevent contamination of the solenoid body connector.
    NOTE: Use petroleum jelly to lubricate the O-ring seals to aid in the installation process.
    Fig 11: Connecting Transmission Connector
    G03422284Courtesy of FORD MOTOR CO.
  16. Install and lubricate new O-ring seals on the transmission connector and connect the connector.
  17. Install the shift cable bracket.
    Fig 12: Installing Shift Cable Bracket
    G03422285Courtesy of FORD MOTOR CO.
  18. Reconnect the wire harness to the top of the transmission shift cable bracket.
    Fig 13: Reconnecting Wire Harness To Top Of Transmission Shift Cable Bracket
    G03422286Courtesy of FORD MOTOR CO.
  19. Lower the vehicle.
  20. NOTE: When the battery is disconnected or a new battery installed, certain transmission operating parameters can be lost. The powertrain control module (PCM) must relearn these parameters. During this learning process, you may experience slightly firm shifts, delayed, or early shifts. This operation is considered normal and will not affect the function of the transmission. Normal operation will return once these parameters are stored by the PCM.
  21. Connect the battery ground cable. For additional information, refer to BATTERY, MOUNTING & CABLES .
  22. Fill the transmission to the correct fluid level and check for correct transmission operation. For additional information, refer to TRANSMISSION FLUID LEVEL CHECK .