lemon-mirror:
Home >> Ford >> 2003 >> ZX2 Automatic >> Repair and Diagnosis (Single Page) >> Engine Mechanical >> Mechanical >> Engine >> Assembly >> Engine >> Material

Engine Mechanical: Mechanical: Engine: Assembly: Engine: Material

Fig 1: Material Specification
G01371165Courtesy of FORD MOTOR CO.
    WARNING: Eye protection is required to be worn during use of compressed air. Failure to follow these instructions could result in possible personal injury.
  1. Clean and dry the cylinder block (6010).
    • Clean gasket material, dirt and debris from the cylinder block.
    • Wash the cylinder block with a suitable soap and water solution.
    • Dry the cylinder block completely using compressed air.
  2. If required, install the new pipe plugs and alignment dowels.
    Fig 2: Installing New Pipe Plugs And Alignment Dowels
    G01371166Courtesy of FORD MOTOR CO.
  3. Install the crankshaft key.
    Fig 3: Installing Crankshaft Key
    G01371167Courtesy of FORD MOTOR CO.
  4. If required, on manual transaxles install a new crankshaft pilot bearing.
  5. Install the upper crankshaft main bearings (6333), the upper crankshaft thrust main bearing (6337) and the lower crankshaft main bearings.
    Fig 4: Installing Upper Crankshaft Main Bearings
    G01371168Courtesy of FORD MOTOR CO.
  6. Position the crankshaft (6303).
    Fig 5: Positioning Crankshaft
    G01371169Courtesy of FORD MOTOR CO.
  7. Determine crankshaft main bearing clearance. For additional information, refer to CRANKSHAFT MAIN BEARING JOURNAL CLEARANCE .
  8. Apply a light coat of clean engine oil to the crankshaft bearings and journals.
  9. CAUTION: Make sure the main bearing caps are installed in their original position or engine damage may occur.
    Fig 6: Installing Main Bearing Caps
    G01371170Courtesy of FORD MOTOR CO.
  10. Install the main bearing caps.
  11. Loosely install the bolts.
    Fig 7: Installing Main Bearing Cap Bolts
    G01371171Courtesy of FORD MOTOR CO.
  12. Tighten the bolts in the sequence shown in Fig 8.
    Fig 8: Main Bearing Cap Bolt Tightening Sequence
    G01371172Courtesy of FORD MOTOR CO.
  13. NOTE: Do not remove the wedge until the crankshaft main bearing thrust cap bolts are tightened.
    Fig 9: Seating Crankshaft Thrust Main Bearings
    G01371173Courtesy of FORD MOTOR CO.
  14. Wedge the crankshaft forward to fully seat the crankshaft thrust main bearings, while prying the crankshaft main bearing thrust cap to the rear.
  15. Tighten the bolts.
    Fig 10: Tightening Crankshaft Thrust Main Bearing Cap Bolts
    G01371174Courtesy of FORD MOTOR CO.
  16. Rotate the crankshaft and inspect for excessive drag or binding.
    Fig 11: Rotating Crankshaft
    G01371175Courtesy of FORD MOTOR CO.
  17. Inspect the crankshaft end play. For additional information, refer to CRANKSHAFT END PLAY .
  18. NOTE: The clearance between the lower cylinder block sealing surfaces on the crankshaft rear oil seal retainer (6335) and the crankshaft cannot exceed 0.2-0.8 mm (0.008-0.031 inch).
    Fig 12: Installing Crankshaft Rear Oil Seal Retainer Bolts
    G01371176Courtesy of FORD MOTOR CO.
  19. Install the crankshaft rear oil seal retainer.
    • Install the new crankshaft rear oil seal retainer gasket (6344).
    • Install the crankshaft rear oil seal retainer.
    • Install the bolts.
  20. NOTE: Lubricate the crankcase flange and the crankshaft rear oil seal bore with clean engine oil prior to installing the crankshaft front seal (6700) or damage to the crankshaft front seal may occur.
  21. If required, install a new crankshaft front seal. For additional information, refer to CRANKSHAFT FRONT OIL SEAL .
  22. CAUTION: PIP mark on pistons and squirt groove on connecting rods must be located on the intake side of the engine or possible engine damage may occur.
    CAUTION: Use care when installing piston and connecting rod assemblies. Do not scratch the cylinder walls or the crankshaft journals or engine damage may occur.
    CAUTION: The arrow on the piston must point toward the front of the engine or engine damage may occur.
    NOTE: Lubricate the cylinder block, piston rings and connecting rod (6200) prior to installation with clean engine oil.
    Fig 13: Installing Piston And Connecting Rod Assemblies
    G01371177Courtesy of FORD MOTOR CO.
  23. Install four piston and connecting rod assemblies using the Connecting Rod Guides and the Piston Ring Compressor.
  24. NOTE: Turn the crankshaft each time to install the connecting rod caps.
    Fig 14: Inspecting Connecting Rod Bearing
    G01371178Courtesy of FORD MOTOR CO.
  25. Fit the connecting rod bearing (6211).
    • Install the four upper and the four lower connecting rod bearings.
    • Inspect the connecting rod bearing to the crankshaft clearance. For additional information, refer to CRANKSHAFT CONNECTING ROD JOURNAL DIAMETER .
  26. CAUTION: Connecting rods and connecting rod caps must be correctly oriented, the interlocking tangs on the same side of the connecting rod or possible engine damage may occur.
    NOTE: Lubricate the connecting rod bearings and the crankshaft journals prior to installation with clean engine oil.
    NOTE: Rotate the crankshaft after installing each connecting rod cap and inspect for excess drag or binding.
    Fig 15: Installing New Bolts
    G01371179Courtesy of FORD MOTOR CO.
  27. Install the four connecting rod caps.
    • Install the four connecting rod caps.
    • Install the new bolts and tighten in two steps:
      • Tighten to 35 Nm (26 lb-ft).
      • Tighten an additional 90 degrees.
  28. Inspect the connecting rod clearance. For additional information, refer to CONNECTING ROD BEARING JOURNAL CLEARANCE .
  29. NOTE: The clearance between the lower cylinder block sealing surfaces on the oil pump (6600) and the cylinder block cannot exceed 0.3-0.8 mm (0.012-0.031 inch).
    Fig 16: Installing Oil Pump Bolts
    G01371180Courtesy of FORD MOTOR CO.
  30. Install the oil pump.
    • Install the new oil pump gasket (7A136).
    • Install the oil pump.
  31. Use the Oil Pump Seal Replacer to install a new crankshaft front seal.
    Fig 17: Installing New Crankshaft Front Seal
    G01371181Courtesy of FORD MOTOR CO.
  32. CAUTION: The cylinder block cradle must be installed and the bolts tightened to specification within four minutes of sealant application or possible leakage may occur.
  33. Apply a 3 mm (0.1 inch) bead of silicone gasket and sealant in four places where the oil seal retainers meet the cylinder block.
  34. Install a gasket and the cylinder block cradle. Tighten the bolts in two steps in the sequence shown in Fig 18.
    • Tighten the bolts to 7-13 Nm (62-115 lb-in).
    • Tighten the bolts to 20-24 Nm (15-17 lb-ft).
    Fig 18: Cylinder Block Cradle Bolt Tightening Sequence
    G01371182Courtesy of FORD MOTOR CO.
  35. Install the oil pump cover and screen.
    • Install new oil pump inlet tube gasket (6626).
    • Install the oil pump cover and screen.
    Fig 19: Installing Oil Pump Cover
    G01371183Courtesy of FORD MOTOR CO.
  36. NOTE: The oil pan (6675) must be installed and the bolts tightened to specification within four minutes of sealant application.
    Fig 20: Applying Bead Of Silicone Gasket And Sealant
    G01371184Courtesy of FORD MOTOR CO.
  37. Apply a 3 mm (0.1 inch) bead of silicone gasket and sealant.
  38. Install the oil pan. Tighten the bolts in the sequence shown in Fig 21.
    Fig 21: Oil Pan Bolt Tightening Sequence
    G01371185Courtesy of FORD MOTOR CO.
  39. Install the crankshaft position sensor (CKP sensor) (6C315) and bushing.
    Fig 22: Installing Crankshaft Position Sensor And Bushing
    G01371186Courtesy of FORD MOTOR CO.
  40. Turn the engine upright on stand.
  41. Install the water pump housing. For additional information, refer to INSTALLATION .
  42. Assemble the cylinder head (6049). For additional information, refer to CYLINDER HEAD .
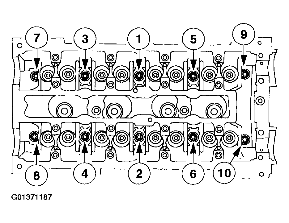
  43. CAUTION: The bolts are torque-to-yield, new bolts must be installed or engine damage may occur.
    Fig 23: Cylinder Head Bolt Tightening Sequence
    G01371187Courtesy of FORD MOTOR CO.
  44. Tighten the bolts in three steps in the sequence shown in Fig 23.
    • Tighten the bolts to 15-25 Nm (12-18 lb-ft).
    • Tighten the bolts to 35-45 Nm (26-33 lb-ft).
    • Tighten the bolts an additional 105 degrees.
  45. Loosely install the crankshaft pulley (6312), then position the engine at top dead center cylinder No. 1.
  46. NOTE: Lubricate the valve tappets (6500) prior to installation with clean engine oil.
    NOTE: If valve tappets are being reused the valve tappet must be installed in its original position or engine damage may occur. Mark the valve tappet for correct location.
    Fig 24: Installing Valve Tappets
    G01371188Courtesy of FORD MOTOR CO.
  47. Install valve tappets.
  48. Select and install valve clearance shims. For additional information, refer to VALVE - VALVE CLEARANCE, ADJUST .
  49. Install the oil control solenoid and bushing on the exhaust camshaft (6250).
    Fig 25: Installing Oil Control Solenoid And Bushing On Exhaust Camshaft
    G01371189Courtesy of FORD MOTOR CO.
  50. CAUTION: The engine must be at top dead center or engine performance may suffer.
    Fig 26: Installing Camshafts
    G01371190Courtesy of FORD MOTOR CO.
  51. Install the camshafts.
  52. Install the camshaft front oil seals.
  53. CAUTION: The cylinder head camshaft journal thrust cap must be installed first to correctly position the camshaft in the cylinder head.
    CAUTION: Cylinder head camshaft journal caps and cylinder heads are numbered to be sure they are assembled in their original positions. Keep camshaft journal caps with the cylinder head from which they were removed. Do not mix with camshaft journal caps from another cylinder head.
    NOTE: Apply a bead of gasket maker to the sealing surfaces of the front camshaft journal thrust cap prior to installation.
    NOTE: Lubricate the camshaft bearing surfaces with clean engine oil prior to assembly.
    Fig 27: Installing Camshaft Journal Thrust Caps
    G01371191Courtesy of FORD MOTOR CO.
  54. Install the camshaft journal thrust caps.
  55. Install the camshaft journal cap bolts. Tighten the bolts in several two-step passes in the sequence shown in Fig 28.
    Fig 28: Camshaft Journal Cap Bolt Tightening Sequence
    G01371192Courtesy of FORD MOTOR CO.
  56. Turn the oil control solenoid bushing one full turn and inspect for binding.
  57. Install the timing belt cover backplate.
    Fig 29: Installing Timing Belt Cover Backplate
    G01371193Courtesy of FORD MOTOR CO.
  58. Position the single hole in the bushing at the 12 o'clock position.
  59. Install the timing belt routing pulleys.
    Fig 30: Installing Timing Belt Routing Pulleys
    G01371194Courtesy of FORD MOTOR CO.
  60. Install the timing belt guide and crankshaft sprocket (6306).
    Fig 31: Installing Timing Belt Guide And Crankshaft Sprocket
    G01371195Courtesy of FORD MOTOR CO.
  61. Install the bolts. Tighten the bolts in the sequence shown in Fig 32.
    Fig 32: Tightening Bolts In Sequence
    G01371196Courtesy of FORD MOTOR CO.
  62. NOTE: Make sure the correct (second) notch in the pulley is indexed to the lower cylinder block.
    Fig 33: Positioning Crankshaft
    G01371197Courtesy of FORD MOTOR CO.
  63. Position the crankshaft just prior to top dead center.
  64. Install the crankshaft TDC Timing Peg.
    Fig 34: Installing Crankshaft TDC Timing Peg
    G01371198Courtesy of FORD MOTOR CO.
  65. Rotate the crankshaft clockwise against the peg.
    Fig 35: Rotating Crankshaft Clockwise Against Peg
    G01371199Courtesy of FORD MOTOR CO.
  66. NOTE: Installation of the alignment tool into the exhaust camshaft may require the camshaft to be rotated clockwise.
    Fig 36: Installing Camshaft Alignment Timing Tool
    G01371200Courtesy of FORD MOTOR CO.
  67. Install the Camshaft Alignment Timing Tool on the back of the camshafts.
  68. Install the intake timing sprocket and loosely install the bolt.
  69. Rotate the oil control bushing one full turn and inspect for binding. Position the bushing with the single hole in the 12 o'clock position.
    Fig 37: Rotating Oil Control Bushing
    G01371201Courtesy of FORD MOTOR CO.
  70. Install a new exhaust sprocket O-ring into the exhaust sprocket.
  71. Install the exhaust camshaft sprocket. Make sure that the tab on the sprocket engages the hole previously positioned at 12 o'clock in the oil control solenoid bushing. Loosely install the bolt.
    Fig 38: Installing Exhaust Camshaft Sprocket
    G01371202Courtesy of FORD MOTOR CO.
  72. Loosely install the timing belt tensioner.
  73. Install the timing belt.
    Fig 39: Installing Timing Belt
    G01371203Courtesy of FORD MOTOR CO.
  74. Engage the timing belt tensioner tab Disassembling into the upper timing cover backplate.
    Fig 40: Identifying Engage Timing Belt Tensioner Tab
    G01371204Courtesy of FORD MOTOR CO.
  75. Using a 6 mm Allen wrench, adjust the timing belt tensioner until the index marks are aligned. Tighten the bolt.
    Fig 41: Tightening Timing Belt Tensioner Bolt
    G01371205Courtesy of FORD MOTOR CO.
  76. CAUTION: The camshaft must be held stationary with an open-end wrench. Do not use the alignment tool to hold the camshaft in position or damage to the camshaft may occur.
    Fig 42: Tighten Bolt On Intake Camshaft Sprocket
    G01371206Courtesy of FORD MOTOR CO.
  77. Tighten the bolt on the intake camshaft sprocket.
  78. CAUTION: The camshaft must be held stationary with an open-end wrench. Do not use the alignment tool to hold the camshaft in position or damage to the camshaft may occur.
    Fig 43: Tightening Bolt On Exhaust Camshaft Sprocket
    G01371207Courtesy of FORD MOTOR CO.
  79. Tighten the bolt on the exhaust camshaft sprocket in three steps.
    • Tighten the bolt to 50 Nm (36 lb-ft).
    • Remove the TDC peg and the Camshaft Alignment Timing Tool.
    • Tighten the bolt to 115-125 Nm (85-92 lb-ft).
  80. Install the TDC timing peg and turn the crankshaft against the peg.
    Fig 44: Installing TDC Timing Peg And Turn Crankshaft Against Peg
    G01371208Courtesy of FORD MOTOR CO.
  81. NOTE: Installation of the alignment tool into the exhaust camshaft may require the camshaft to be rotated clockwise. If the alignment tool does not align and install in the camshafts, repeat Steps  47 through  62.
    Fig 45: Installing Camshaft Alignment Timing Tool
    G01371209Courtesy of FORD MOTOR CO.
  82. Install the Camshaft Alignment Timing Tool on the back of the camshafts.
  83. Remove the alignment tool and the TDC timing peg.
  84. Install the bolt.
    Fig 46: Installing Bolt
    G01371210Courtesy of FORD MOTOR CO.
  85. Install the lower timing belt cover.
    Fig 47: Installing Lower Timing Belt Cover
    G01371211Courtesy of FORD MOTOR CO.
  86. NOTE: Apply silicone gasket and sealant to the crankshaft pulley keyway prior to installing the crankshaft pulley.
    Fig 48: Installing Crankshaft Pulley
    G01371212Courtesy of FORD MOTOR CO.
  87. Install the crankshaft pulley.
  88. Remove the holding tools.
  89. Install the oil plug on the variable camshaft timing assembly.
  90. Install the center timing belt cover.
    Fig 49: Installing Center Timing Belt Cover
    G01371213Courtesy of FORD MOTOR CO.
  91. Install the knock sensor.
    Fig 50: Installing Knock Sensor
    G01371214Courtesy of FORD MOTOR CO.
  92. NOTE: Inspect camshaft position sensor O-ring and install a new O-ring if necessary.
    Fig 51: Installing Camshaft Position Sensor
    G01371215Courtesy of FORD MOTOR CO.
  93. Install the camshaft position sensor (CMP sensor) (6B288).
  94. Install the water pump pulley (8509). For additional information, refer to INSTALLATION .
  95. NOTE: If the original spark plugs (12405) are being reused, install the spark plugs in their original locations.
    Fig 52: Installing Spark Plugs
    G01371216Courtesy of FORD MOTOR CO.
  96. Install the four spark plugs.
  97. Clean the cylinder head-to-valve cover sealing surfaces.
  98. NOTE: Apply a 3 mm (0.1 inch) bead of silicone gasket and sealant to the front camshaft journal cap to cylinder head seam and install the valve cover within four minutes.
    Fig 53: Tightening Valve Cover Bolts
    G01371217Courtesy of FORD MOTOR CO.
  99. Install the valve cover (6582).
    • Install the valve cover gasket (6584) on the valve cover.
    • Install the valve cover.
    • Position the O-rings.
    • Position the grommets.
    • Position the spacers.
    • Install and tighten the bolts.
  100. Install the upper timing belt cover.
    Fig 54: Installing Upper Timing Belt Cover
    G01371218Courtesy of FORD MOTOR CO.
  101. Install the power steering pump and brackets. For additional information, refer to INSTALLATION .
  102. Install the ignition coil (12029), radio ignition interference capacitor (18801) and bracket.
  103. Install the intake manifold (9424).
    • Install the intake manifold gaskets (9461).
    • Install the intake manifold.
    • Install the bolts and nuts.
    • Tighten in sequence shown in Fig 55.
    Fig 55: Intake Manifold Bolt Tightening Sequence
    G01371219Courtesy of FORD MOTOR CO.
  104. Install the fuel charging wiring (9D930).
  105. NOTE: Apply stud and bearing mount to the threads on the bolt.
    Fig 56: Installing Oil Level Indicator Tube
    G01371220Courtesy of FORD MOTOR CO.
  106. Install the oil level indicator tube.
  107. Install the oil separator.
    • Install a new oil separator to cylinder block gasket (6B752).
    • Install the oil separator.
    Fig 57: Installing Oil Separator
    G01371221Courtesy of FORD MOTOR CO.
  108. Install the crankcase ventilation tube (6758).
  109. Install the water bypass tube.
    Fig 58: Installing Water Bypass Tube
    G01371222Courtesy of FORD MOTOR CO.
  110. Install the water thermostat housing. For additional information, refer to INSTALLATION .
  111. Install the fuel injection supply manifold (9F792). For additional information, refer to FUEL INJECTION SUPPLY MANIFOLD & INJECTORS .
  112. Install the throttle body. For additional information, refer to THROTTLE BODY .
  113. Install the exhaust manifold (9430).
    • Install the new exhaust manifold gasket (9448).
    • Install the exhaust manifold.
    • Install the nine nuts.
    • Tighten the nuts in the sequence shown in Fig 59.
    Fig 59: Exhaust Manifold Nut Tightening Sequence
    G01371223Courtesy of FORD MOTOR CO.
  114. Install the exhaust manifold heat shield.
    Fig 60: Installing Exhaust Manifold Heat Shield
    G01371224Courtesy of FORD MOTOR CO.
  115. Connect the fuel charging wiring to the fuel temperature sensor, fuel pressure sensor, exhaust oxygen sensor, the camshaft position sensor and the throttle position sensor (TP sensor) (9B989).
  116. Install the generator mounting bracket (10153). For additional information, refer to GENERATOR .
  117. Install the generator (GEN) (10300) and bracket as an assembly. For additional information, refer to GENERATOR .
  118. Install the battery ground cable (14301).
  119. Install the A/C compressor (19703). For additional information, refer to AIR CONDITIONING (A/C) COMPRESSOR .
  120. Install the ignition wires.
    Fig 61: Installing Ignition Wires
    G01371225Courtesy of FORD MOTOR CO.
  121. On early production vehicles, install the oil control solenoid boot into the engine appearance cover.
  122. Connect the fuel charging wiring to the oil control solenoid.
  123. On early production vehicles, install the engine appearance cover.
    Fig 62: Installing Engine Appearance Cover
    G01371226Courtesy of FORD MOTOR CO.
  124. Install the drive belt (8620). For additional information, refer to ACCESSORY DRIVE BELT .
  125. Tighten the bolts.
  126. Remove the engine from the Engine Stand using the Heavy Duty Floor Crane.
  127. Install the rear engine cover plate and dowels.
  128. Install the flywheel. For additional information, refer to FLYWHEEL .