lemon-mirror:
Home >> Honda >> 2000 >> Insight >> Repair and Diagnosis >> Body & Frame >> Mirrors >> Power Mirrors >> Power Mirror Switch Test/ Replacement

Power Mirror Switch Test/ Replacement

  1. Remove the instrument panel (see INSTRUMENT PANEL REMOVAL/INSTALLATION ).
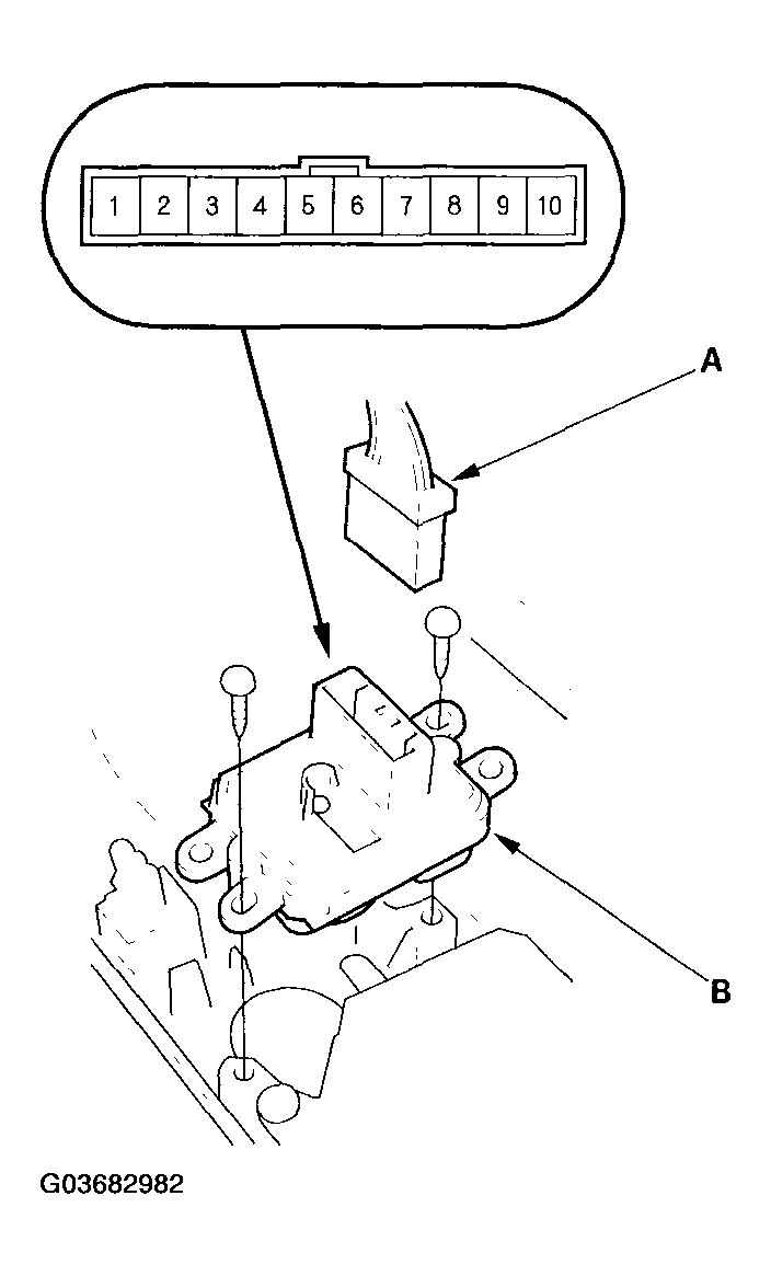
  2. Disconnect the 10P connector (A) from the power mirror switch (B).
    Fig 1: Disconnecting 10P Connector From Power Mirror Switch
    G03682982Courtesy of AMERICAN HONDA MOTOR CO., INC.
  3. Check for continuity between the terminals in each switch position according to the table.
    Fig 2: Power Mirror Switch Terminals Continuity Checking Reference Table
    G03682983Courtesy of AMERICAN HONDA MOTOR CO., INC.
  4. If the continuity is not as specified, remove the two screws and replace the switch.