lemon-mirror:
Home >> Honda >> 2011 >> Insight Base >> Repair and Diagnosis >> Engine Mechanical >> Mechanical >> Engine Assembly >> Engine Removal

Engine Removal

Special Tools Required 

*Available through the Honda Tool and Equipment Program 888-424-6857

NOTE:
  • IMA components are located in this area. The IMA is a high-voltage system. You must be familiar with the IMA system before working on or around it. Make sure you have read the IMA service precaution before doing repairs or service (see SERVICE PRECAUTIONS ).
  • Use fender covers to avoid damaging painted surfaces.
  • To avoid damaging the wiring and terminals, unplug the wiring connectors carefully while holding the connector portion.
  • Mark all wiring and hoses to avoid misconnection. Also, be sure that they do not contact other wiring or hoses, or interfere with other parts.
  1. Turn the battery module switch OFF (see DISCONNECTING THE MOTOR POWER CABLE CONNECTOR FROM THE MOTOR STATOR ).
  2. Before removing the engine/transmission , read the Service Precautions for the IMA System (see SERVICE PRECAUTIONS ).
  3. Remove the hood support rod, then use it as shown to prop the hood in the wide-open position.
    Fig 1: Identifying Hood Support Rod
    G06428770Courtesy of AMERICAN HONDA MOTOR CO., INC.
  4. Relieve fuel pressure (see FUEL PRESSURE RELIEVING ).
  5. Do the 12 volt battery removal procedure (see 12 VOLT BATTERY REMOVAL AND INSTALLATION ).
  6. Remove the under-cowl panel (see COWL COVER REPLACEMENT ).
  7. Remove the air cleaner (see AIR CLEANER REMOVAL/INSTALLATION ).
  8. Disconnect the battery cables (A) from the battery terminal fuse box.
    Fig 2: Identifying Battery Cables
    G06428771Courtesy of AMERICAN HONDA MOTOR CO., INC.
  9. Remove the harness clamps (B).
  10. Remove the harness clamp (A).
    Fig 3: Identifying Harness Clamp And Battery Base
    G06428772Courtesy of AMERICAN HONDA MOTOR CO., INC.
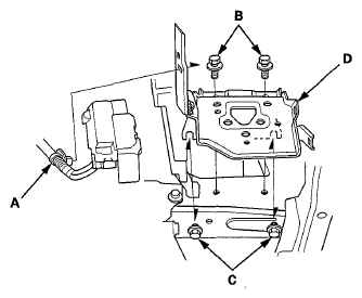
  11. Remove the two bolts (B) and loosen the two bolts (C), then remove the, battery base (D).
  12. Remove the powertrain control module (PCM) cover.
    Fig 4: Identifying Powertrain Control Module (PCM) Cover
    G06428773Courtesy of AMERICAN HONDA MOTOR CO., INC.
  13. Disconnect the PCM connectors (A) and the engine wire harness connector (B).
    Fig 5: Identifying PCM Connectors And Engine Wire Harness Connector
    G06428774Courtesy of AMERICAN HONDA MOTOR CO., INC.
  14. Remove the harness clamp (C) and the harness holder (D), then remove the PCM (E).
  15. Disconnect the evaporative emission (EVAP) canister hose (A) and the brake booster vacuum hose (B).
    Fig 6: Identifying Evaporative Emission (EVAP) Canister Hose And Brake Booster Vacuum Hose
    G06428775Courtesy of AMERICAN HONDA MOTOR CO., INC.
  16. Remove the fuel feed hose clamp bracket (A) and the quick-connect fitting cover (B), then disconnect the fuel feed hose (C) (see FUEL LINE/QUICK-CONNECT FITTING REMOVAL ).
    Fig 7: Identifying Fuel Feed Hose Clamp Bracket, Quick-Connect Fitting Cover And Fuel Feed Hose
    G06428776Courtesy of AMERICAN HONDA MOTOR CO., INC.
  17. Disconnect the secondary heated oxygen sensor (secondary HO2S) connector (A), then remove the secondary HO2S harness from the clamps (B).
    Fig 8: Identifying Secondary Heated Oxygen Sensor Connector And Clamps
    G06428777Courtesy of AMERICAN HONDA MOTOR CO., INC.
  18. Remove the steering joint cover (see step 6 underSTEERING GEARBOX REMOVAL AND INSTALLATION ).
  19. Install the steering wheel holder tool (see step 10 underSTEERING GEARBOX REMOVAL AND INSTALLATION ).
  20. Remove the steering joint from the steering gearbox pinion shaft (see step 11 under STEERING GEARBOX REMOVAL AND INSTALLATION ).
  21. Remove the radiator cap.
  22. Raise the vehicle on the lift to full height.
  23. Remove the front wheels.
  24. Remove the splash shields.
    Fig 9: Identifying Splash Shields
    G06428778Courtesy of AMERICAN HONDA MOTOR CO., INC.
  25. Remove the drive belt (see DRIVE BELT INSPECTION ).
  26. Loosen the drain plug in the radiator, and drain the engine coolant (see COOLANT CHECK ).
  27. Drain the engine oil (see ENGINE OIL REPLACEMENT ).
  28. Drain the transmission fluid (see CVT FLUID REPLACEMENT ).
  29. Remove the harness clamp (A).
  30. Fig 10: Identifying Under-Floor Three Way Catalytic Converter
    G06428779Courtesy of AMERICAN HONDA MOTOR CO., INC.
  31. Remove the under-floor three way catalytic converter (under-floor TWC).
  32. Remove the stabilizer links from the stabilizer (see STABILIZER LINK REMOVAL/INSTALLATION ).
  33. Separate the knuckles from the lower arms (see step 4 under LOWER ARM REMOVAL/INSTALLATION ).
  34. Separate the tie-rod end ball joint from the knuckles (see step 9 under KNUCKLE/HUB/WHEEL BEARING REPLACEMENT ).
  35. Disconnect the EPS motor connector and the torque sensor connector (see step 20 under STEERING GEARBOX REMOVAL AND INSTALLATION ).
  36. Remove the driveshaft heat shield.
    Fig 11: Identifying Driveshaft Heat Shield
    G06428780Courtesy of AMERICAN HONDA MOTOR CO., INC.
  37. Remove the driveshafts (see DRIVESHAFT INSPECTION ). Coat all precision-finished surfaces with clean engine oil. Tie a plastic bags over the driveshaft ends.
  38. Remove the A/C compressor without disconnecting the A/C hoses. Do not bend A/C hoses excessively.
    Fig 12: Identifying A/C Compressor
    G06428781Courtesy of AMERICAN HONDA MOTOR CO., INC.
  39. Lower the vehicle on the lift.
  40. Remove the radiator (see RADIATOR REPLACEMENT ).
  41. Disconnect the heater hoses.
    Fig 13: Disconnecting Heater Hoses
    G06428782Courtesy of AMERICAN HONDA MOTOR CO., INC.
  42. Disconnect the IMA power cable connector and the harness clamp.
    NOTE:
    • If the IMA power cable connector is dirty, clean it before removal.
    • Cover the disconnected connector with plastic bag, and wrap the IMA power cable terminal with tape.
    • If the IMA power cable is wet, wait until it dry.
    Fig 14: Identifying IMA Power Cable Connector
    G06428783Courtesy of AMERICAN HONDA MOTOR CO., INC.
  43. Remove the shift cable (see SHIFT CABLE REPLACEMENT ).
  44. Remove the canister purge hose (A).
    Fig 15: Identifying Canister Purge Hose
    G06428784Courtesy of AMERICAN HONDA MOTOR CO., INC.
  45. Install the universal lifting eyelet to the air cleaner bracket hole (B) with a bolt (C) and a nut (D).
  46. Remove the harness clamp (A) from its clamp bracket (B) located in front of the damper top.
    Fig 16: Identifying Harness Clamp And Clamp Bracket
    G06428785Courtesy of AMERICAN HONDA MOTOR CO., INC.
  47. Set up the engine support hanger (AAR-T1256). Carefully position the engine support hanger to the vehicle; position both cross-arm foot bases (C) over the harness clamp brackets on both sides, and position both fronts stands on the front bulkhead. Attach the hook to the slotted hole in the universal eyelet, tighten the wing nut by hand, and lift and support the engine/IMA motor/transmission.
    NOTE: Be careful when working around the windshield.
  48. Raise the vehicle on the lift to full height.
  49. Support the transmission with a jack and wood block under the transmission.
  50. Remove the torque rod (A).
    Fig 17: Identifying Torque Rod
    G06428786Courtesy of AMERICAN HONDA MOTOR CO., INC.
  51. Remove the jack and wood block from under transmission.
  52. Support the front subframe with a transmission jack and wood block under the front subframe.
  53. Remove the front subframe bolts.
    Fig 18: Identifying Front Subframe
    G06428787Courtesy of AMERICAN HONDA MOTOR CO., INC.
  54. Lower front subframe and steering gearbox as an assembly by lowering the jack slowly, then remove the assembly from under the vehicle.
  55. Lower the vehicle on the lift.
  56. Install the universal lifting eyelet to cam chain case.
    Fig 19: Identifying Universal Lifting Eyelet
    G06428788Courtesy of AMERICAN HONDA MOTOR CO., INC.
  57. Attach the chain hoist to the universal lifting eyelet (A) and the transmission hook (B). Lift the engine/IMA motor/transmission until it is securely supported by the chain hoist, then remove the engine support hanger.
    NOTE: Wrap the VSA modulator-control unit with the clean shop towel.
    Fig 20: Lifting Engine/IMA Motor/Transmission
    G06428789Courtesy of AMERICAN HONDA MOTOR CO., INC.
  58. Remove the harness holder mounting bolt (A) and the ground cable (B), then remove the harness holder (C).
    Fig 21: Identifying Harness Holder Mounting Bolt, Ground Cable And Harness Holder
    G06428790Courtesy of AMERICAN HONDA MOTOR CO., INC.
  59. Remove the transmission mount bracket (D).
  60. Remove the ground cable (A), then remove the side engine mount/bracket assembly (B).
    Fig 22: Identifying Ground Cable And Engine Mount/Bracket Assembly
    G06428791Courtesy of AMERICAN HONDA MOTOR CO., INC.
  61. Check that the engine/IMA motor/transmission is completely free of vacuum hoses, fuel and coolant hoses, and electrical wiring.
  62. Slowly lower the engine/IMA motor/transmission about 150 mm (6 in). Check once again that all hoses and electrical wiring are disconnected and free from the engine/IMA motor/transmission, then lower it all the way.
  63. Disconnect the chain hoist from the engine/IMA motor/transmission.
  64. Raise the vehicle, and remove the engine/IMA motor/transmission from under the vehicle.