lemon-mirror:
Home >> Honda >> 2011 >> Insight Base >> Repair and Diagnosis >> Engine Mechanical >> Mechanical >> Engine Block >> Crankshaft Installation

Crankshaft Installation

Special Tools Required 

  1. Check the connecting rod bearing clearance with plastigage (see CONNECTING ROD BEARING REPLACEMENT  ).
  2. Check the main bearing clearance with plastigage (see CONNECTING ROD AND CRANKSHAFT END PLAY INSPECTION  ).
  3. Install the bearing halves in the engine block and the connecting rods.
  4. Apply new engine oil to the main bearings and the rod bearings.
  5. Install the crankshaft position (CKP) pulse plate (A) on the crankshaft (B); face the marked side (C) opposite the crankshaft, and align the tab (D) on the CKP pulse plate with the groove (E) on the crankshaft.
    Fig 1: Aligning Tab On CKP Pulse Plate With Groove On Crankshaft With Torque Specifications
    G06429015Courtesy of AMERICAN HONDA MOTOR CO., INC.
  6. Hold the crankshaft so rod journal No. 2 and rod journal No. 3 are straight up, and lower the crankshaft into the engine block.
  7. Apply new engine oil to the thrust washer surfaces. Install the thrust washers (A) in the No. 4 journal of the engine block.
    Fig 2: Identifying Thrust Washer
    G06429016Courtesy of AMERICAN HONDA MOTOR CO., INC.
  8. Inspect the connecting rod bolts (see IF THE CRANKSHAFT IS NOT INSTALLED  ).
  9. Apply new engine oil to the threads of the connecting rod bolts.
  10. Seat the rod journals into connecting rod No. 1 and the connecting rod No. 4. Line up the mark (A) on the connecting rod and cap, then install the caps and the bolts finger-tight.
    Fig 3: Aligning Mark Connecting Rod And Cap
    G06429017Courtesy of AMERICAN HONDA MOTOR CO., INC.
  11. Rotate the crankshaft clockwise, and seat the rod journals into connecting rod No. 2 and connecting rod No. 3. Line up the mark on the connecting rod and the cap, then install the caps and the bolts finger-tight.
  12. Tighten the connecting rod bolts to 9.8 N.m (1.0 kgf.m, 7.2 lbf.ft).
  13. Tighten the connecting rod bolts an additional 90 °.
    NOTE: Remove the connecting rod bolt if you tightened it beyond the specified angle, and go back to step 10 of the procedure. Do not loosen it back to the specified angle.
    Fig 4: Identifying Connecting Rod Bolts Tightening Angle
    G06429018Courtesy of AMERICAN HONDA MOTOR CO., INC.
  14. Remove all of the old liquid gasket from the bearing cap bridge mating surfaces.
  15. Clean and dry the bearing cap bridge mating surfaces.
  16. Apply liquid gasket (P/N 08717-0004,08718-0003, or 08718-0009) to the engine block mating surface of the bearing cap bridge. Install the component within 5 minutes of applying the liquid gasket.
    NOTE:
    • Apply a 2.5 mm (0.098 in) diameter bead of liquid gasket along the broken line (A).
    • If you apply liquid gasket P/N 08718-0012, the component must be installed within 4 minutes.
    • If too much time has passed after applying the liquid gasket, remove the old liquid gasket and residue, then reapply new liquid gasket.
    Fig 5: Identifying Liquid Gasket Applying Area
    G06429019Courtesy of AMERICAN HONDA MOTOR CO., INC.
  17. Put the bearing cap bridge on the engine block.
  18. Apply new engine oil to the threads of the bearing cap bolts.
  19. Tighten the bearing cap bolts is sequence to 25 N.m (2.5 kgf.m, 18 lbf.ft).
    Fig 6: Identifying Bearing Cap Bolts Tightening Sequence
    G06429020Courtesy of AMERICAN HONDA MOTOR CO., INC.
  20. Tighten the bearing cap bolts an additional 40°.
    Fig 7: Identifying Bearing Cap Bolts Tightening Angle
    G06429021Courtesy of AMERICAN HONDA MOTOR CO., INC.
  21. Clean the excess liquid gasket off the engine block.
  22. Use the driver handle and oil seal driver attachment to drive a new crankshaft oil seal squarely into the block to the specified installed height.
    NOTE: Lubricate the inner lips of the mew crankshaft oil seal with new engine oil before installation, but never lubricate the outside diameter of the seal.
    Fig 8: Tapping Oil Seal
    G06429022Courtesy of AMERICAN HONDA MOTOR CO., INC.
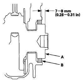
  23. Measure the distance between the crankshaft (A) and the oil seal (B).

    Oil Seal Installed Height: 

    7-8 mm (0.28-0.31 in) 

    Fig 9: Measuring Distance Between Crankshaft And Oil Seal
    G06429023Courtesy of AMERICAN HONDA MOTOR CO., INC.
  24. Install the cylinder head (see ROCKER ARM ASSEMBLY INSTALLATION ).
  25. Install the oil pump (see INSTALLATION ).
  26. Install the oil pan (see CKP PULSE PLATE REPLACEMENT  ).
  27. Install the cam chain (see CAM CHAIN INSTALLATION ).
  28. Connect the CKP sensor connector (A), then install the CKP sensor cover (B).
    Fig 10: CKP Sensor Connector And CKP Sensor Cover With Torque Specifications
    G06429024Courtesy of AMERICAN HONDA MOTOR CO., INC.
  29. Install the harness cover (C).
  30. Install the IMA motor housing (see DRAIN COVER REMOVAL/INSTALLATION ).
  31. Install the transmission (see TRANSMISSION INSTALLATION ).
  32. Install the engine/IMA motor/transmission assembly (see ENGINE INSTALLATION ).
    NOTE: When any crankshaft or connecting rod bearing is replaced, run the engine at idle until it reaches normal operating temperature, then continue to running it for about 15 minutes.