lemon-mirror:
Home >> Honda >> 2012 >> Insight Base >> Repair and Diagnosis >> Transmission >> Automatic Trans >> CVT >> Shift Cable Adjustment

Shift Cable Adjustment

  1. Remove the center console (see CENTER CONSOLE REMOVAL/INSTALLATION ).
  2. Apply the parking brake, and move the shift lever to N.
  3. Remove the nut (A) securing the shift cable end (B).
    Fig 1: Identifying Shift Cable End Nut
    G08093244Courtesy of AMERICAN HONDA MOTOR CO., INC.
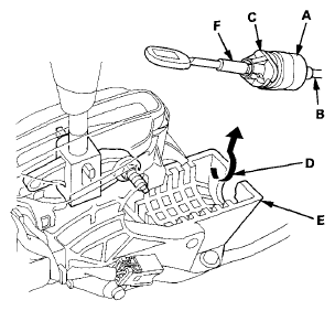
  4. Rotate the socket holder (A) on the shift cable (B) a quarter turn; the corner (C) on the socket holder will be in the opening (D) of the shift lever bracket base (E). Then slide the socket holder to remove the shift cable from the bracket. Do not remove the shift cable by pulling the shift cable guide (F).
    Fig 2: Rotating Socket Holder On Shift Cable
    G08093245Courtesy of AMERICAN HONDA MOTOR CO., INC.
  5. Push the shift cable (A) until it stops, then release it. Pull the shift cable back two steps so that the shift position is in N. Do not hold the shift cable guide (B) to adjust the shift cable.
    Fig 3: Identifying Shift Cable And Guide
    G08093246Courtesy of AMERICAN HONDA MOTOR CO., INC.
  6. Turn the ignition switch to ON (II), and check that the N indicator comes on (A).
    Fig 4: Identifying N Indicator Position
    G08093247Courtesy of AMERICAN HONDA MOTOR CO., INC.
  7. Place the shift lever in N (A), then insert a 6 mm (0.24 in) pin (B) into the positioning holes (C) on the shift lever bracket base and into the positioning hole on the shift lever. Use only a 6.0 mm (0.24 in) pin that is free of burrs.
    Fig 5: Identifying Shift Lever And Pin
    G08093248Courtesy of AMERICAN HONDA MOTOR CO., INC.
  8. Check that the shift lever is secured in N.
  9. Rotate the socket holder (A) on the shift cable (B) to place the corner (C) on the holder opposite the opening (D) in the shift lever bracket base (E). Align the socket holder with the opening in the bracket, then slide the socket holder into the shift lever bracket base. Install the shift cable end (F) over the mounting stud (G) by aligning its square hole with the square fitting (H) at the bottom of the stud. Rotate the holder a quarter turn until the socket holder stops to secure the shift cable. Do not install the shift cable by holding the shift cable guide (I).
    Fig 6: Rotating Socket Holder On Shift Cable
    G08093249Courtesy of AMERICAN HONDA MOTOR CO., INC.
  10. Make sure the shift cable end (A) is properly installed on the mounting stud (B).
    • If the shift cable end is out of position with the mounting stud, remove the shift cable from the shift cable bracket, then reinstall the cable end over the mounting stud before reinstalling the shift cable to the shift cable bracket. Do not install the shift cable end on the mounting stud with the shift cable install on the shift cable bracket.
    • If the cable end does not ride at the bottom of the mounting stud, rotate the stud to align the square fitting with the hole.
      Fig 7: Identifying Proper And Improper Position Of Shift Cable End On Mounting Stud
      G08093250Courtesy of AMERICAN HONDA MOTOR CO., INC.
  11. Secure the shift cable end with the nut (A).
    Fig 8: Shift Cable End With Nut With Torque Specifications
    G08093251Courtesy of AMERICAN HONDA MOTOR CO., INC.
  12. Remove the 6 mm (0.24 in) pin (B) that was installed to hold the shift lever.
  13. Turn the ignition switch to ON (II). Move the shift lever to each position, and check that the A/T gear position indicator follows the transmission range switch.
  14. Shift the shift lever to P, and check that the shift lock works properly. Push the shift lock release, and check that the shift lever releases, and also check that the shift lever locks when it is shifted back into P.
  15. Install the center console (see CENTER CONSOLE REMOVAL/INSTALLATION ).