lemon-mirror:
Home >> Honda >> 2012 >> Ridgeline RT >> Repair and Diagnosis >> Engine Mechanical >> Mechanical >> Engine Assembly >> Engine Removal

Engine Removal

Special Tools Required 

Fig 1: Identifying Engine Removal Special Tools
G00511481Courtesy of AMERICAN HONDA MOTOR CO., INC.
NOTE:
  • Use fender covers to avoid damaging painted surfaces.
  • To avoid damage, unplug the wiring connectors carefully while holding the connector portion.
  • Mark all wiring and hoses to avoid misconnection. Also, be sure that they do not contact other wiring, hoses, or interfere with other parts.

  1. Open the hood, and secure it with the hood support rod (A) in the wide-open position (B).
    Fig 2: Identifying Support Rod
    G00511474Courtesy of AMERICAN HONDA MOTOR CO., INC.
  2. Relieve the fuel pressure (see FUEL PRESSURE RELIEVING ).
  3. Drain the power steering system fluid (see FLUID REPLACEMENT ).
    NOTE: Plug the fluid reservoir and the return hose.
  4. Do the battery removal procedure (see BATTERY REMOVAL AND INSTALLATION ).
  5. Remove the engine cover.
    Fig 3: Identifying Engine Cover
    G05963920Courtesy of AMERICAN HONDA MOTOR CO., INC.
  6. Disconnect the breather pipe (A), then remove the air intake duct (B).
    Fig 4: Identifying Breather Pipe And Air Intake Duct
    G05963921Courtesy of AMERICAN HONDA MOTOR CO., INC.
  7. Remove the harness clamps (A), then remove the battery base (B).
    Fig 5: Identifying Harness Clamps
    G05963922Courtesy of AMERICAN HONDA MOTOR CO., INC.
  8. Remove the ground cable (C), the harness clamps (B) and the starter motor cable (A).
    Fig 6: Identifying Ground Cable, Harness Clamps And Starter Motor Cable
    G05963923Courtesy of AMERICAN HONDA MOTOR CO., INC.
  9. Remove the shift cable (see step 22 on TRANSMISSION REMOVAL ).
  10. Remove the quick-connect fitting cover (A), then disconnect the fuel feed hose (B) (see FUEL LINE/QUICK-CONNECT FITTING REMOVAL ).
    Fig 7: Removing Quick-Connect Fitting Cover
    G05963924Courtesy of AMERICAN HONDA MOTOR CO., INC.
  11. Remove the transfer breather tube box (A) and disconnect the brake booster vacuum hose (B).
    Fig 8: Identifying Transfer Breather Tube Box And Brake Booster Vacuum Hose
    G05963925Courtesy of AMERICAN HONDA MOTOR CO., INC.
  12. Disconnect the EVAP canister hose (C), then remove the EVAP purge joint (D).
  13. Center the steering wheel spokes, and install a commercially available steering wheel holder tool (A).
    Fig 9: Identifying Steering Wheel Holder Tool (A)
    G00511475Courtesy of AMERICAN HONDA MOTOR CO., INC.
  14. Remove the steering joint cover (A).
    Fig 10: Identifying Steering Joint Mark Location
    G00511476Courtesy of AMERICAN HONDA MOTOR CO., INC.
  15. Make a reference mark (B) across the steering joint (C) and steering gearbox pinion shaft (D). Remove the steering joint bolt (E), and loosen the steering joint bolt (F), then disconnect the steering joint from the steering gearbox pinion shaft.
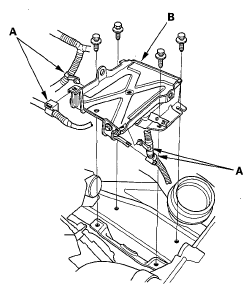
  16. Remove the alternator cable (A) from the under-hood fuse/relay box.
    Fig 11: Identifying Alternator Cable And Harness Connectors
    G05963927Courtesy of AMERICAN HONDA MOTOR CO., INC.
  17. Disconnect the harness connectors (B).
  18. Remove the coolant reservoir from the bracket.
  19. Remove the PCM cover.
    Fig 12: Identifying Powertrain Control Module Cover
    G05963928Courtesy of AMERICAN HONDA MOTOR CO., INC.
  20. Remove the harness clamps (A), then disconnect the two PCM connectors (B).
    Fig 13: Identifying PCM Connectors And Harness Clamps
    G05963929Courtesy of AMERICAN HONDA MOTOR CO., INC.
  21. Remove the drive belt (see DRIVE BELT INSPECTION ).
  22. Disconnect the power steering pump inlet hose (A) and the power steering pump outlet hose (B) from the power steering pump, then plug the power steering hoses and the power steering pump.
    Fig 14: Identifying Power Steering (P/S) Pump Inlet Hose And P/S Pump Outlet Hose
    G05963930Courtesy of AMERICAN HONDA MOTOR CO., INC.
  23. Remove the power steering hose bracket (C) from the rear cylinder head cover.
  24. Remove the radiator cap.
  25. Raise the vehicle on the lift.
  26. Remove the front wheels.
  27. Remove the front splash shield (see FRONT SPLASH SHIELD REPLACEMENT ).
  28. Loosen the drain plug in the radiator, and drain the engine coolant (see COOLANT CHECK ).
  29. Drain ATF (see ATF REPLACEMENT ).
  30. Drain the engine oil (see ENGINE OIL LEVEL CHECK ).
  31. Remove the front subframe stiffener.
    Fig 15: Identifying Front Subframe Stiffener
    G05963932Courtesy of AMERICAN HONDA MOTOR CO., INC.
  32. 2009 - 2011 models: Remove the exhaust pipe A.
    Fig 16: Identifying Exhaust Pipe A ('09-11 Models)
    G05963933Courtesy of AMERICAN HONDA MOTOR CO., INC.
  33. 2012 model: Disconnect the front secondary HO2S connector.
    Fig 17: Identifying Exhaust Pipe A ('12 Model)
    G00511477Courtesy of AMERICAN HONDA MOTOR CO., INC.
  34. 2012 model: Remove the exhaust pipe A.
  35. Separate the tie-rod end ball joints from the knuckles (see step 9 on KNUCKLE/HUB REPLACEMENT ).
  36. Separate the stabilizer links from the dampers (see STABILIZER LINK REMOVAL/INSTALLATION ).
  37. Separate the knuckles from the suspension lower arms (see step 11 on KNUCKLE/HUB REPLACEMENT ).
  38. Remove the front driveshafts (see DRIVESHAFT INSPECTION ). Coat all precision-finished surfaces with new engine oil. Tie plastic bags over the front driveshaft ends.
  39. Remove the propeller shaft from the transfer shaft flange (see PROPELLER SHAFT REMOVAL ).
  40. Remove the transfer assembly (see TRANSFER ASSEMBLY REMOVAL ).
  41. Disconnect the power steering hose (A), then plug the line and the hose.
    Fig 18: Unclamping Power Steering Fluid Line Clamp
    G05963934Courtesy of AMERICAN HONDA MOTOR CO., INC.
  42. Unclamp the power steering fluid line clamp (B) on the front subframe.
  43. Disconnect the power steering pressure switch connector.
    Fig 19: Identifying Power Steering Pressure Switch Connector
    G05963935Courtesy of AMERICAN HONDA MOTOR CO., INC.
  44. Remove the transmission lower front mount nuts and the transmission lower rear mount nuts.
    Fig 20: Identifying Transmission Lower Front And Rear Mount Nuts
    G05963936Courtesy of AMERICAN HONDA MOTOR CO., INC.
  45. Remove the rear engine mount mounting bolts.
    Fig 21: Identifying Rear Mount Bolts
    G05963937Courtesy of AMERICAN HONDA MOTOR CO., INC.
  46. Remove the A/C compressor without disconnecting the A/C hoses. Do not bend the A/C hoses excessively.
    NOTE: Hang the A/C compressor with a wire tie.
    Fig 22: Identifying Bolts
    G05963938Courtesy of AMERICAN HONDA MOTOR CO., INC.
  47. Lower the vehicle on the lift.
  48. Disconnect the heater hoses.
    Fig 23: Identifying Heater Hoses
    G05963939Courtesy of AMERICAN HONDA MOTOR CO., INC.
  49. Disconnect the upper radiator hose (A) and the lower radiator hose (B).
    Fig 24: Identifying Upper And Lower Radiator Hose
    G05963940Courtesy of AMERICAN HONDA MOTOR CO., INC.
  50. Disconnect the ATF cooler hoses from the transmission, then plug the ATF cooler hoses and lines.
    Fig 25: Identifying ATF Cooler Hoses
    G05963941Courtesy of AMERICAN HONDA MOTOR CO., INC.
  51. Remove the radiator (see RADIATOR AND FAN REPLACEMENT ).
  52. Remove the connector bracket from the front cylinder head; use the bracket bolt hole to attach the engine hanger balance bar front arm.
    Fig 26: Identifying Connector Bracket Bolt
    G05963942Courtesy of AMERICAN HONDA MOTOR CO., INC.
  53. Remove the harness clamp bracket from the rear cylinder head; use the bracket bolt hole to attach the 2008 V6 attachment arm (SIL02C000033).
    Fig 27: Identifying Harness Clamp Bracket Bolt
    G05963943Courtesy of AMERICAN HONDA MOTOR CO., INC.
  54. Remove the service caps (A) for the front damper flange nuts from the cowl cover (B). Position the engine hanger adapters (VSB02C000024) with the "FRONT" mark facing forward over the damper flange nuts.
    Fig 28: Identifying Service Caps
    G05963944Courtesy of AMERICAN HONDA MOTOR CO., INC.
  55. Lift and support the engine with the A and Reds engine support hanger (AAR-T1256) and engine balance bar (VSB02C000019). Attach the front arm (A) to a front cylinder head with a spacer (B) and the 10 x 1.25 mm bolt (C). Remove the rear arm from the balance bar, and install the 2008 V6 attachment arm (SIL02C000033), then attach the 2008 V6 attachment arm to the rear cylinder head with a 8 x 1.25 mm bolt (D).
    Fig 29: Attaching 2008 V6 Attachment Arm To Rear Cylinder Head
    G05963945Courtesy of AMERICAN HONDA MOTOR CO., INC.
  56. Install the engine support hanger (AAR-T1256) onto the vehicle as shown, and attach the hook to the slotted hole in the engine hanger balance bar. Tighten the wing nut (E) by hand, and lift and support the engine/transmission.
    NOTE:
    • Be careful when working around the windshield.
    • AAR-T1256 two sets required for stacking additional cross section bar.
  57. Remove the front engine mount stop (A), then remove the front engine mount bolt (B).
    Fig 30: Identifying Front Engine Mount Stop And Bolt
    G05963946Courtesy of AMERICAN HONDA MOTOR CO., INC.
  58. Raise the vehicle on the lift.
  59. Loosen the four bolts (A) holding the adjustable arms (B) of the front subframe adapter (EQS02BMDXSB0) to its center plate.
    Fig 31: Holding Adjustable Arms Of Front Subframe Adapter To Center Plate
    G05963948Courtesy of AMERICAN HONDA MOTOR CO., INC.
  60. Line up the slots in the arms with the bolt holes on the corner of the jack base, then attach the front subframe adapter (A) to the jack base with the bolts (B) that came with the jack. Tighten all bolts securely.
    Fig 32: Attaching Front Subframe Adapter To Jack Base With Bolts With Torque Specifications
    G05963949Courtesy of AMERICAN HONDA MOTOR CO., INC.
  61. Raise the jack to vehicle height, then attach the front subframe adapter to the front subframe using the subframe stiffener mounting bolts (C) and the bolt holes.
  62. Remove the bolt retainers from both ends of the subframe.
    Fig 33: Identifying Bolt Retainers
    G05963950Courtesy of AMERICAN HONDA MOTOR CO., INC.
  63. Remove the six 12 x 1.25 mm bolts (A) securing the subframe stiffeners (B), the four subframe mounting bolts (C), and the stiffeners, then lower the front subframe (D).
    Fig 34: Securing Subframe Stiffeners, Four Subframe Mounting Bolts And Stiffeners And Lower Front Subframe
    G05963951Courtesy of AMERICAN HONDA MOTOR CO., INC.
  64. Lower the vehicle on the lift.
  65. Attach a chain hoist (A) to the engine hanger (B) and the transmission hanger (C), then lift the engine/transmission until it's securely supported by the chain hoist and remove the engine support hanger, the engine hanger balance bar, and the engine hanger adapter set.
    Fig 35: Attaching Chain Hoist To Engine Hook And Transmission Hook
    G05963952Courtesy of AMERICAN HONDA MOTOR CO., INC.
  66. Remove the side engine mount mounting bolts from the upper half of the side engine mount bracket.
    Fig 36: Identifying Engine Mount Bracket Mounting Bolts
    G05963953Courtesy of AMERICAN HONDA MOTOR CO., INC.
  67. Check that the engine/transmission is completely free of the vacuum hoses, the fuel hose, the coolant hoses, and the electrical wiring.
  68. Slowly lower the engine/transmission about 150 mm (5.91 in). Check once again that all the hoses and the electrical wiring are disconnected and free from the engine/transmission, then lower it all the way and support it.
  69. Disconnect the chain hoist from the engine/transmission.
  70. Raise the vehicle all the way, and remove the engine/transmission assembly from under the vehicle.