lemon-mirror:
Home >> Honda >> 2012 >> Ridgeline RT >> Repair and Diagnosis >> Transmission >> Automatic Trans >> Automatic Transmission >> ATF Replacement

ATF Replacement

NOTE: Keep all foreign particles out of the transmission.
  1. Warm up the engine to normal operating temperature (the radiator fan comes on), and turn the engine off.
  2. Park the vehicle on level ground.
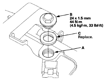
  3. Remove the ATF filler bolt and the drain plug (A), and drain the automatic transmission fluid (ATF).
    NOTE: If a cooler cleaning is done, refer to ATF Cooler Cleaning (see ATF COOLER CLEANING ).
    Fig 1: Drain Plug And Sealing Washer With Torque Specifications
    G06628764Courtesy of AMERICAN HONDA MOTOR CO., INC.
  4. Reinstall the drain plug with a new sealing washer (B).
  5. Refill the transmission with the recommended fluid through the filler hole (A). Always use Honda ATF-Z1 Automatic Transmission Fluid (ATF). Using a non-Honda ATF can affect shift quality.

    Automatic Transmission Fluid Capacity: 

    3.1 L (3.3 US qt) at change 

    8.0 L (8.5 US qt) at overhaul 

    Fig 2: Filler Hole, ATF Filler Bolt And Sealing Washer With Torque Specifications
    G06628765Courtesy of AMERICAN HONDA MOTOR CO., INC.
  6. Install the ATF filler bolt (B) and a new sealing washer (C).
  7. Check that the ATF level is between the upper mark and the lower mark of the dipstick (see ATF LEVEL CHECK ).
  8. If the maintenance minder required to replace the ATF, reset the maintenance minder (see RESETTING THE MAINTENANCE INFORMATION DISPLAY ), and this procedure is complete. If the maintenance minder did not require you to replace the ATF, go to step  9.
  9. Connect the HDS to the DLC located behind the driver's dashboard lower cover.
  10. Turn the ignition switch to ON (II). Make sure the HDS communicates with the PCM. If it does not, go to the DLC circuit troubleshooting (see DLC CIRCUIT TROUBLESHOOTING ).
  11. Select BODY ELECTRICAL with the HDS.
  12. Select ADJUSTMENT in the GAUGES MENU with the HDS.
  13. Select RESET in the MAINTENANCE MINDER with the HDS.
  14. Select MAINTENANCE SUB ITEM 3 RESET, and reset the ATF life with the HDS.