lemon-mirror:
Home >> Hyundai >> 2004 >> Elantra GLS, Automatic >> Repair and Diagnosis >> Electrical >> Starters >> Component Locations

Component Locations

COMPONENT LOCATIONS

Component Location
Battery Left Front Of Engine Compartment. See Fig 1 .
Engine Compartment Relay & Fuse Box Left Side Of Engine Compartment, In Front Of Strut Tower. See Fig 1 .
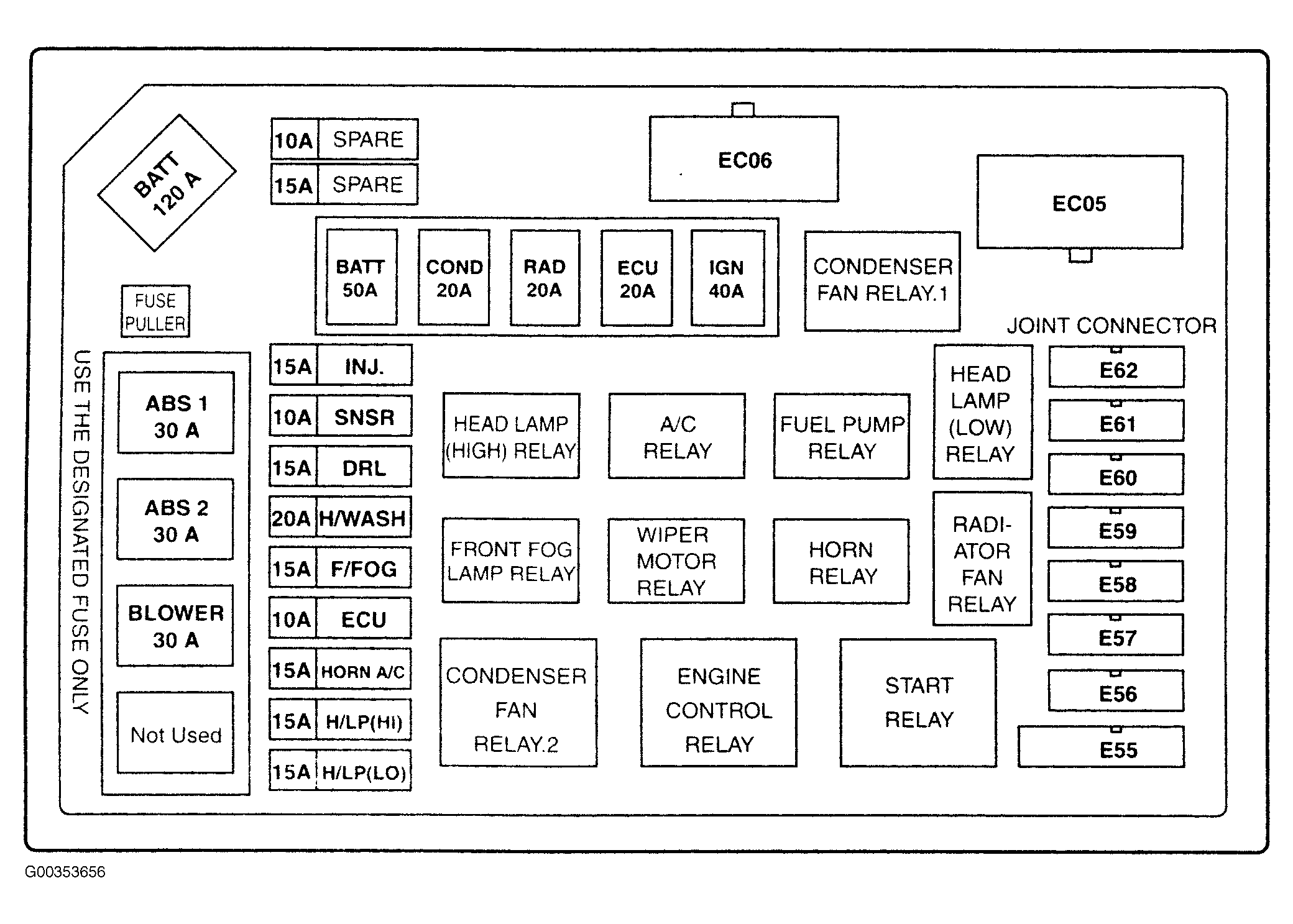
Fusible Link In Engine Compartment Relay & Fuse Box. See Fig 2 .
Passenger Compartment Junction Block Under Left Side Of Dash, Near Kick Panel. See Fig 3 .
Starter Left Front Of Engine. Fig 4 .
Starter Clutch Pedal Position Switch Under Left Side Of Dash. Fig 5 .
Starter Relay In Engine Compartment Fuse Box. See Fig 2 .
Transaxle Range Switch On Top Left Of Transaxle. Fig 6 .
Fig 1: Locating Battery, Starter & Engine Compartment Relay & Fuse Box
G00330197Courtesy of HYUNDAI MOTOR CO.
Fig 2: Locating Starter Relay
G00353656Courtesy of HYUNDAI MOTOR CO.
Fig 3: Locating Passenger Compartment Junction Block
G00103479Courtesy of HYUNDAI MOTOR CO.
Fig 4: Locating Starter
G00355773Courtesy of HYUNDAI MOTOR CO.
Fig 5: Locating Starter Clutch Pedal Position Switch
G00355774Courtesy of HYUNDAI MOTOR CO.
Fig 6: Locating Transaxle Range Switch
G00355775Courtesy of HYUNDAI MOTOR CO.