lemon-mirror:
Home >> Infiniti >> 1997 >> J30 Base >> Repair and Diagnosis >> Engine Performance >> System >> Engine Controls - Basic Testing 3.0 >> Ignition Checks >> DISTRIBUTORLESS Ignition System Checks >> ECCS Relay

ECCS Relay

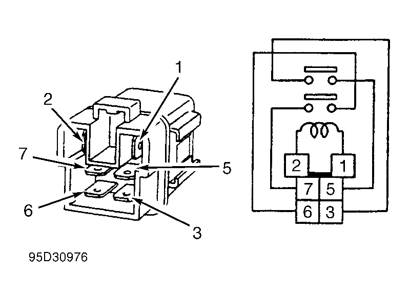
  1. Remove ECCS relay. See Fig 2 . Connect a 12-volt power source and ground to terminals No. 1 and 2 of relay. See Fig 1 . Using ohmmeter, check continuity between terminals No. 3 and 5 and terminals No. 6 and 7. Continuity should exist while relay is energized.
  2. Disconnect power source and repeat continuity check. No continuity should exist. If continuity is not as specified, replace ECCS relay.
Fig 1: Checking ECCS Power Relay Continuity
G95D30976Courtesy of NISSAN MOTOR CO., U.S.A.
Fig 2: Locating ECCS Relay
G96H10774Courtesy of NISSAN MOTOR CO., U.S.A.