lemon-mirror:
Home >> Infiniti >> 2001 >> Q45 Base >> Repair and Diagnosis >> Engine Performance >> System >> Engine Controls - Self-Diagnostics >> Diagnostic Tests >> DTC P1447: EVAP Control System Purge Flow Monitoring >> Procedure

DTC P1447: EVAP Control System Purge Flow Monitoring: Procedure

  1. Inspect EVAP canister for cracks. Replace, if necessary and retest system. If EVAP canister is not cracked, start engine and warm to normal operating temperature. Turn ignition off. Disconnect vacuum hose from EVAP-CPCV. See Figure. Install vacuum gauge with a "T" between vacuum hose and EVAP-CPCV. Start engine and let it idle for at least 60 seconds. Observe vacuum gauge while increasing engine speed to 2000 RPM. Vacuum should exist. Release throttle. Vacuum should not exist. If vacuum is as specified, go to step  6. If vacuum is not as specified, go to next step.
  2. Turn ignition off. Disconnect purge hoses from EVAP-CPCV and EVAP-CPVCV. Ensure air flows through hoses and purge port freely. Ensure vacuum check valve is installed properly. See VACUUM DIAGRAMS article. Repair as necessary and retest system. If no problems are found, go to next step.
  3. Attempt to blow air into port on colored side of vacuum check valve. Air should not flow. Blow air into port on other side of vacuum check valve. Air should flow. If operation is as specified, go to next step. If operation is not as specified, replace vacuum check valve and retest system.
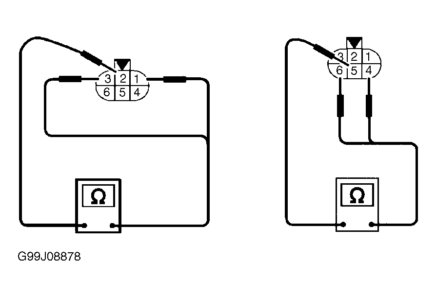
  4. Turn ignition off. Disconnect EVAP-CPVCV harness connector. Measure resistance between the following EVAP-CPVCV terminals:
    • Terminals No. 2 and 1.
    • Terminals No. 2 and 3.
    • Terminals No. 5 and 4.
    • Terminals No. 5 and 6.

    See Figure. Resistance should be about 35-43 ohms at 77°F (25°C). If resistance is as specified, go to next step. If resistance is not as specified, replace EVAP-CPVCV and retest system.

  5. Reconnect EVAP-CPVCV harness connector. Remove EVAP-CPVCV from intake manifold. While observing EVAP-CPVCV shaft, turn ignition on and off. EVAP-CPVCV shaft should move smoothly forward and backward, according to ignition switch position. If operation is as specified, test is complete. If operation is not as specified, replace EVAP-CPVCV and retest system.
  6. Turn ignition off. Disconnect EVAP-CPVCV harness connector. Measure resistance between the following EVAP-CPVCV terminals:
    • Terminals No. 2 and 1.
    • Terminals No. 2 and 3.
    • Terminals No. 5 and 4.
    • Terminals No. 5 and 6.

    See Figure. Resistance should be about 35-43 ohms at 77°F (25°C). If resistance is as specified, go to next step. If resistance is not as specified, replace EVAP-CPVCV and retest system.

  7. Reconnect EVAP-CPVCV harness connector. Remove EVAP-CPVCV from intake manifold. While observing EVAP-CPVCV shaft, turn ignition on and off. EVAP-CPVCV shaft should move smoothly forward and backward, according to ignition switch position. If operation is as specified, go to next step. If operation is not as specified, replace EVAP-CPVCV and retest system.
  8. Remove EVAP-CPCS. Using jumper wires, apply battery voltage between EVAP-CPCS terminals. See Figure. Air should flow between ports "A" and "B". Air should not flow between ports "A" and "C". Remove jumper wires. Air should not flow between ports "A" and "B". Air should flow between ports "A" and "C". EVAP-CPCS should switch in one second or less. If operation is as specified, go to next step. If operation is not as specified, replace EVAP-CPCS and retest system.
  9. Remove EVAP-CPCV. See Figure. Blow air into ports "A" and "C". See Figure. Air should not flow or leak. Blow air into port "B". There should be resistance to flow out of port "C". Apply 3.9-5.9 in. Hg (13.3-20.0 kPa) of vacuum to port "A". Blow into port "C". Air should flow freely out of port "B". If operation is as specified, go to next step. If operation is not as specified, replace EVAP-CPCV and retest system.
  10. Check EVAP-CSPS and circuit. See DTC P0450: EVAP CONTROL SYSTEM PRESSURE SENSOR (EVAP-CSPS) . Repair as necessary and retest system. If EVAP-CSPS and circuit are okay, go to next step.
  11. Remove EVAP-CVCV. See Figure. Using jumper wires, apply battery voltage between EVAP-CVCV terminals. See Figure. Check for airflow between ports "A" and "B". Air should not flow. Remove jumper wires. Air should flow. EVAP-CVCV should switch in one second or less. Replace EVAP-CVCV if it does not operate as specified, or if rust exists in port "B". If EVAP-CVCV is okay, go to next step.
  12. Check EVAP purge line for leaks. Replace, if necessary. If EVAP purge line is okay, clean with compressed air. Test is complete. Problem may be intermittent. See INTERMITTENTS in TROUBLE SHOOTING - NO CODES article.