lemon-mirror:
Home >> Jeep >> 2005 >> Wrangler X, Automatic >> Repair and Diagnosis >> Electrical >> Charging Systems >> Battery System >> Battery >> Installation

Battery System: Battery: Installation

  1. Clean and inspect all of the battery system components. Refer to Battery System CLEANING  for the proper cleaning procedures, and refer to Battery System INSPECTION  for the proper inspection procedures.
  2. Reinstall the battery thermal guard onto the battery case.
  3. Position the battery and the battery thermal guard onto the battery tray as a unit. Ensure that the battery positive and negative terminal posts are correctly positioned. The battery cable terminal clamps must reach the correct battery terminal post without stretching the cables. See Fig 1.
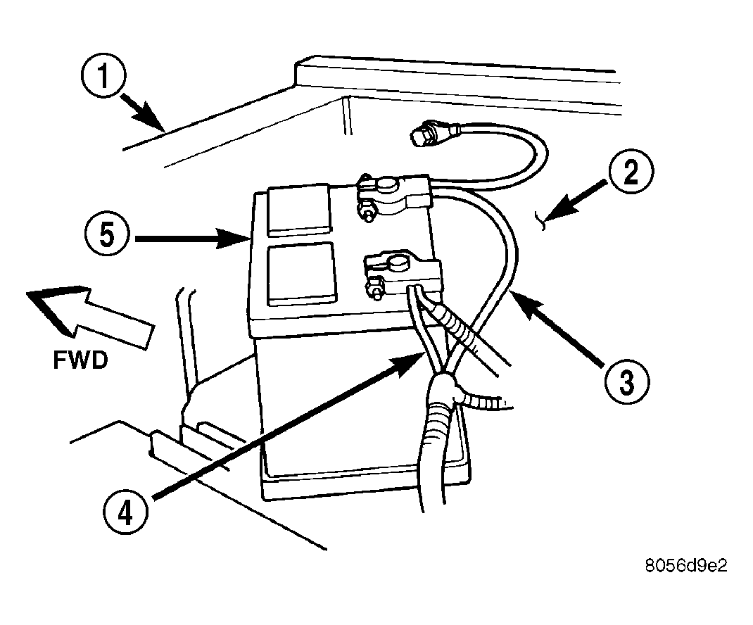
    Fig 1: Battery Cables - Typical
    GC0026356Courtesy of DAIMLERCHRYSLER CORP.
    1 - RADIATOR CROSSMEMBER
    2 - WHEELHOUSE INNER PANEL
    3 - NEGATIVE CABLE
    4 - POSITIVE CABLE
    5 - BATTERY
  4. Reinstall the battery holddowns onto the battery. Refer to BATTERY HOLDDOWN  for the proper installation procedure.
    CAUTION: Be certain that the battery cable terminal clamps are connected to the correct battery terminal posts. Reversed battery polarity may damage electrical components of the vehicle.
  5. Clean the battery cable terminal clamps and the battery terminal posts. Refer to Battery System CLEANING  for cleaning procedure.
  6. Reconnect the battery positive cable terminal clamp to the battery positive terminal post. Tighten the terminal clamp pinch-bolt hex nut to 8.4 N.m (75 in. lbs.).
  7. Reconnect the battery negative cable terminal clamp to the battery negative terminal post. Tighten the terminal clamp pinch-bolt hex nut to 8.4 N.m (75 in. lbs.).
  8. Apply a thin coating of petroleum jelly or chassis grease to the exposed surfaces of the battery cable terminal clamps and the battery terminal posts.