lemon-mirror:
Home >> Lexus >> 2004 >> RX 330 FWD >> Repair and Diagnosis >> General Information >> Towing >> Introduction >> Repair Instruction >> Precaution >> Notes

Repair Instruction: Precaution: Notes

  1. BASIC REPAIR HINT 
    1. HINTS ON OPERATIONS
      Fig 1: Identifying Repair Instruction
      G03478823Courtesy of © TOYOTA, LICENSE AGREEMENT TMS1002
    2. JACKING UP AND SUPPORTING VEHICLE
      1. Care must be taken when jacking up and supporting the vehicle. Be sure to lift and support vehicle at the proper locations (See VEHICLE LIFT AND SUPPORT LOCATIONS  ).
    3. PRECOATED PARTS
      1. Precoated parts such as bolts, nuts, etc., are coated with a seal lock adhesive at the factory.
      2. If a precoated part is retightened, loosened or caused to move in any way, it must be recoated with the specified adhesive.
        Fig 2: Identifying Seal Lock Adhesive
        G03478824Courtesy of © TOYOTA, LICENSE AGREEMENT TMS1002
      3. When reusing precoated parts, clean off the old adhesive and dry the part with compressed air. Then apply the specified seal lock adhesive to the bolt, nut or threads.
        NOTE: Check the torque with the lower limit value of the torque tolerance.
      4. Depending on the seal lock agent to be applied, there may be cases where it is necessary to leave it for a specified time until it hardens.
    4. GASKETS
      1. When necessary, use a sealer on gaskets to prevent leaks.
    5. BOLTS, NUTS AND SCREWS
      1. Carefully follow all the specifications for tightening torques. Always use a torque wrench.
    6. FUSES
      1. When replacing fuses, be sure that a new fuse has the correct amperage rating. DO NOT exceed the rating, or use one with a lower rating.
        Fig 3: Identifying Fuse
        G03478825Courtesy of © TOYOTA, LICENSE AGREEMENT TMS1002
        Fig 4: Identifying Fuse Specification Chart
        G03478826Courtesy of © TOYOTA, LICENSE AGREEMENT TMS1002
    7. CLIPS
      1. The removal and installation methods of typical clips used in body parts are shown in Fig 5 & Fig 6 .

      HINT:

      If the clip is damaged during a procedure, always replace it with a new clip.

      Fig 5: Identifying Removal And Installation Methods Of Typical Clips Used In Body Parts (1 Of 2)
      G03478827Courtesy of © TOYOTA, LICENSE AGREEMENT TMS1002
      Fig 6: Identifying Removal And Installation Methods Of Typical Clips Used In Body Parts (2 Of 2)
      G03478828Courtesy of © TOYOTA, LICENSE AGREEMENT TMS1002
    8. REMOVAL AND INSTALLATION OF VACUUM HOSES
      1. To disconnect vacuum hoses, pull them by holding the end, not the middle of the hose.
        Fig 7: Showing Wrong Way Of Removal And Installation Of Vacuum Hoses
        G03478829Courtesy of © TOYOTA, LICENSE AGREEMENT TMS1002
      2. When disconnecting vacuum hoses, use tags to identify where they should be reconnected.
      3. After completing the job, double check that the vacuum hoses are properly connected. The label under the hood shows the proper layout.
      4. When using a vacuum gauge, never force the hose onto a connector that is too large. Use a step-down adapter for adjustment. Once the hose has been stretched, it may leak air.
        Fig 8: Identifying Tag
        G03478830Courtesy of © TOYOTA, LICENSE AGREEMENT TMS1002
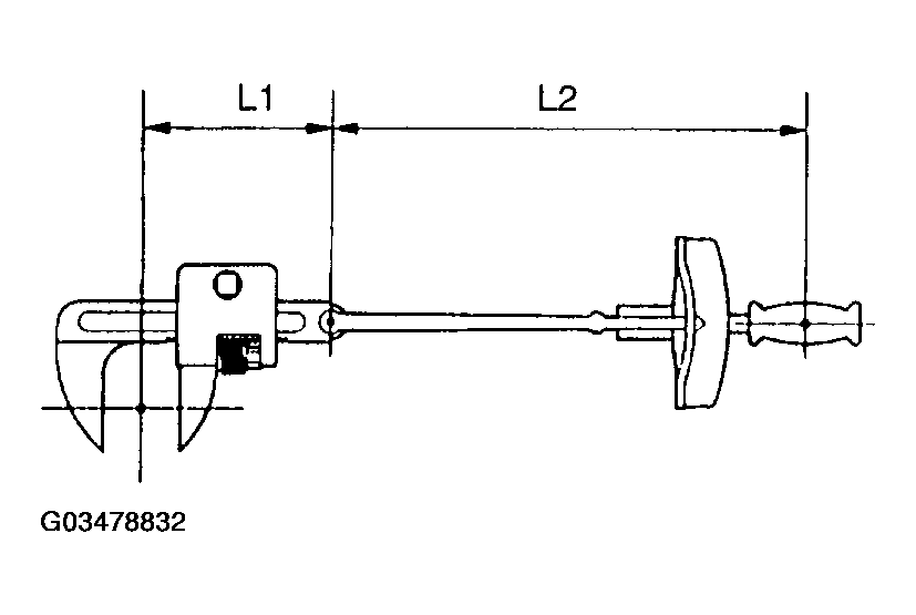
      Fig 9: Identifying Dimension Of Torque Wrench With Extension Tool
      G03478831Courtesy of © TOYOTA, LICENSE AGREEMENT TMS1002
    9. TORQUE WHEN USING TORQUE WRENCH WITH EXTENSION TOOL
      1. When the torque wrench is combined with SST or an extension tool to extend the length, and you tighten until the torque wrench reads the specified torque value, the actual torque becomes excessive.
      2. In this information, only the specified torque is described. In case of using SST or extension tool, calculate the reading of the torque wrench by the following formula.
      3. Formula T'=T x L2/(L1 + L2)
      TORQUE SPECIFICATION CHART

      T' Reading of torque wrench {N.m (kgf.cm, ft.lbf)}
      T Torque {N.m (kgf.cm, ft.lbf)}
      L1 Length of SST or extension tool (cm)
      L2 Length of torque wrench (cm)
      Fig 10: Identifying Dimension Of Torque Wrench With Extension Tool
      G03478832Courtesy of © TOYOTA, LICENSE AGREEMENT TMS1002
  2. FOR VEHICLES EQUIPPED WITH SRS AIRBAG AND SEAT BELT PRETENSIONER 

    HINT:

    The LEXUS RX330 is equipped with an SRS (Supplemental Restraint System), which includes the driver bag, front passenger airbag, side airbag, curtain shield airbag and seat belt pretensioner.

    Failure to carry out the service operations in the correct sequence could cause the supplemental restraint system to unexpectedly deploy while servicing. This could cause a serious accident.

    Furthermore, if a mistake is made when servicing the supplemental restraint system, it is possible that the SRS will fail to operate when required. Before servicing (including removal or installation of parts, inspection or replacement), be sure to read the following items carefully. Then follow the correct procedures described in this information.

    1. GENERAL NOTICE
      1. Malfunction symptoms of the supplemental restraint system are difficult to confirm so the diagnostic trouble codes become the most important source of information when troubleshooting. When troubleshooting the supplemental restraint system, always check the diagnostic trouble codes before disconnecting the battery (See DIAGNOSTICS ).
      2. Work must be started after 90 seconds from the time that the ignition switch is turned to the LOCK position and the negative (-) terminal cable is disconnected from the battery.

        (The supplemental restraint system is equipped with a back-up power source. So, if work is started within 90 seconds after disconnecting the negative (-) terminal cable from the battery, the SRS may deploy).

        When the negative (-) terminal cable is disconnected from the battery, memory of the clock and audio systems is cancelled. So, before starting work, make a record of the contents recorded in each memory system. Then, when work is finished, reset the clock and audio systems as before.

      3. Even in the case of a minor collision where the SRS does not deploy, the horn button assembly (See AIR BAG RESTRAINT SYSTEMS ), instrument panel passenger airbag assembly (See INSTRUMENT PANEL ), instrument panel lower airbag assembly (See KNEE IMPACT AIR BAG MODULE ), front seat airbag assembly (See FRONT SEAT ) curtain shield airbag assembly (See CURTAIN AIR BAG MODULE ) and seat belt pretensioner (See SEAT BELT PRETENSIONER ) should be inspected.
      4. Never use the SRS related parts from another vehicle. When replacing the parts, replace them with new parts.
      5. Before repairs, remove the airbag sensor if there is a possibility during repairs.
      6. Never disassemble and repair the airbag sensor assembly, horn button assembly, instrument panel passenger airbag assembly, front seat airbag assembly, curtain shield airbag assembly or seat belt pretensioner.
      7. If the airbag sensor assembly, the side airbag sensor assembly, the horn button assembly, the instrument panel passenger airbag assembly, the front seat airbag assembly or the curtain shield airbag assembly have been dropped, or if there are cracks, dents or other defects in the case, bracket or connector, replace them with new ones.
      8. Do not directly expose the airbag sensor assembly, the side airbag sensor assembly, the horn button assembly, the instrument panel passenger airbag assembly, the front seat airbag assembly, the curtain shield airbag assembly or the seat belt pretensioner to hot air or flames.
      9. Use a volt/ohmmeter with high impedance (10 kΩ/V minimum) for troubleshooting an electrical circuits.
      10. Information labels are attached to the SRS components. Follow the instructions on the notices.
      11. After work on the supplemental restraint system is completed, check the SRS warning light (See AIR BAG WARNING LIGHT CHECK ).
    2. SPIRAL CABLE (in Combination Switch)
      1. The steering wheel must be fitted correctly to the steering column with the spiral cable at the neutral position, otherwise cable disconnection and other troubles may occur. Refer to SPIRAL CABLE concerning the correct installation of the steering wheel.
        Fig 11: Identifying Spiral Cable Mark
        G03478833Courtesy of © TOYOTA, LICENSE AGREEMENT TMS1002
    3. HORN BUTTON ASSEMBLY (with Airbag)
      1. When removing the horn button assembly or handling a new horn button, it should be placed with the top of the pad surface facing upward. Placing it with the pad surface facing downward may lead to a serious accident if the airbag deploys for some reasons. Also, do not place anything on the top of the horn button.
      2. Never measure the resistance of the airbag squib (This may cause the airbag to inflate, which is very dangerous).
      3. Grease should not be applied to the horn button assembly, and the pad should not be cleaned with any type of detergents.
      4. Store the horn button assembly where the ambient temperature remains below 93°C (200°F), without high humidity and away from electrical noise.
      5. When using electric welding, disconnect the airbag connector (4 yellow pins) under the steering column near the combination switch connector before starting work.
      6. When disposing of the vehicle or the horn button assembly unit, the airbag should be deployed using SST before disposal (See DISPOSAL PROCEDURES ).

      Activate in a safe place away from electrical noise.

      Fig 12: Showing Wrong And Right Way Of Disposing Horn Button Assembly Unit
      G03478834Courtesy of © TOYOTA, LICENSE AGREEMENT TMS1002
      Fig 13: Showing Wrong And Right Way Of Handling Electrical Components
      G03478835Courtesy of © TOYOTA, LICENSE AGREEMENT TMS1002
    4. INSTRUMENT PANEL PASSENGER AIRBAG ASSEMBLY
      1. Always place a removed or new instrument panel passenger airbag assembly with the airbag inflation direction facing upward. Placing the airbag assembly with the airbag inflation direction facing downward could cause a serious accident if the airbag deploys.
      2. Never measure the resistance of the airbag squib (This may cause the airbag to inflate, which is very dangerous).
      3. Grease should not be applied to the instrument panel passenger airbag assembly and the airbag door should not be cleaned with detergents of any kind.
      4. Store the airbag assembly where the ambient temperature remains below 93°C (200°F), without high humidity and away from electrical noise.
      5. When using electric welding, disconnect the airbag connector (4 yellow pins) installed on the assembly before starting work.
      6. When disposing of a vehicle or the airbag assembly unit, the airbag should be deployed using SST before disposal (See DISPOSAL PROCEDURES ).

      Activate in a safe place away from electrical noise.

      Fig 14: Showing Wrong And Right Way Of Disposing Airbag Assembly Unit
      G03478836Courtesy of © TOYOTA, LICENSE AGREEMENT TMS1002
      Fig 15: Showing Wrong And Right Way Of Handling Electrical Components
      G03478837Courtesy of © TOYOTA, LICENSE AGREEMENT TMS1002
    5. INSTRUMENT PANEL LOWER AIRBAG ASSEMBLY
      1. Always place a removed or new instrument panel lower airbag assembly with the airbag inflation direction facing upward. Placing the airbag assembly with the airbag inflation direction facing downward could cause a serious accident if the airbag deploys.
      2. Never measure the resistance of the airbag squib (This may cause the airbag to inflate, which is very dangerous).
      3. Grease should not be applied to the instrument panel passenger airbag assembly, and the airbag door should not be cleaned with detergents of any kind.
      4. Store the airbag assembly where the ambient temperature remains below 93°C (200°F), without high humidity and away from electrical noise.
      5. When using electric welding, disconnect the airbag connector (4 yellow pins) installed on the assembly before starting work.
      6. When disposing of a vehicle or the airbag assembly unit, the airbag should be deployed using SST before disposal (See DISPOSAL PROCEDURES ).

      Activate in a safe place away from electrical noise.

      Fig 16: Showing Wrong And Right Way Of Disposing Airbag Assembly Unit
      G03478838Courtesy of © TOYOTA, LICENSE AGREEMENT TMS1002
      Fig 17: Showing Wrong And Right Way Of Handling Electrical Components
      G03478839Courtesy of © TOYOTA, LICENSE AGREEMENT TMS1002
    6. FRONT SEAT AIRBAG ASSEMBLY
      1. Always place a removed or new front seat airbag assembly with the airbag inflation direction facing upward. Placing the airbag assembly with the airbag inflation direction facing downward could cause a serious accident if the airbag deploys.
      2. Never measure the resistance of the airbag squib (This may cause the airbag to inflate, which is very dangerous).
      3. Grease should not be applied to the front seat airbag assembly, and the airbag door should not be cleaned with detergents of any kind.
      4. Store the airbag assembly where the ambient temperature remains below 93°C (200°F), without high humidity and away from electrical noise.
      5. When using electric welding, disconnect the airbag connector (2 yellow pins) installed on the assembly before starting work.
      6. When disposing of a vehicle or the airbag assembly unit, the airbag should be deployed using SST before disposal (See DISPOSAL PROCEDURES ).

      Activate in a safe place away from electrical noise.

      Fig 18: Showing Wrong And Right Way Of Handling Electrical Components
      G03478840Courtesy of © TOYOTA, LICENSE AGREEMENT TMS1002
    7. CURTAIN SHIELD AIRBAG ASSEMBLY
      1. Always place the removed or new curtain shield airbag assembly in a clear plastic bag, and keep it in a safe place.
        NOTE: Protective bag is not re-useable.
        CAUTION: Never disassemble the curtain shield airbag assembly.
      2. Never measure the resistance of the airbag squib (This may cause the airbag to inflate, which is very dangerous).
      3. Grease should not be attached to the curtain shield airbag assembly, and the surface should not be cleared with detergents of any kind.
      4. Store the airbag assembly where the ambient temperature remains below 93°C (200° F), without high humidity and away from electrical noise.
      5. When using electric welding, disconnect the airbag connector (2 yellow pins) into the instrument panel before starting work.
      6. When disposing of a vehicle or the curtain shield airbag assembly unit, the airbag should be deployed using SST before disposal (See DISPOSAL PROCEDURES ).

      Activate in a safe place away from electrical noise.

      Fig 19: Showing Wrong And Right Way Of Covering Of Curtain Shield Airbag Assembly Unit
      G03478841Courtesy of © TOYOTA, LICENSE AGREEMENT TMS1002
      Fig 20: Showing Wrong And Right Way Of Handling Electrical Components
      G03478842Courtesy of © TOYOTA, LICENSE AGREEMENT TMS1002
    8. SEAT BELT PRETENSIONER
      1. Never measure the resistance of the seat belt pretensioner (This may cause the seat belt pretensioner to activate, which is very dangerous).
      2. Never disassemble the seat belt pretensioner.
      3. Never install the seat belt pretensioner on another vehicle.
      4. Store the seat belt pretensioner where the ambient temperature remains below 80°C (176°F) without high humidity and away from electrical noise.
      5. When using electric welding, disconnect the connector (2 yellow pins) before starting work.
      6. When disposing of a vehicle or the seat belt pretensioner unit, the seat belt pretensioner should be activated before disposal (See DISPOSAL PROCEDURES ). Perform the operation in a safe place away from electrical noise.
      7. The seat belt pretensioner is hot after being activated so allow some time for it to cool down sufficiently before disposal. Never apply water to cool down the seat belt pretensioner.
      8. Oil or water should not be put on the front seat outer belt, and the front seat outer belt should not be cleaned with detergents of any kind.
        Fig 21: Showing Wrong And Right Way Of Handling Electrical Components
        G03478843Courtesy of © TOYOTA, LICENSE AGREEMENT TMS1002
    9. AIRBAG SENSOR ASSEMBLY
      1. Never reuse an airbag sensor assembly involved in a collision where the SRS has deployed.
      2. The connectors to the airbag sensor assembly should be connected or disconnected with the sensor mounted on the floor. If the connectors are connected or disconnected while the airbag sensor assembly is not mounted to the floor, it could cause the supplemental restraint system to deploy potentially resulting in injury.
      3. Work must be started after 90 seconds from the time that the ignition switch is turned to the LOCK position and the negative (-) terminal cable is disconnected from the battery, even if only loosening the set bolts of the airbag sensor assembly.
    10. WIRE HARNESS AND CONNECTOR
      1. The SRS wire harness is integrated with the instrument panel wire harness assembly. All the connectors in the system are a standard yellow color. If the SRS wire harness becomes disconnected or the connector becomes broken due to an accident, etc., repair or replace it.
        Fig 22: Disconnecting Battery Negative Terminal Cable
        G03478844Courtesy of © TOYOTA, LICENSE AGREEMENT TMS1002
  3. ELECTRONIC CONTROL 
    1. REMOVAL AND INSTALLATION OF BATTERY TERMINAL
      1. Before performing electronic work, disconnect the battery negative (-) terminal cable beforehand in order to prevent it from shorting and burning out.
      2. When disconnecting and installing the terminal cable, turn the ignition switch and lighting switch OFF and loosen the terminal nut completely. Perform these operations without twisting or prying the terminal.
      3. When the battery terminal cable is removed, the memories of the clock, radio, DTCs, etc. are erased. So before removing it, check them and make a note.
      4. When disconnecting the negative (-) terminal cable of the battery, initialize the following systems after the completion of operation.
      SPECIFICATION CHART

      System Name See
      Lighting System (Adaptive Front-Lighting System) PRE-CHECK
      Power Window Control System PRE-CHECK
      Power Back Door System PRE-CHECK
      Sliding Roof System PRE-CHECK
      Fig 23: Showing Wrong And Right Way Of Handling Electrical Components
      G03478845Courtesy of © TOYOTA, LICENSE AGREEMENT TMS1002
    2. HANDLING OF ELECTRONIC PARTS
      1. Do not open the cover or case of the ECU unless absolutely necessary (If the IC terminals are touched, the IC may be rendered inoperative by static electricity).
      2. To disconnect electronic connectors, pull the connector itself, not the wires.
      3. Be careful not to drop electronic components, such as sensors or relays. If they are dropped on a hard floor, they should be replaced and not be reused.
      4. When cleaning the engine with steam, protect the electronic components, air filter and emission-related components from water.
      5. Never use an impact wrench to remove or install temperature switches or temperature sensors.
      6. When checking the continuity at the wire connector, insert the tester probe carefully to prevent terminals from bending.
  4. REMOVAL AND INSTALLATION OF FUEL CONTROL PARTS 
    1. PLACE FOR REMOVING AND INSTALLING OF FUEL SYSTEM PARTS
      1. Work in a place with good air ventilation and without anything that could cause combustion around you such as a welder, grinder, drill, electric motor or stove.
      2. Never work in a place such as a pit or nearby a pit, as there is a possibility that vaporized fuel will collect in those places.
    2. REMOVING AND INSTALLING OF FUEL SYSTEM PARTS
      1. Prepare a fire extinguisher before starting operation.
      2. To prevent static electricity, install a ground on the fuel changer, vehicle and fuel tank, and do not spray much water so as to prevent slipping.
      3. Never use any electric equipment like an electric motor or a working light, as they may create sparks or a high temperature.
      4. Never use an iron hammer, as it may create sparks.
      5. Dispose of shop rags containing fuel deposits separately.
  5. REMOVAL AND INSTALLATION OF ENGINE INTAKE PARTS 
    1. If any metal particle enters the inlet pass, it may have a bad effect on the engine and turbocharger.
    2. When removing and installing the inlet system parts, close the opening of the removed inlet system parts and the engine with a clean shop rag or gum tape.
    3. When installing the inlet system parts, check that no metal particles have entered.
      Fig 24: Identifying Engine Intake Parts
      G03478846Courtesy of © TOYOTA, LICENSE AGREEMENT TMS1002
  6. HANDLING OF HOSE CLAMPS 
    1. Before removing the hose, check the clamp position to ensure that it can be restored securely.
    2. Replace a deformed or dented clamp with a new one.
    3. When reusing a hose, attach the clamp on the clamp track portion of the hose.
    4. For a spring type clamp, make an adjustment after installation by pushing in the direction of the arrow mark.
    Fig 25: Handling Of Hose Clamps
    G03478847Courtesy of © TOYOTA, LICENSE AGREEMENT TMS1002
  7. FOR VEHICLES EQUIPPED WITH MOBILE COMMUNICATION SYSTEMS 
    1. Install the antenna as far away from the ECU and sensors of the vehicle electronic systems as possible.
    2. Install an antenna feeder at least 20 cm (7.87 in.) away from the ECU and sensors of the vehicle electronic systems. For details of the ECU and sensors locations, refer to the Service Category on applicable components.
    3. Prevent the antenna feeder from getting entangled with the other wiring, and keep the antenna feeder separate from other wiring as much as possible.
    4. Check that the antenna and feeder are correctly adjusted.
    5. Do not install any high-powered mobile communication systems.
      Fig 26: Identifying Mobile Communication Systems
      G03478848Courtesy of © TOYOTA, LICENSE AGREEMENT TMS1002
  8. WHEN SERVICING FULL-TIME 4WD VEHICLES 

    The full-time 4WD LEXUS RX330 is equipped with the open center differential system.

    If incorrect preparations or test procedures are used, the test will not only be unsuccessful, but may be dangerous as well.

    Therefore, before beginning any such servicing or test, be sure to check the following items:

    • Whether wheels should be touching ground or jacked up
    • Transaxle gear position
    • Maximum testing vehicle speed
    • Maximum testing time
      Fig 27: Jacking Up Full-Time 4Wd Vehicle With Wheels Touching Ground
      G03478849Courtesy of © TOYOTA, LICENSE AGREEMENT TMS1002
      Fig 28: Jacking Up Full-Time 4Wd Vehicles Without Wheels Touching Ground
      G03478850Courtesy of © TOYOTA, LICENSE AGREEMENT TMS1002
    CAUTION:
    • Never accelerate or decelerate the vehicle suddenly
    • Observe the other cautions given for each individual test
    1. Before Beginning Test

      This vehicle does not have a Center Diff. Lock Mode or 4WD (Normal) Mode to allow only the front or rear wheel to be rotated.

      The test method for this vehicle is different from that for vehicles equipped with the Center Diff. Lock Mode or 4WD (Normal) Mode, so make sure to use the correct test method.

    2. Braking Force Test

      (Vehicle Speed: Below 0.5 km/h or 0.3 mph)

      When performing low-speed type brake tester measurements, observe the following instructions.

      1. Position the wheels to be tested (front or rear) on the tester.
      2. Shift the transaxle shift lever to "N" position.
      3. Idle the engine, operate the brake booster and perform the test.
    3. Speedometer Test or Other Tests
      Fig 29: Testing 4-Wheel Driven Chassis Dynameter
      G03478851Courtesy of © TOYOTA, LICENSE AGREEMENT TMS1002
      NOTE: If you do not observe the following conditions for the test there will be the cases where the 4WD functions will deteriorate; the parts in the drive-train system will have a malfunction; the vehicle will jump out. Therefore, do not conduct a test unless observing the following conditions.

      HINT:

      When conducting a test with the vehicle highly loaded are driven with high speeds, observe the following conditions.

      INSPECTION CHART

      No. Chassis Dynamometer Type Vehicle Speed and Test Time Propeller shaft
      4-Wheel Driven Chassis Dynamometer No restriction Normal (Do not remove)

      * : This is to avoid damaging the center differential.

      NOTE:
      • Do not suddenly accelerate and do not suddenly apply brake.
      • Confirm that the vehicle is securely immobilized.
      • Never operate the brakes to drive the wheels or stop them suddenly.
    4. On-Vehicle Wheel Balancing

      When doing on-vehicle wheel balancing on a full-time 4WD vehicle, to prevent the wheels from rotating at different speeds in different directions from each other (which could damage the center differential), always be sure to observe the following precautions:

      1. All 4 wheels should be jacked up, clearing the ground completely.
      2. The parking brake lever should be fully released.
      3. None of the brakes should be allowed to drag.
      4. The wheels should be driven on the wheel balancer with the engine running.
        Fig 30: Balancing Wheel
        G03478852Courtesy of © TOYOTA, LICENSE AGREEMENT TMS1002

        HINT:

        When doing this, be careful of the other wheels, which will rotate at the same time.

      5. Avoid sudden acceleration, deceleration and braking.
      6. Carry out wheel balancing with the transaxle in D position.
  9. FOR VEHICLES EQUIPPED WITH TRACTION CONTROL (TRAC) SYSTEM 

    When using a 2-wheel drum tester such as a speedometer tester or chassis dynamometer, etc., or jacking up the front wheels and driving the wheels, always push in the TRAC cut ("TRAC OFF") switch and turn the TRAC system OFF.

    Fig 31: Identifying TRAC System
    G03478853Courtesy of © TOYOTA, LICENSE AGREEMENT TMS1002
    1. Confirm TRAC system is OFF
    1. Press the TRAC cut ("TRAC OFF") switch.
    2. Check that the TRAC OFF indicator light comes on when the TRAC system is turned OFF by the TRAC cut switch.

      HINT:

      The SLIP indicator light should always operate right after the engine is restarted.

    3. Begin measurements.
      Fig 32: Identifying Slip Indicator Light
      G03478854Courtesy of © TOYOTA, LICENSE AGREEMENT TMS1002
    4. Press the TRAC cut switch to turn the TRAC to the operative mode and check that the TRAC OFF indicator light goes off.

    HINT:

    The SLIP indicator light blinks when the TRAC system is operating.

    Fig 33: Identifying Connector Terminal
    G03478855Courtesy of © TOYOTA, LICENSE AGREEMENT TMS1002
  10. FOR VEHICLES EQUIPPED WITH VEHICLE STABILITY CONTROL (VSC) SYSTEM 
    1. Notices when using dram tester
      1. When using a drum tester, be sure to start the engine with the ignition switch OFF, and connect SST to the terminals TS and CG of the DLC3 before the measurement in order to cancel the VSC operation.

      SST 09843-18040

      NOTE:
      • Confirm that the VSC warning light blinks.
      • The VSC system is reset when the engine is restarted.
      • Fasten the vehicle with lock chains.
    2. Notice of related operations to VSC
    1. Do not carry out unnecessary installation and removal as it might disorder the adjustment of the parts related to the VSC.
    2. Be sure to carry out the preparation for operation and the confirmation of operation completion in accordance with the instructions of the text and when the operations related to the VSC are performed.
  11. WHEN TOWING FULL-TIME 4WD VEHICLES 
    • Use one of the methods shown in Fig 34 to tow the vehicle.
    • If the vehicle has trouble with the chassis or drive train, use method 1 (flat bed truck).
      Fig 34: Identifying Towing Method Chart
      G03478856Courtesy of © TOYOTA, LICENSE AGREEMENT TMS1002
    NOTE: Do not use any towing method other than those shown.
    • The towing methods shown in Fig 35 are dangerous and can damage the vehicle, so do not use them.
      Fig 35: Showing Wrong And Right Way Of Towing
      G03478857Courtesy of © TOYOTA, LICENSE AGREEMENT TMS1002
  12. FOR VEHICLES EQUIPPED WITH CATALYTIC CONVERTER 
    CAUTION: a large amount of unburned gasoline flows into the converter, it may cause overheating and is a fire hazard. To prevent this, observe the following precautions.
    1. Use only unleaded gasoline.
    2. Avoid prolonged idling.

      Avoid idling the engine for more than 20 minutes.

    3. Avoid a spark jump test.
      1. Perform a spark jump test only when absolutely necessary. Perform this test as rapidly as possible.
      2. While testing, never race the engine.
    4. Avoid a prolonged engine compression measurement.

      Engine compression measurements must be performed as rapidly as possible.

    5. Do not run the engine when the fuel tank is nearly empty. This may cause the engine to misfire and create an extra load on the converter.
  13. FOR VEHICLES EQUIPPED WITH AIR SUSPENSION SYSTEM (See  PRECAUTION  )