lemon-mirror:
Home >> Lexus >> 2007 >> GX 470 >> Repair and Diagnosis >> Transmission >> Automatic Trans >> Automatic Transaxle >> Automatic Transmission Unit >> Reassembly

Automatic Transmission Unit: Reassembly

  1. BEARING POSITION 
    Fig 1: Identifying Bearing Position
    G04963583Courtesy of © TOYOTA, LICENSE AGREEMENT TMS1002
    1. Check bearing position.

    Bearing diameter 

    BEARING DIAMETER

    Mark Front Race Diameter Inside/Outside Thrust Bearing Diameter Inside/Outside Rear Race Diameter Inside/Outside
    A 73.6 mm (2.898 in.) / 102.0 mm (4.016 in.) 71.9 mm (2.831 in.) / 85.6 mm (3.370 in.) -
    B 38.0 mm (1.496 in.) / 57.0 mm (2.244 in.) 43.4 mm (1.709 in.) / 58.3 mm (2.295 in.) -
    C - 55.7 mm (2.193 in.) / 76.4 mm (3.008 in.) 53.7 mm (2.114 in.) / 74.0 mm (2.913 in.)
    D 33.4 mm (1.315 in.) / 49.0 mm (1.929 in.) 32.1 mm (1.264 in.) / 49.35 mm (1.943 in.) 32.1 mm (1.264 in.) / 49.0 mm (1.929 in.)
    E - 21.5 mm (0.847 in.) / 40.8 mm (1.606 in.) -
    F 48.5 mm (1.909 in.) / 62.7 mm (2.469 in.) 45.9 mm (1.807 in.) / 64.0 mm (2.520 in.) -
  2. INSTALL NO. 4 BRAKE PISTON 
    Fig 2: Identifying O-Rings
    G04963584Courtesy of © TOYOTA, LICENSE AGREEMENT TMS1002
    1. Coat 2 new O-rings with ATF, and install them to the brake reaction sleeve.
    2. Coat 2 new O-rings with ATF, and install them to the No. 4 brake piston.
    3. Install the No. 4 brake piston to the reaction sleeve.
  3. INSTALL BRAKE REACTION SLEEVE 
    Fig 3: Identifying Brake Reaction Sleeve
    G04963585Courtesy of © TOYOTA, LICENSE AGREEMENT TMS1002
    1. Coat a new O-ring with ATF, and install it to the reaction sleeve.
    2. With the No. 1 brake piston underneath (the rear side), install the brake reaction sleeve and No. 1 brake piston to the transmission case.
    NOTE: Be careful not to damage the O-rings.
  4. INSTALL 1ST AND REVERSE BRAKE PISTON 
    1. Coat a new O-ring with ATF.
    2. Install the O-ring on the 1st and reverse brake piston.
    3. Fig 4: Identifying Spring Seat
      G04963586Courtesy of © TOYOTA, LICENSE AGREEMENT TMS1002
    4. With the spring seat of the piston facing upwards (the front side), place the piston in the transmission case.
      NOTE: Be careful not to damage the O-ring.
    5. Fig 5: Identifying Piston Return Spring
      G04963587Courtesy of © TOYOTA, LICENSE AGREEMENT TMS1002
    6. Place the piston return spring onto the No. 4 brake piston.
  5. INSTALL 1ST AND REVERSE BRAKE RETURN SPRING SUB-ASSEMBLY 
    1. Place SST on the spring retainer, and compress the return spring.

      SST 09350-30020 (09350-07050) 

    2. Fig 6: Using SST To Install Snap Ring
      G05261519Courtesy of © TOYOTA, LICENSE AGREEMENT TMS1002
    3. Using SST, install the snap ring.

    SST 09350-30020 (09350-07070) 

  6. INSTALL REAR PLANETARY GEAR ASSEMBLY 
    Fig 7: Identifying Thrust Needle Roller Bearing
    G04963554Courtesy of © TOYOTA, LICENSE AGREEMENT TMS1002
    1. Install the thrust needle roller bearing.

      Thrust needle roller bearing diameter 

      THRUST NEEDLE ROLLER BEARING DIAMETER

      Item Inside Outside
      Thrust needle roller bearing 45.9 mm (1.807 in.) 64.0 mm (2.520 in.)
    2. Fig 8: Identifying Thrust Needle Roller Bearing & Race
      G04965161Courtesy of © TOYOTA, LICENSE AGREEMENT TMS1002
    3. Install the thrust needle roller bearing.
    4. Coat the No. 9 thrust bearing race with ATF, and install it onto the rear planetary ring gear.

      Bearing and race diameter 

      BEARING AND RACE DIAMETER

      Item Inside Outside
      Bearing 21.5 mm (0.847 in.) 40.8 mm (1.606 in.)
      Race 48.5 mm (1.909 in.) 62.7 mm (2.469 in.)
    5. Fig 9: Identifying Rear Planetary Gear Assembly
      G04963552Courtesy of © TOYOTA, LICENSE AGREEMENT TMS1002
    6. Install the rear planetary gear assembly.
  7. INSPECT PACK CLEARANCE OF 1ST AND REVERSE BRAKE 
    Fig 10: Applying Compressed Air Into Transmission Case
    G04963579Courtesy of © TOYOTA, LICENSE AGREEMENT TMS1002
    1. Make sure the 1st and reverse brake pistons move smoothly when applying and releasing the compressed air into the transmission case.
    2. Fig 11: Measuring Level Difference Between Upper Surface Of 1st & Reverse Brake Piston Using Vernier Caliper
      G04963593Courtesy of © TOYOTA, LICENSE AGREEMENT TMS1002
    3. Using vernier caliper, measure the level difference (length A) between the upper surface of the 1st and reverse brake piston and the hitting surface of the No. 4 brake flange at both ends across a diameter, and calculate the average.
      NOTE: The 1st and reverse brake piston must be installed tightly to the end face of the transmission case.

      HINT:

      Length A = 36.35 to 37.09 mm (1.431 to 1.460 in.)

    4. Using a vernier caliper, measure the thickness (length B) of the 2 brake flanges, the 7 No. 4 brake plates and the 8 No. 4 brake discs altogether at both ends across a diameter, and calculate the average.

      HINT:

      Pack clearance = Length A - Length B - 0.25 mm to 1.8 mm (0.010 to 0.071 in.)

      Length B = 36.04 to 37.14 mm (1.419 to 1.462 in.)

      Pack clearance: 0.8 to 1.1 mm (0.031 to 0.043 in.) 

    5. If the pack clearance is outside the standard, select and install a brake flange that makes the pack clearance within the standard.
    Fig 12: Identifying Brake Flanges, No. 4 Brake Plates & No. 4 Brake Discs Dimension
    G04963594Courtesy of © TOYOTA, LICENSE AGREEMENT TMS1002

    H thickness 

    THICKNESS TABLE

    No. Thickness
    0 0 mm (0 in.)
    2 0.2 mm (0.008 in.)
    4 0.4 mm (0.016 in.)
    6 0.6 mm (0.024 in.)
    8 0.8 mm (0.031 in.)
    10 1.0 mm (0.039 in.)
    12 1.2 mm (0.047 in.)
    14 1.4 mm (0.055 in.)
  8. INSTALL NO. 4 BRAKE DISC 
    Fig 13: Identifying Plates, Discs & Flanges
    G04963595Courtesy of © TOYOTA, LICENSE AGREEMENT TMS1002
    1. Install the 7 plates, the 8 discs and the 2 flanges. Install in order:

    F - D - P - D - P - D - P - D - P - D - P - D - P - D - P - D - F 

    HINT:

    P = Plate, D = Disc, F = Flange

  9. INSTALL BRAKE PLATE STOPPER SPRING 
    Fig 14: Identifying Brake Plate Stopper Spring
    G04963550Courtesy of © TOYOTA, LICENSE AGREEMENT TMS1002
    1. Install the brake plate stopper spring.
  10. INSTALL REAR PLANETARY RING GEAR FLANGE SUB-ASSEMBLY 
    Fig 15: Identifying No. 8 Thrust Bearing Race, Thrust Needle Roller Bearing, No. 7 Thrust Bearing Race & Planetary Ring Gear Flange
    G05197309Courtesy of © TOYOTA, LICENSE AGREEMENT TMS1002
    1. Install the No. 8 thrust bearing race, thrust needle roller bearing, No. 7 thrust bearing race and planetary ring gear flange to the intermediate shaft.

    Bearing and race diameter 

    BEARING AND RACE DIAMETER

    Item Inside Outside
    No. 7 thrust bearing race 33.4 mm (1.315 in.) 49.0 mm (1.929 in.)
    Thrust needle roller bearing 32.1 mm (1.264 in.) 49.35 mm (1.943 in.)
    No. 8 thrust bearing race 32.1 mm (1.264 in.) 49.0 mm (1.929 in.)
  11. INSTALL NO. 3 ONE-WAY CLUTCH ASSEMBLY 
    Fig 16: Identifying No. 3 One-Way Clutch Assembly & One-Way Clutch Inner Race
    G04963548Courtesy of © TOYOTA, LICENSE AGREEMENT TMS1002
    1. Install the No. 3 one-way clutch assembly and one-way clutch inner race to the intermediate shaft.
  12. INSTALL INTERMEDIATE SHAFT 
    Fig 17: Identifying Intermediate Shaft & No. 3 1-Way Clutch Assembly
    G04963547Courtesy of © TOYOTA, LICENSE AGREEMENT TMS1002
    1. Install the intermediate shaft with the No. 3 one-way clutch assembly to the case.
    2. Fig 18: Using SST To Install Snap Ring
      G04963600Courtesy of © TOYOTA, LICENSE AGREEMENT TMS1002
    3. Using SST, install the snap ring.

      SST 09350-30020 (09350-07050, 09350-07060) 

  13. INSTALL CENTER PLANETARY GEAR ASSEMBLY 
    Fig 19: Identifying Center Planetary Gear Assembly & Planetary Sun Gear
    G04963545Courtesy of © TOYOTA, LICENSE AGREEMENT TMS1002
    1. Install the center planetary gear assembly and planetary sun gear to the case.
    2. Coat the thrust bearing race with ATF, and install it onto the center planetary ring gear.

    Race diameter 

    RACE DIAMETER

    Item Inside Outside
    Race 53.7 mm (2.114 in.) 74.0 m (2.913 in.)
  14. INSTALL NO. 2 BRAKE PISTON 
    Fig 20: Identifying O-Ring
    G04963602Courtesy of © TOYOTA, LICENSE AGREEMENT TMS1002
    1. Coat 2 new O-rings with ATF, and install them to the No. 2 brake piston.
    2. Be careful not to damage the O-rings. Press the No. 2 brake piston into the No. 2 brake cylinder with both hands.
    3. Install the No. 2 brake piston to the case.
  15. INSTALL NO. 2 BRAKE DISC 
    Fig 21: Identifying Flange, Plates, Discs & Brake Piston Return Spring
    G04963603Courtesy of © TOYOTA, LICENSE AGREEMENT TMS1002
    1. Install flange, 3 plates, 3 discs and brake piston return spring.

      Install in order: F - P - S - P - D - P - D 

      HINT:

      P = Plate, D = Disc, F = Flange

    2. Fig 22: Using SST & Press To Install No. 2 Brake Spring Snap Ring
      G04963604Courtesy of © TOYOTA, LICENSE AGREEMENT TMS1002
    3. Using SST and press, install the No. 2 brake spring snap ring.

      SST 09351-40010 

  16. INSTALL NO. 1 BRAKE PISTON 
    Fig 23: Identifying O-Ring
    G05261536Courtesy of © TOYOTA, LICENSE AGREEMENT TMS1002
    1. Coat 2 new O-rings with ATF, and install them on the No. 1 brake piston.
    2. Be careful not to damage the O-rings. Press the No. 1 brake piston into the No. 1 brake cylinder with both hands.
  17. INSTALL BRAKE PISTON RETURN SPRING SUB-ASSEMBLY 
    Fig 24: Identifying Brake Piston Return Spring & No. 1 Brake Piston
    G04963540Courtesy of © TOYOTA, LICENSE AGREEMENT TMS1002
    1. Install the brake piston return spring and the No. 1 brake piston with No. 1 brake cylinder on the transmission case.
  18. INSTALL BRAKE PISTON RETURN SPRING SNAP RING 
    Fig 25: Using SST & Press To Install Brake Piston Return Spring Snap Ring
    G04963607Courtesy of © TOYOTA, LICENSE AGREEMENT TMS1002
    1. Using SST and a press, install the brake piston return spring snap ring.

      SST 09351-40010 

  19. INSTALL NO. 1 BRAKE DISC 
    Fig 26: Identifying Plates, Discs & Flange
    G04963608Courtesy of © TOYOTA, LICENSE AGREEMENT TMS1002
    1. Install the 3 plates, 3 discs and flange.

      Install in order: F - D - P - D - P - D - P - D - P - D - P - D 

      HINT:

      P = Plate, D = Disc, F = Flange

  20. INSTALL CENTER PLANETARY RING GEAR 
    Fig 27: Identifying Center Planetary Ring Gear & Front Planetary Ring Gear Flange
    G04963537Courtesy of © TOYOTA, LICENSE AGREEMENT TMS1002
    1. Install the center planetary ring gear and front planetary ring gear flange on the front planetary ring gear.
    2. Fig 28: Using Screwdriver To Install Snap Ring
      G04963536Courtesy of © TOYOTA, LICENSE AGREEMENT TMS1002
    3. Using a screwdriver, install the snap ring.
  21. INSTALL FRONT PLANETARY RING GEAR 
    Fig 29: Identifying Front Planetary Ring Gear & Thrust Needle Roller Bearing
    G04963535Courtesy of © TOYOTA, LICENSE AGREEMENT TMS1002
    1. Install the front planetary ring gear and the thrust needle roller bearing on the case.

      Thrust needle roller bearing diameter 

    THRUST NEEDLE ROLLER BEARING DIAMETER

    Item Inside Outside
    Thrust needle roller bearing 55.7 mm (2.193 in.) 76.4 mm (3.008 in.)
  22. INSTALL FRONT PLANETARY GEAR ASSEMBLY 
    Fig 30: Identifying Thrust Needle Roller Bearing & Thrust Washer
    G04963612Courtesy of © TOYOTA, LICENSE AGREEMENT TMS1002
    1. Install the thrust needle roller bearing and the thrust washer.
    2. Coat the thrust race with ATF, and install it onto the front planetary ring gear.

      Thrust needle roller bearing and race diameter 

      THRUST NEEDLE ROLLER BEARING AND RACE DIAMETER

      Item Inside Outside
      Thrust needle roller bearing 43.4 mm (1.709 in.) 58.3 mm (2.295 in.)
      Race 38.0 mm (1.496 in.) 57.0 mm (2.244 in.)
    3. Fig 31: Identifying Front Planetary Gear Assembly & One-Way Clutch Inner Race
      G04963613Courtesy of © TOYOTA, LICENSE AGREEMENT TMS1002
    4. Install the front planetary gear assembly and one-way clutch inner race from the case.
  23. INSPECT NO. 1 PISTON STROKE OF BRAKE PISTON 
    Fig 32: Applying Compressed Air Into Transmission Case
    G04963580Courtesy of © TOYOTA, LICENSE AGREEMENT TMS1002
    1. Make sure the No. 1 brake piston moves smoothly when applying and releasing the compressed air into the transmission case.
    2. Fig 33: Measuring B-3 Brake Pack Clearance Between Snap Ring & Flange Using Feeler Gauge
      G04963615Courtesy of © TOYOTA, LICENSE AGREEMENT TMS1002
    3. Using a feeler gauge, measure the B-3 brake pack clearance between the snap ring and flange.

      Piston stroke: 0.42 to 0.72 mm (0.017 to 0.028 in.) 

      If the piston stroke is outside the specification, parts may have been assembled incorrectly.

      Perform the reassembly again.

      If the piston stroke is still outside the specification, select another flange.

      HINT:

      There are 4 different thicknesses for the flange.

    Flange thickness 

    FLANGE THICKNESS

    No. Thickness
    0 2.0 mm (0.079 in.)
    1 2.2 mm (0.087 in.)
    2 2.4 mm (0.094 in.)
    3 2.6 mm (0.102 in.)
  24. INSTALL 2ND BRAKE PISTON 
    Fig 34: Identifying O-Ring
    G05261547Courtesy of © TOYOTA, LICENSE AGREEMENT TMS1002
    1. Coat 2 new O-rings with ATF, and install them to the 2nd brake piston.
    2. Be careful not to damage the O-rings. Press the 2nd brake cylinder into the 2nd brake piston with both hands.
    3. Fig 35: Using SST & Press To Install Snap Ring
      G04963530Courtesy of © TOYOTA, LICENSE AGREEMENT TMS1002
    4. Using SST and press, install the snap ring.

      SST 09351-40010 

      NOTE: Be sure the end gap of the snap ring is not aligned with the spring retainer claw.
  25. INSTALL 2ND BRAKE CYLINDER 
    Fig 36: Identifying 2nd Brake Cylinder
    G04963529Courtesy of © TOYOTA, LICENSE AGREEMENT TMS1002
    1. Install the 2nd brake cylinder fro the case.
  26. INSTALL ONE-WAY CLUTCH ASSEMBLY 
    Fig 37: Identifying One-Way Clutch Assembly & Thrust Washer
    G04963528Courtesy of © TOYOTA, LICENSE AGREEMENT TMS1002
    1. Install the one-way clutch assembly and thrust washer to the case.
  27. INSTALL 2ND BRAKE PISTON HOLE SNAP RING 
    Fig 38: Using SST To Install 2nd Brake Piston Hole Snap Ring
    G04963600Courtesy of © TOYOTA, LICENSE AGREEMENT TMS1002
    1. Using SST, install the snap ring.

      SST 09350-30020 (09350-07060) 

  28. INSTALL NO. 3 BRAKE DISC 
    Fig 39: Identifying Flanges, Discs, Plates & Cushion Plate
    G04963621Courtesy of © TOYOTA, LICENSE AGREEMENT TMS1002
    1. Install the 2 flanges, the 4 discs, the 4 plates and cushion plate on the case.

      Install in order: F - D - P - D - P - D - P - D - P - C 

      HINT:

      P = Plate, D = Disc, F = Flange C = Cushion

  29. INSTALL NO. 3 BRAKE SNAP RING 
    Fig 40: Using Screwdriver To Remove No. 3 Brake Snap Ring From Case
    G04963525Courtesy of © TOYOTA, LICENSE AGREEMENT TMS1002
    1. Using a screwdriver, install the snap ring.
  30. INSTALL NO. 2 ONE-WAY CLUTCH ASSEMBLY 
    Fig 41: Identifying No. 2 One-Way Clutch Assembly Washer
    G04963524Courtesy of © TOYOTA, LICENSE AGREEMENT TMS1002
    1. Coat the race with ATF, and install it onto the No. 2 clutch drum thrust washer.
    2. Install the No. 2 one-way clutch assembly washer.
  31. INSTALL CLUTCH DRUM AND INPUT SHAFT ASSEMBLY 
    Fig 42: Identifying Thrust Needle Roller Bearing
    G05261555Courtesy of © TOYOTA, LICENSE AGREEMENT TMS1002
    1. Install the thrust needle roller bearing.
    2. Coat the race with ATF, and install it onto the clutch drum and input shaft assembly.

      Thrust needle roller bearing and diameter 

      THRUST NEEDLE ROLLER BEARING AND DIAMETER

      Item Inside Outside
      Thrust needle roller bearing 71.9 mm (2.831 in.) 85.6 mm (3.370 In.)
      Race 73.6 mm (2.898 in.) 102.0 mm (4.016 in.)
    3. Fig 43: Identifying Input Shaft Sub-Assembly
      G04965196Courtesy of © TOYOTA, LICENSE AGREEMENT TMS1002
    4. Install the input shaft sub-assembly with the direct and reverse multiple disc assembly onto the transmission case.
  32. INSTALL OIL PUMP ASSEMBLY 
    Fig 44: Identifying No. 1 Thrust Bearing Race
    G04963521Courtesy of © TOYOTA, LICENSE AGREEMENT TMS1002
    1. Install the No. 1 thrust bearing race to the front oil pump

      Thrust bearing race diameter 

      THRUST BEARING RACE DIAMETER

      Item Inside Outside
      Race 74.2 mm (2.921 in.) 87.74 mm (3.454 in.)
    2. Fig 45: Identifying O-Ring
      G04963627Courtesy of © TOYOTA, LICENSE AGREEMENT TMS1002
    3. Coat a new O-ring with ATF, and install it around the oil pump assembly.
    4. Place the oil pump through the input shaft, and align the bolt holes of the oil pump assembly with the transmission case.
    5. Hold the input shaft, and lightly press the oil pump body to slide the oil seal rings into the overdrive direct clutch drum.
      NOTE: Do not push on the oil pump strongly, as the oil seal ring will stick to the direct clutch drum.
    6. Fig 46: Tightening Bolts
      G04963519Courtesy of © TOYOTA, LICENSE AGREEMENT TMS1002
    7. Install the 10 bolts.

      Torque: 21 N*m (214 kgf*cm, 15 ft.*lbf) 

  33. INSTALL MANUAL VALVE LEVER SHAFT OIL SEAL 
    Fig 47: Using SST To Drive In New Oil Seals
    G04963629Courtesy of © TOYOTA, LICENSE AGREEMENT TMS1002
    1. Using SST, drive in 2 new oil seals.

      SST 09350-30020 (09350-07110) 

    2. Coat the oil seal lips with MP grease.
  34. INSPECT INDIVIDUAL PISTON OPERATION INSPECTION (See  INSPECTION   ) 
  35. INSTALL MANUAL VALVE LEVER SUB-ASSEMBLY 
    Fig 48: Identifying New Spacer & Manual Valve Lever
    G04963630Courtesy of © TOYOTA, LICENSE AGREEMENT TMS1002
    1. Install a new spacer to the manual valve lever.
    2. Install the manual valve lever shaft to the transmission case through the manual valve lever.
    3. Fig 49: Tapping In New Spring Pin Using Hammer
      G04963631Courtesy of © TOYOTA, LICENSE AGREEMENT TMS1002
    4. Using a hammer, tap in a new spring pin.
    5. Fig 50: Aligning Manual Valve Lever Indentation With Spacer Hole
      G04963632Courtesy of © TOYOTA, LICENSE AGREEMENT TMS1002
    6. Align the manual valve lever indentation with the spacer hole, and stake them together with the punch.
    7. Make sure the shaft rotates smoothly.
  36. INSTALL PARKING LOCK PAWL SHAFT 
    Fig 51: Identifying Parking Lock Pawl, Shaft & Spring
    G04963633Courtesy of © TOYOTA, LICENSE AGREEMENT TMS1002
    1. Install the E-ring to the shaft.
    2. Install the parking lock pawl, shaft and spring.
  37. INSTALL PARKING LOCK ROD SUB-ASSEMBLY 
    Fig 52: Connecting Parking Lock Rod To Manual Valve Lever
    G04963514Courtesy of © TOYOTA, LICENSE AGREEMENT TMS1002
    1. Connect the parking lock rod to the manual valve lever.
  38. INSTALL PARKING LOCK PAWL BRACKET 
    Fig 53: Tightening Parking Lock Pawl Bracket Bolts
    G04963513Courtesy of © TOYOTA, LICENSE AGREEMENT TMS1002
    1. Place the parking lock pawl bracket onto the transmission case and torque the 3 bolts.

      Torque: 7.4 N*m (75 kgf*cm, 65 in.*lbf) 

    2. Fig 54: Shifting Manual Valve Lever To P Position
      G04963636Courtesy of © TOYOTA, LICENSE AGREEMENT TMS1002
    3. Shift the manual valve lever to the P position, and confirm that the planetary ring gear is correctly locked up by the lock pawl.
  39. INSTALL C-1 ACCUMULATOR VALVE 
    Fig 55: Identifying C-1 Accumulator Valve
    G04963637Courtesy of © TOYOTA, LICENSE AGREEMENT TMS1002
    1. Coat a new O-ring with ATF, and install it to the piston.
    2. Fig 56: Identifying Spring & C-1 Accumulator Valve
      G04963638Courtesy of © TOYOTA, LICENSE AGREEMENT TMS1002
    3. Install the spring and accumulator valve to the hole.

    Accumulator spring 

    ACCUMULATOR SPRING TABLE

    Spring Free length Outer diameter Color
    C-1 Inner 30.40 mm (1.197 in.) 11.40 mm (0.449 in.) Pink
    C-1 Outer 48.76 mm (1.920 in.) 16.60 mm (0.654 in.) Light green
  40. INSTALL C-3 ACCUMULATOR PISTON 
    Fig 57: Identifying C-3 Accumulator Piston
    G04963639Courtesy of © TOYOTA, LICENSE AGREEMENT TMS1002
    1. Coat a new O-ring with ATF, and install it to the piston.
    2. Install the spring and accumulator piston to the hole.
      Fig 58: Identifying Spring & C-3 Accumulator Piston
      G04963640Courtesy of © TOYOTA, LICENSE AGREEMENT TMS1002

    Accumulator spring 

    ACCUMULATOR SPRING TABLE

    Spring Free length Outer diameter Color
    C-3 Inner 44.0 mm (1.732 in.) 14.0 mm (0.551 in.) Yellow
    C-3 Outer 73.35 mm (2.888 in.) 19.90 mm (0.784 in.) Red
  41. INSTALL B-3 ACCUMULATOR PISTON 
    Fig 59: Identifying B-3 Accumulator Piston
    G04963641Courtesy of © TOYOTA, LICENSE AGREEMENT TMS1002
    1. Coat 2 new O-rings with ATF, and install them to the piston.
    2. Fig 60: Identifying Spring & B-3 Accumulator Piston
      G04963642Courtesy of © TOYOTA, LICENSE AGREEMENT TMS1002
    3. Install the spring and accumulator piston to the hole.

    Accumulator spring 

    ACCUMULATOR SPRING TABLE

    Spring Free length Outer diameter Color
    B-3 70.5 mm (2.776 in.) 19.7 mm (0.776 in.) Purple
  42. INSTALL C-2 ACCUMULATOR PISTON 
    Fig 61: Identifying C-2 Accumulator Piston
    G04963643Courtesy of © TOYOTA, LICENSE AGREEMENT TMS1002
    1. Coat 2 new O-rings with ATF, and install them to the piston.
    2. Fig 62: Identifying Spring & C-2 Accumulator Piston
      G04963644Courtesy of © TOYOTA, LICENSE AGREEMENT TMS1002
    3. Install the spring and accumulator piston to the hole.

    Accumulator spring 

    ACCUMULATOR SPRING TABLE

    Spring Free length Outer diameter Color
    C-2 62.0 mm (2.441 in.) 15.9 mm (03626 in.) White
  43. INSTALL CHECK BALL BODY 
    Fig 63: Identifying Check Ball Body & Spring
    G04963508Courtesy of © TOYOTA, LICENSE AGREEMENT TMS1002
    1. Install the check ball body and the spring.
  44. INSTALL BRAKE DRUM GASKET 
    Fig 64: Identifying Brake Drum Gaskets
    G04963507Courtesy of © TOYOTA, LICENSE AGREEMENT TMS1002
    1. Install the 3 brake drum gaskets.
  45. INSTALL TRANSAXLE CASE GASKET 
    Fig 65: Identifying Transaxle Case Gaskets
    G04963647Courtesy of © TOYOTA, LICENSE AGREEMENT TMS1002
    1. Install the 3 transaxle case gaskets.
  46. INSTALL TRANSMISSION VALVE BODY ASSEMBLY 
    Fig 66: Aligning Groove Of Manual Valve
    G04963648Courtesy of © TOYOTA, LICENSE AGREEMENT TMS1002
    1. Align the groove of the manual valve with the pin of the lever.
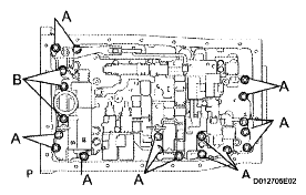
    2. Fig 67: Identifying Bolts
      G04963649Courtesy of © TOYOTA, LICENSE AGREEMENT TMS1002
    3. Install the 19 bolts.

      Torque: 11 N*m (110 kgf*cm, 8 ft.*lbf) 

    HINT:

    • Each bolt length is indicated bellow.
    • Bolt length:

    25 mm (0.98 in.) for bolt A

    36 mm (1.42 in.) for bolt B

  47. INSTALL TRANSMISSION WIRE 
    1. Install a new O-ring to the transmission wire.
    2. Fig 68: Identifying Transmission Wire Bolt
      G04963504Courtesy of © TOYOTA, LICENSE AGREEMENT TMS1002
    3. Install the transmission wire harness.
    4. Install the bolt.

      Torque: 5.4 N*m (55 kgf*cm, 48 in.*lbf) 

    5. Connect the solenoid connector.
    6. Connect the 7 solenoid connectors.
    7. Fig 69: Identifying ATF Temperature Sensor
      G04963380Courtesy of © TOYOTA, LICENSE AGREEMENT TMS1002
    8. Install the ATF temperature sensor.
    9. Install the clamp and the 2 bolts.

      Torque: Bolt A 

      11 N*m (112 kgf*cm, 8 ft.*lbf) 

      Bolt B 

      10 N*m (100 kgf*cm, 7 ft.*lbf) 

      HINT:

      • Each bolt length is indicated bellow.
      • Bolt length:

      36 mm (1.42 in.) for bolt A

      12 mm (0.47 in.) for bolt B

      Sensor wire harness: 

      SENSOR WIRE HARNESS TABLE

      Wire harness Color
      for linear control Orange
      for oil temp warning light Blue
  48. INSTALL VALVE BODY OIL STRAINER ASSEMBLY 
    Fig 70: Identifying Valve Body Oil Strainer Assembly Bolts
    G04963502Courtesy of © TOYOTA, LICENSE AGREEMENT TMS1002
    1. Coat a new O-ring with ATF, and install them to the valve body oil strainer assembly.
    2. Install the oil strainer with the 4 bolts.

      Torque: 10 N*m (100 kgf*cm, 7 ft.*lbf) 

  49. INSTALL TRANSMISSION OIL CLEANER MAGNET 
    Fig 71: Identifying Transmission Oil Cleaner Magnets
    G04963653Courtesy of © TOYOTA, LICENSE AGREEMENT TMS1002
    1. Install the 4 transmission oil cleaner magnets.
  50. INSTALL AUTOMATIC TRANSMISSION OIL PAN SUB-ASSEMBLY 
    1. Install a new gasket on the oil pan.
    2. Install the 20 bolts.

      Torque: 4.4 N*m (45 kgf*cm, 39 in.*lbf) 

    3. Install the drain plug.

      Torque: 20 N*m (204 kgf*cm, 15 ft.*lbf) 

  51. INSTALL TRANSMISSION CASE ADAPTER OIL SEAL 
    Fig 72: Using SST & Hammer To Tap In Oil Seal
    G04965225Courtesy of © TOYOTA, LICENSE AGREEMENT TMS1002
    1. Using SST and a hammer, tap in a new oil seal.

      SST 09226-10010 

  52. INSTALL TRANSMISSION CASE ADAPTER SUB-ASSEMBLY 
    Fig 73: Applying Seal Packing
    G04965226Courtesy of © TOYOTA, LICENSE AGREEMENT TMS1002
    1. Apply seal packing or equivalent to the 8 bolts.

      Seal breadth: 1.0 to 1.5 mm (0.4 to 0.06 in.) 

      Seal packing: Toyota Genuine Seal Packing 1281, Three Bond 1281 or equivalent. 

    2. Fig 74: Identifying Transmission Case Adapter Sub-Assembly Bolts
      G05261587Courtesy of © TOYOTA, LICENSE AGREEMENT TMS1002
    3. Install the transmission case adapter sub-assembly with the 8 bolts.

      Torque: 34 N*m (345 kgf*cm, 25 ft.*lbf) 

      HINT:

      Each bolt length is indicated below.

      Standard bolt length: 

      50 mm (1.969 in.) for bolt A 

      45 mm (1.772 in.) for bolt B 

  53. INSTALL AUTOMATIC TRANSMISSION HOUSING 
    1. Clean the threads of the bolts and the case with white gasoline.
    2. Fig 75: Identifying Transmission Housing Bolts
      G04963660Courtesy of © TOYOTA, LICENSE AGREEMENT TMS1002
    3. Install the transmission housing with the 10 bolts.

      Torque: 34 N*m (345 kgf*cm, 25 ft.*lbf) for bolt A 

      57 N*m (581 kgf*cm, 42 ft.*lbf) for bolt B 

      34 N*m (345 kgf*cm, 25 ft.*lbf) for bolt C 

      HINT:

      • Each bolt length is indicated bellow.
      • Bolt length:

      Bolt A: 14 mm

      Bolt B: 17 mm

      Bolt C: 14 mm

  54. INSTALL AUTOMATIC TRANSAXLE BREATHER TUBE 
    1. Install a new O-ring to the breather tube.
    2. Fig 76: Identifying Breather Tube Bolts
      G04965229Courtesy of © TOYOTA, LICENSE AGREEMENT TMS1002
    3. Install the breather tube with the 3 bolts.

      Torque: 5.4 N*m (55 kgf*cm, 48 in.*lbf) 

  55. INSTALL SPEED SENSOR 
    Fig 77: Identifying Bolts & Speed Sensors
    G04963494Courtesy of © TOYOTA, LICENSE AGREEMENT TMS1002
    1. Coat 2 new O-rings with ATF, and install it to the speed sensor.
    2. Install the 2 speed sensors.
    3. Install the 2 bolts.

      Torque: 5.4 N*m (55 kgf*cm, 48 in.*lbf) 

  56. INSTALL OIL COOLER TUBE UNION 
    1. Coat a new O-ring with ATF, and install it to oil cooler tube union.
    2. Fig 78: Identifying Oil Cooler Tube Union
      G04963663Courtesy of © TOYOTA, LICENSE AGREEMENT TMS1002
    3. Install the oil cooler tube union.

      Torque: 29 N*m (296 kgf*cm, 21 ft.*lbf) 

  57. INSTALL PARK/NEUTRAL POSITION SWITCH ASSEMBLY 
    Fig 79: Identifying Nut, Lock Washer & Bolt
    G04963492Courtesy of © TOYOTA, LICENSE AGREEMENT TMS1002
    1. Install the park/neutral position switch onto the manual valve lever shaft, and temporarily install the adjusting bolt.
    2. Install a new lock washer and the nut.

      Torque: 6.9 N*m (70 kgf*cm, 61 in.*lbf) 

    3. Push the control shaft rearward as much as possible.
    4. Fig 80: Identifying Control Shaft Lever
      G04964968Courtesy of © TOYOTA, LICENSE AGREEMENT TMS1002
    5. Return the control shaft lever 2 notches to the N position.
    6. Fig 81: Aligning Neutral Basic Line With Switch Groove
      G04963666Courtesy of © TOYOTA, LICENSE AGREEMENT TMS1002
    7. Align the neutral basic line with the switch groove, and tighten the adjusting bolt.

      Torque: 13 N*m (130 kgf*cm, 9 ft.*lbf) 

    8. Fig 82: Bending Tabs Of Lock Washer Using Screwdriver
      G04963667Courtesy of © TOYOTA, LICENSE AGREEMENT TMS1002
    9. Using a screwdriver, bend the tabs of the lock washer.

      HINT:

      Bend at least 2 of the lock washer tabs.

  58. INSTALL TRANSMISSION CONTROL SHAFT LEVER LH 
    Fig 83: Identifying Transmission Control Shaft Lever Nut
    G05261596Courtesy of © TOYOTA, LICENSE AGREEMENT TMS1002
    1. Install the washer and the nut to the control shaft lever LH.

      Torque: 16 N*m (163 kgf*cm, 12 ft.*lbf)