lemon-mirror:
Home >> Lexus >> 2007 >> LX 470 >> Repair and Diagnosis >> Transmission >> Automatic Trans >> Automatic Transaxle >> Automatic Transmission Unit >> Disassembly

Automatic Transmission Unit: Disassembly

  1. REMOVE TRANSMISSION CONTROL SHAFT LEVER LH 
    1. Remove the nut, washer and control shaft lever LH.
      Fig 1: Locating Transmission Control Shaft Lever LH Nut
      G05282861Courtesy of © TOYOTA, LICENSE AGREEMENT TMS1002
  2. REMOVE PARK/NEUTRAL POSITION SWITCH ASSEMBLY 
    1. Using a screwdriver, pry out the lock washer.
    2. Remove the nut, lock washer and bolt.
    3. Remove the park/neutral position switch.
  3. REMOVE OIL COOLER TUBE UNION 
    1. Remove the 2 oil cooler tube unions.
    2. Remove the O-ring from the oil cooler tube union.
      Fig 2: Locating Nut, Lock Washer And Bolt
      G05282862Courtesy of © TOYOTA, LICENSE AGREEMENT TMS1002
  4. REMOVE TRANSMISSION REVOLUTION SENSOR 
    1. Remove the 2 bolts and 2 transmission revolution sensors.
    2. Remove the O-ring from each sensor.
      Fig 3: Locating Bolts And Speed Sensor
      G05282863Courtesy of © TOYOTA, LICENSE AGREEMENT TMS1002
  5. REMOVE AUTOMATIC TRANSAXLE BREATHER TUBE 
    1. Remove the 3 bolts.
    2. Remove the breather tube.
    3. Remove the O-ring from each tube.
      Fig 4: Identifying Automatic Transaxle Breather Tube
      G05282864Courtesy of © TOYOTA, LICENSE AGREEMENT TMS1002
  6. REMOVE AUTOMATIC TRANSMISSION HOUSING 
    1. Remove the 10 bolts.
    2. Remove the transmission housing.
      Fig 5: Locating Automatic Transmission Housing Bolts
      G05282865Courtesy of © TOYOTA, LICENSE AGREEMENT TMS1002
  7. REMOVE TRANSMISSION CASE ADAPTER SUB-ASSEMBLY 
    1. Remove the 8 bolts.
    2. Remove the transmission case adapter assembly.

      HINT:

      Use a brass bar and a hammer to remove the extension housing assembly.

    3. Remove the gasket from the transmission case adapter adapter assembly.
      Fig 6: Identifying Transmission Case Adapter Assembly Bolts
      G05282866Courtesy of © TOYOTA, LICENSE AGREEMENT TMS1002
  8. REMOVE TRANSMISSION CASE ADAPTOR OIL SEAL 
    1. Using a screwdriver, pry out the oil seal.
      Fig 7: Prying Out Oil Seal Using Screwdriver
      G05282867Courtesy of © TOYOTA, LICENSE AGREEMENT TMS1002
  9. FIX AUTOMATIC TRANSMISSION CASE SUB-ASSEMBLY 
    1. Install the transmission case on the overhaul attachment.
  10. REMOVE AUTOMATIC TRANSMISSION OIL PAN SUB-ASSEMBLY 
    NOTE: Do not turn the transmission over as this will contaminate the valve body with foreign matter on the bottom of the pan.
    Fig 8: Identifying Transmission Case On Overhaul Attachment
    G05282868Courtesy of © TOYOTA, LICENSE AGREEMENT TMS1002
    1. Remove the drain plug and the 20 bolts.
  11. INSPECT AUTOMATIC TRANSMISSION OIL PAN SUB-ASSEMBLY (See  INSPECTION   ) 
  12. REMOVE VALVE BODY OIL STRAINER ASSEMBLY 
    1. Turn over the transmission.
    2. Remove the 4 bolts holding the valve body oil strainer assembly to the valve body.
    3. Remove the O-ring from the valve body oil strainer assembly.
      Fig 9: Locating Valve Body Oil Strainer Assembly Bolts
      G05282869Courtesy of © TOYOTA, LICENSE AGREEMENT TMS1002
  13. REMOVE TRANSMISSION WIRE 
    1. Remove the ATF temperature sensor.
    2. Remove the bolt and clamp.
    3. Disconnect the 7 connectors from the shift solenoid valves.
      Fig 10: Locating Bolt And Clamp
      G05282870Courtesy of © TOYOTA, LICENSE AGREEMENT TMS1002
    4. Remove the bolt from the case.
    5. Pull the transmission wire out of the transmission case.
    6. Remove the O-ring from the transmission wire.
      Fig 11: Locating Case Bolt
      G05282871Courtesy of © TOYOTA, LICENSE AGREEMENT TMS1002
  14. REMOVE TRANSMISSION VALVE BODY ASSEMBLY 
    1. Remove the 19 bolts.
    2. Remove the valve body assembly.
      Fig 12: Identifying Valve Body Assembly Bolts
      G05282872Courtesy of © TOYOTA, LICENSE AGREEMENT TMS1002
  15. REMOVE TRANSAXLE CASE GASKET 
    1. Remove the 3 transaxle case gaskets.
      Fig 13: Identifying Transaxle Case Gaskets
      G05282873Courtesy of © TOYOTA, LICENSE AGREEMENT TMS1002
  16. REMOVE BRAKE DRUM GASKET 
    1. Remove the 3 brake drum gaskets.
      Fig 14: Identifying Brake Drum Gaskets
      G05282874Courtesy of © TOYOTA, LICENSE AGREEMENT TMS1002
  17. REMOVE CHECK BALL BODY 
    1. Remove the check ball body and spring.
      Fig 15: Identifying Check Ball Body And Spring
      G05282875Courtesy of © TOYOTA, LICENSE AGREEMENT TMS1002
  18. REMOVE C-2 ACCUMULATOR PISTON 
    1. Applying compressed air to the oil hole, and remove the C-2 accumulator piston and spring.
    2. Remove the 2 O-rings from the piston.
      NOTE: Be careful as the C-3 and B-3 accumulator piston may jump out.
      Fig 16: Applying Compressed Air To Oil Hole
      G05282876Courtesy of © TOYOTA, LICENSE AGREEMENT TMS1002
  19. REMOVE B-3 ACCUMULATOR PISTON 
    1. Applying compressed air to the oil hole, and remove the B-3 accumulator piston and spring.
    2. Remove the 2 O-rings from the piston.
      NOTE: Be careful as the C-3 accumulator piston may jump out.
      Fig 17: Applying Compressed Air To Oil Hole
      G05282877Courtesy of © TOYOTA, LICENSE AGREEMENT TMS1002
  20. REMOVE C-3 ACCUMULATOR PISTON 
    1. Applying compressed air to the oil hole, and remove the C-3 accumulator piston and spring.
    2. Remove the 2 O-rings from the piston.
      Fig 18: Applying Compressed Air To Oil Hole
      G05282878Courtesy of © TOYOTA, LICENSE AGREEMENT TMS1002
  21. REMOVE C-1 ACCUMULATOR VALVE 
    1. Remove the C-1 accumulator valve and 2 springs.
      Fig 19: Identifying Accumulator Valve And Springs
      G05282879Courtesy of © TOYOTA, LICENSE AGREEMENT TMS1002
  22. REMOVE PARKING LOCK PAWL BRACKET 
    1. Remove the 3 bolts and parking lock pawl bracket.
      Fig 20: Removing Bolts And Parking Lock Pawl Bracket
      G05282880Courtesy of © TOYOTA, LICENSE AGREEMENT TMS1002
  23. REMOVE PARKING LOCK ROD SUB-ASSEMBLY 
    1. Disconnect the parking lock rod from the manual valve lever.
      Fig 21: Disconnecting Parking Lock Rod
      G05282881Courtesy of © TOYOTA, LICENSE AGREEMENT TMS1002
  24. REMOVE PARKING LOCK PAWL SHAFT 
    1. Pull out the parking lock pawl shaft from the front side, and then remove the lock pawl and spring.
    2. Remove the E-ring from the shaft.
      Fig 22: Removing Bolts And Parking Lock Pawl Bracket
      G05282882Courtesy of © TOYOTA, LICENSE AGREEMENT TMS1002
  25. REMOVE MANUAL VALVE LEVER SUB-ASSEMBLY 
    1. Using a hammer and screwdriver, cut off the spacer and remove it from the shaft.
      Fig 23: Removing Manual Valve Lever
      G05282883Courtesy of © TOYOTA, LICENSE AGREEMENT TMS1002
    2. Using a pin punch and hammer, tap out the spring pin.

      HINT:

      Slowly drive out the spring pin so that it does not fall into the transmission case.

    3. Pull the manual valve lever shaft out through the case, and remove the manual valve lever.
      Fig 24: Tapping Out Spring Pin
      G05282884Courtesy of © TOYOTA, LICENSE AGREEMENT TMS1002
  26. REMOVE MANUAL VALVE LEVER SHAFT OIL SEAL 
    1. Using a screwdriver, pry out the 2 oil seals.
      Fig 25: Removing Oil Seals
      G05282885Courtesy of © TOYOTA, LICENSE AGREEMENT TMS1002
  27. REMOVE OIL PUMP ASSEMBLY 
    1. Remove the 10 bolts holding the oil pump from the transmission case.
      Fig 26: Removing Oil Pump Assembly Bolts
      G05282886Courtesy of © TOYOTA, LICENSE AGREEMENT TMS1002
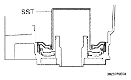
    2. Using SST, remove the oil pump.

      SST 09350-30020 (09350-07020) 

      Fig 27: Removing Oil Pump
      G05282887Courtesy of © TOYOTA, LICENSE AGREEMENT TMS1002
    3. Remove the No. 1 thrust bearing race from the front oil pump.
      Fig 28: Identifying No. 1 Thrust Bearing Race
      G05282888Courtesy of © TOYOTA, LICENSE AGREEMENT TMS1002
  28. REMOVE CLUTCH DRUM AND INPUT SHAFT ASSEMBLY 
    1. Remove the clutch drum and input shaft drum assembly from the transmission case.
      Fig 29: Removing Clutch Drum And Input Shaft Drum Assembly
      G05282889Courtesy of © TOYOTA, LICENSE AGREEMENT TMS1002
    2. Remove the clutch drum thrust washer and thrust needle roller bearing.
  29. INSPECT NO. 2 1-WAY CLUTCH ASSEMBLY (See  INSPECTION   ) 
    Fig 30: Identifying Clutch Drum Thrust Washer And Thrust Needle Roller Bearing
    G05282890Courtesy of © TOYOTA, LICENSE AGREEMENT TMS1002
  30. REMOVE NO. 2 1-WAY CLUTCH ASSEMBLY 
    1. Remove the No. 2 1 -way clutch assembly and No. 2 clutch drum thrust washer from the clutch drum and input shaft assembly.
      Fig 31: Identifying No. 2 1 -Way Clutch Assembly
      G05282891Courtesy of © TOYOTA, LICENSE AGREEMENT TMS1002
  31. REMOVE NO. 3 BRAKE SNAP RING 
    1. Using a screwdriver, remove the No. 3 brake snap ring from the case.
      Fig 32: Removing No. 3 Brake Snap Ring
      G05282892Courtesy of © TOYOTA, LICENSE AGREEMENT TMS1002
  32. REMOVE NO. 3 BRAKE DISC 
    1. Remove the flange, cushion plate, 4 discs and 4 plates from the case.
  33. INSPECT NO. 3 BRAKE DISC (See  INSPECTION   ) 
    Fig 33: Identifying Flange And Cushion Plate
    G05282893Courtesy of © TOYOTA, LICENSE AGREEMENT TMS1002
  34. REMOVE 2ND BRAKE PISTON HOLE SNAP RING 
    1. Using SST, remove the snap ring.

      SST 09350-30020 (09350-07060) 

      Fig 34: Removing Snap Ring
      G05282894Courtesy of © TOYOTA, LICENSE AGREEMENT TMS1002
  35. REMOVE 1-WAY CLUTCH ASSEMBLY 
    1. Remove the 1-way clutch assembly and No. 1 planetary carrier thrust washer from the case.
      Fig 35: Identifying 1-Way Clutch Assembly
      G05282895Courtesy of © TOYOTA, LICENSE AGREEMENT TMS1002
  36. REMOVE 2ND BRAKE CYLINDER 
    1. Remove the 2nd brake cylinder from the case.
      Fig 36: Identifying 2Nd Brake Cylinder
      G05282896Courtesy of © TOYOTA, LICENSE AGREEMENT TMS1002
  37. REMOVE 2ND BRAKE PISTON 
    1. Using SST, a press and screwdriver, remove the snap ring.

      SST 09351-40010 

      Fig 37: Removing Snap Ring
      G05282897Courtesy of © TOYOTA, LICENSE AGREEMENT TMS1002
    2. Hold the 2nd brake piston and apply compressed air (392 kPa, 4.0 kgf/cm2 , 57 psi) to the brake cylinder to remove the 2nd brake piston.
      Fig 38: Applying Compressed Air To 2ND Brake Cylinder
      G05282898Courtesy of © TOYOTA, LICENSE AGREEMENT TMS1002
    3. Remove the 2 O-rings from the 2nd brake piston.
  38. INSPECT NO. 3 BRAKE PISTON RETURN SPRING SUB-ASSEMBLY (See  INSPECTION   ) 
  39. REMOVE FRONT PLANETARY GEAR ASSEMBLY 
  40. INSPECT FRONT PLANETARY GEAR ASSEMBLY (See  INSPECTION   ) 
  41. INSPECT 1-WAY CLUTCH ASSEMBLY (See  INSPECTION   ) 
    Fig 39: Identifying 2Nd Brake Piston O-Rings
    G05282899Courtesy of © TOYOTA, LICENSE AGREEMENT TMS1002
  42. REMOVE FRONT PLANETARY RING GEAR 
    1. Remove the front planetary ring gear and bearing from the transmission case.
      Fig 40: Identifying Front Planetary Ring Gear And Bearing
      G05282900Courtesy of © TOYOTA, LICENSE AGREEMENT TMS1002
  43. REMOVE CENTER PLANETARY RING GEAR 
    1. Using a screwdriver, remove the snap ring.
      Fig 41: Removing Snap Ring
      G05282901Courtesy of © TOYOTA, LICENSE AGREEMENT TMS1002
    2. Remove the center planetary ring gear and front planetary ring gear flange from the front planetary ring gear.
      Fig 42: Identifying Center Planetary Ring Gear And Front Planetary Ring Gear Flange
      G05282902Courtesy of © TOYOTA, LICENSE AGREEMENT TMS1002
  44. REMOVE NO. 1 BRAKE DISC 
    1. Remove the flange, 3 discs and 3 plates from the case.
  45. INSPECT NO. 1 BRAKE DISC (See  INSPECTION   ) 
    Fig 43: Identifying Brake Discs & Plates
    G05282903Courtesy of © TOYOTA, LICENSE AGREEMENT TMS1002
  46. REMOVE BRAKE PISTON RETURN SPRING SNAP RING 
    1. Using a screwdriver, remove the brake piston return spring snap ring from the case.
      Fig 44: Removing Brake Piston Return Spring Snap Ring
      G05282904Courtesy of © TOYOTA, LICENSE AGREEMENT TMS1002
  47. REMOVE BRAKE PISTON RETURN SPRING SUB-ASSEMBLY 
    1. Remove the brake piston return spring and No. 1 brake piston with the No. 1 brake cylinder from the transmission case.
  48. INSPECT BRAKE PISTON RETURN SPRING SUB-ASSEMBLY (See  INSPECTION   ) 
    Fig 45: Identifying Brake Piston Return Spring
    G05282905Courtesy of © TOYOTA, LICENSE AGREEMENT TMS1002
  49. REMOVE NO. 1 BRAKE PISTON 
    1. Hold the No. 1 brake piston and apply compressed air (392 kPa, 4 kgf/cm2 , 57 psi) to the transmission case to remove the No. 1 brake piston.

      HINT:

      If the piston does not pop out with compressed air, lift the piston out with needle-nose pliers.

    2. Remove the 2 O-rings from the No. 1 brake piston.
      Fig 46: Applying Compressed Air To Transmission Case
      G05282906Courtesy of © TOYOTA, LICENSE AGREEMENT TMS1002
  50. REMOVE NO. 2 BRAKE DISC 
    1. Using a screwdriver, remove the snap ring from the case.
      Fig 47: Removing Snap Ring
      G05282907Courtesy of © TOYOTA, LICENSE AGREEMENT TMS1002
    2. Remove the flange, brake piston return spring, 3 discs and 3 plates from the case.
  51. INSPECT NO. 2 BRAKE DISC (See  INSPECTION   ) 
  52. INSPECT NO. 2 BRAKE PISTON RETURN SPRING SUB-ASSEMBLY (See  INSPECTION   ) 
    Fig 48: Identifying Flange, Brake Piston Return Spring
    G05282908Courtesy of © TOYOTA, LICENSE AGREEMENT TMS1002
  53. REMOVE NO. 2 BRAKE PISTON 
    1. Hold the No. 2 brake piston and apply compressed air (392 kPa, 4 kgf/cm2 , 57 psi) to the transmission case to remove the No. 2 brake piston.

      HINT:

      If the piston does not pop out with compressed air, lift the piston out with needle-nose pliers.

    2. Remove the 2 O-rings from the No. 2 brake piston.
      Fig 49: Applying Compressed Air To Transmission Case
      G05282909Courtesy of © TOYOTA, LICENSE AGREEMENT TMS1002
  54. REMOVE CENTER PLANETARY GEAR ASSEMBLY 
    1. Remove the center planetary gear assembly, planetary sun gear and No. 4 thrust bearing race from the case.
  55. INSPECT CENTER PLANETARY GEAR ASSEMBLY (See  INSPECTION   ) 
    Fig 50: Identifying Center Planetary Gear Assembly, Planetary Sun Gear And No. 4 Thrust Bearing Race
    G05282910Courtesy of © TOYOTA, LICENSE AGREEMENT TMS1002
  56. REMOVE INTERMEDIATE SHAFT 
    1. Using a screwdriver, remove the snap ring from the case.
      Fig 51: Removing Nap Ring From Case
      G05282911Courtesy of © TOYOTA, LICENSE AGREEMENT TMS1002
    2. Remove the intermediate shaft with the No. 3 1-way clutch assembly from the case.
  57. INSPECT NO. 3 1-WAY CLUTCH ASSEMBLY (See  INSPECTION   ) 
    Fig 52: Removing Intermediate Shaft
    G05282912Courtesy of © TOYOTA, LICENSE AGREEMENT TMS1002
  58. REMOVE NO. 3 1-WAY CLUTCH ASSEMBLY 
    1. Remove the No. 3 1-way clutch assembly and 1-way clutch inner race from the intermediate shaft.
      Fig 53: Identifying No. 3 1-Way Clutch Assembly
      G05282913Courtesy of © TOYOTA, LICENSE AGREEMENT TMS1002
  59. REMOVE REAR PLANETARY RING GEAR FLANGE SUB-ASSEMBLY 
    1. Remove the No. 8 thrust bearing race, thrust needle roller bearing, No. 7 thrust bearing race and planetary ring gear flange from the intermediate shaft.
  60. INSPECT REAR PLANETARY RING GEAR FLANGE SUB-ASSEMBLY (See  INSPECTION   ) 
  61. INSPECT INTERMEDIATE SHAFT (See  INSPECTION   ) 
    Fig 54: Identifying No. 8 Thrust Bearing Race, Thrust Needle Roller Bearing, No. 7 Thrust Bearing Race
    G05282914Courtesy of © TOYOTA, LICENSE AGREEMENT TMS1002
  62. REMOVE BRAKE PLATE STOPPER SPRING 
    1. Remove the brake plate stopper spring from the case.
      Fig 55: Locating Brake Plate Stopper Spring
      G05282915Courtesy of © TOYOTA, LICENSE AGREEMENT TMS1002
  63. REMOVE NO. 4 BRAKE DISC 
    1. Remove the 7 plates, 8 discs and 2 flanges from the case.
  64. INSPECT NO. 4 BRAKE DISC (See  INSPECTION   ) 
    Fig 56: Identifying Plates, Discs And Flanges
    G05282916Courtesy of © TOYOTA, LICENSE AGREEMENT TMS1002
  65. REMOVE REAR PLANETARY GEAR ASSEMBLY 
    1. Remove the rear planetary gear assembly from the case.
      Fig 57: Identifying Rear Planetary Gear Assembly
      G05282917Courtesy of © TOYOTA, LICENSE AGREEMENT TMS1002
    2. Remove the No. 9 thrust bearing race and thrust needle roller bearing from the rear planetary gear assembly.
      Fig 58: Identifying Thrust Needle Roller Bearing
      G05282918Courtesy of © TOYOTA, LICENSE AGREEMENT TMS1002
    3. Remove the thrust needle roller bearing from the case.
  66. INSPECT REAR PLANETARY GEAR ASSEMBLY (See  INSPECTION   ) 
    Fig 59: Identifying Thrust Needle Roller Bearing
    G05282919Courtesy of © TOYOTA, LICENSE AGREEMENT TMS1002
  67. REMOVE 1ST AND REVERSE BRAKE RETURN SPRING SUB-ASSEMBLY 
    1. Place SST on the spring retainer and compress the brake return spring.

      SST 09350-30020 (09350-07050) 

    2. Using SST, remove the snap ring and brake return spring.

      SST 09350-30020 (09350-07070) 

  68. INSPECT 1ST AND REVERSE BRAKE RETURN SPRING SUB-ASSEMBLY (See  INSPECTION   ) 
    Fig 60: Removing Snap Ring And Brake Return Spring
    G05282920Courtesy of © TOYOTA, LICENSE AGREEMENT TMS1002
  69. REMOVE 1ST AND REVERSE BRAKE PISTON 
    1. Hold the No. 2 brake piston and apply compressed air (392 kPa, 4 kgf/cm2 , 57 psi) to the transmission case to remove the No. 2 brake piston.

      HINT:

      If the piston does not pop out with compressed air, lift the piston out with needle-nose pliers.

    2. Remove the O-ring from the No. 2 brake piston.
      Fig 61: Applying Compressed Air To Transmission Case
      G05282921Courtesy of © TOYOTA, LICENSE AGREEMENT TMS1002
  70. REMOVE BRAKE REACTION SLEEVE 
    1. Using SST, remove the reaction sleeve.

      SST 09350-30020 (09350-07080) 

    2. Remove the O-ring from the reaction sleeve.
      Fig 62: Removing Reaction Sleeve
      G05282922Courtesy of © TOYOTA, LICENSE AGREEMENT TMS1002
  71. REMOVE NO. 4 BRAKE PISTON 
    1. Using SST, remove the No. 4 brake piston.

      SST 09350-30020 (09350-07090) 

    2. Remove the 2 O-rings from the No. 4 piston.
      Fig 63: Applying Compressed Air To Transmission Case
      G05282923Courtesy of © TOYOTA, LICENSE AGREEMENT TMS1002