lemon-mirror:
Home >> Lexus >> 2007 >> LX 470 >> Repair and Diagnosis >> Transmission >> Automatic Trans >> Automatic Transaxle >> Automatic Transmission Unit >> Reassembly

Automatic Transmission Unit: Reassembly

  1. BEARING POSITION 
    Fig 1: Checking Bearing Position
    G05282948Courtesy of © TOYOTA, LICENSE AGREEMENT TMS1002

    Bearing diameter 

    BEARING DIAMETER SPECIFICATION

    Mark Front Race Diameter Inside / Outside Thrust Bearing Diameter Inside / Outside Rear Race Diameter Inside / Outside
    A 73.6 mm (2.898 in.) /102.0 mm (4.016 in.) 71.9 mm (2.831 in.) / 85.6 mm (3.370 in.) -
    B 38.0 mm (1.496 in.) / 57.0 mm (2.244 in.) 43.4 mm (1.709 in.) / 58.3 mm (2.295 in.) -
    C - 55.7 mm (2.193 in.) / 76.4 mm (3.008 in.) 53.7 mm (2.114 in.) / 74.0 mm (2.913 in.)
    D 33.4 mm (1.315 in.)/49.0 mm (1.929 in.) 32.1 mm (1.264 in.) / 49.35 mm (1.943 in.) 32.1 mm (1.2649 in.)/49.0 mm (1.929 in.)
    E - 21.5 mm (0.847 in.) / 40.8 mm (1.606 in.) -
    F 48.5 mm (1.909 in.) / 62.7 mm (2.469 in.) 45.9 mm (1.807 in.) / 64.0 mm (2.520 in.) -
  2. INSTALL NO. 4 BRAKE PISTON 
    1. Coat 2 new O-rings with ATF, and install them to the brake reaction sleeve.
    2. Coat 2 new O-rings with ATF, and install them to the No. 4 brake piston.
    3. Install the No. 4 brake piston to the reaction sleeve.
      Fig 2: Identifying No. 4 Brake Piston O-Rings
      G05282949Courtesy of © TOYOTA, LICENSE AGREEMENT TMS1002
  3. INSTALL BRAKE REACTION SLEEVE 
    1. Coat a new O-ring with ATF, and install it to the reaction sleeve.
    2. With the No. 1 brake piston underneath (the rear side), install the brake reaction sleeve and No. 1 brake piston to the transmission case.
      NOTE: Be careful not to damage the O-rings.
      Fig 3: Identifying Brake Reaction Sleeve
      G05282950Courtesy of © TOYOTA, LICENSE AGREEMENT TMS1002
  4. INSTALL 1ST AND REVERSE BRAKE PISTON 
    1. Coat a new O-ring with ATF.
    2. Install the O-ring on the 1st and reverse brake piston.
    3. With the spring seat of the piston facing upwards (the front side), place the piston in the transmission case.
      NOTE: Be careful not to damage the O-ring.
      Fig 4: Identifying 1ST And Reverse Brake Piston
      G05282951Courtesy of © TOYOTA, LICENSE AGREEMENT TMS1002
    4. Place the piston return spring onto the No. 4 brake piston.
      Fig 5: Locating Piston Return Spring
      G05282952Courtesy of © TOYOTA, LICENSE AGREEMENT TMS1002
  5. INSTALL 1ST AND REVERSE BRAKE RETURN SPRING SUB-ASSEMBLY 
    1. Place SST on the spring retainer, and compress the return spring.

      SST 09350-30020 (09350-07050) 

    2. Using SST, install the snap ring.

      SST 09350-30020 (09350-07070) 

      Fig 6: Installing Snap Ring
      G05282953Courtesy of © TOYOTA, LICENSE AGREEMENT TMS1002
  6. INSTALL REAR PLANETARY GEAR ASSEMBLY 
    1. Install the thrust needle roller bearing.

      Standard thrust needle roller bearing diameter 

      THRUST NEEDLE ROLLER BEARING SPECIFICATION

      Item Inside Outside
      Thrust needle roller bearing 45.9 mm (1.807 in.) 64.0 mm (2.520 in.)
      Fig 7: Identifying Thrust Needle Roller Bearing
      G05282954Courtesy of © TOYOTA, LICENSE AGREEMENT TMS1002
    2. Install the thrust needle roller bearing.
    3. Coat the No. 9 thrust bearing race with petroleum jelly, and install it onto the rear planetary ring gear.

      Standard bearing and race diameter 

      BEARING AND RACE SPECIFICATION

      Item Inside Outside
      Bearing 21.5 mm (0.847 in.) 40.8 mm (1.606 in.)
      Race 48.5 mm (1.909 in.) 62.7 mm (2.469 in.)
      Fig 8: Identifying Thrust Needle Roller Bearing
      G05282955Courtesy of © TOYOTA, LICENSE AGREEMENT TMS1002
    4. Install the rear planetary gear assembly.
      Fig 9: Identifying Rear Planetary Gear Assembly
      G05282956Courtesy of © TOYOTA, LICENSE AGREEMENT TMS1002
  7. INSPECT PACK CLEARANCE OF FIRST AND REVERSE BRAKE 
    1. Make sure the 1st and reverse brake pistons move smoothly when applying and releasing the compressed air into the transmission case.
      Fig 10: Applying Compressed Air Into Transmission Case
      G05282957Courtesy of © TOYOTA, LICENSE AGREEMENT TMS1002
    2. Using vernier caliper, measure the level difference (length A) between the upper surface of the 1st and reverse brake piston and the hitting surface of the No. 4 brake flange at both ends across a diameter, and calculate the average.
      NOTE: The 1st and reverse brake piston must be installed tightly to the end face of the transmission case.

      HINT:

      Length A = 36.35 to 37.09 mm (1.431 to 1.460 in.)

      Fig 11: Measuring Level Difference Between Upper Surface Of 1ST And Reverse Brake Piston
      G05282958Courtesy of © TOYOTA, LICENSE AGREEMENT TMS1002
    3. Using a vernier caliper, measure the thickness (length B) of the 2 brake flanges, the 7 No. 4 brake plates and the 8 No. 4 brake discs altogether at both ends across a diameter, and calculate the average.

      HINT:

      Pack clearance = Length A - Length B - 0.25 mm to 1.8 mm (0.010 to 0.071 in.) Length B = 36.04 to 37.14 mm (1.419 to 1.462 in.)

      Pack clearance: 0.8 to 1.1 mm (0.031 to 0.043 in.) 

    4. If the pack clearance is outside the standard, select and install a brake flange that makes the pack clearance within the standard.
      Fig 12: Measuring Thickness Of Brake Flanges
      G05282959Courtesy of © TOYOTA, LICENSE AGREEMENT TMS1002

      H thickness 

      THICKNESS CHART

      No. Thickness No. Thickness
      0 0 mm (0 in.) 8 0.8 mm (0.032 in.)
      2 0.2 mm (0.008 in.) 10 1. 0 mm (0.039 in.)
      4 0.4 mm (0.016 in.) 12 1. 2 mm (0.047 in.)
      6 0.6 mm (0.024 in.) 14 1. 4 mm (0.055 in.)
  8. INSTALL NO. 4 BRAKE DISC 
    1. Install the 7 plates, 8 discs and 2 flanges.

      Install in order: F-D-P-D-P-D-P-D-P-D-P-D-P-D-P-D-F 

      HINT:

      P = Plate, D = Disc, F = Flange

      Fig 13: Identifying Plates, DISCS And Flanges
      G05282960Courtesy of © TOYOTA, LICENSE AGREEMENT TMS1002
  9. INSTALL BRAKE PLATE STOPPER SPRING 
    1. Install the brake stopper spring.
      Fig 14: Locating Brake Plate Stopper Spring
      G05282961Courtesy of © TOYOTA, LICENSE AGREEMENT TMS1002
  10. INSTALL REAR PLANETARY RING GEAR FLANGE SUB-ASSEMBLY 
    1. Install the No. 8 thrust bearing race, thrust needle roller bearing, No. 7 thrust bearing race and planetary ring gear flange to the intermediate shaft.

      Standard bearing and race diameter 

      BEARING AND RACE SPECIFICATION

      Item Inside Outside
      No. 7 thrust bearing race 33.4 mm (1.315 in.) 49.0 mm (1.929 in.)
      Thrust needle roller bearing 32.1 mm (1.264 in.) 49.35 mm (1.943 in.)
      No. 8 thrust bearing race 32.1 mm (1.264 in.) 49.0 mm (1.929 in.)
      Fig 15: Identifying No. 8 Thrust Bearing Race, Thrust Needle Roller Bearing, No. 7 Thrust Bearing Race
      G05282962Courtesy of © TOYOTA, LICENSE AGREEMENT TMS1002
  11. INSTALL NO. 3 1-WAY CLUTCH ASSEMBLY 
    1. Install the No. 3 1-way clutch assembly and the 1-way clutch inner race to the intermediate shaft.
      Fig 16: Identifying No. 3 1-Way Clutch Assembly
      G05282963Courtesy of © TOYOTA, LICENSE AGREEMENT TMS1002
  12. INSTALL INTERMEDIATE SHAFT 
    1. Install the intermediate shaft with the No. 3 1-way clutch assembly to the case.
      Fig 17: Installing Intermediate Shaft
      G05282964Courtesy of © TOYOTA, LICENSE AGREEMENT TMS1002
    2. Using SST, install the snap ring.

      SST 09350-30020 (09350-07050, 09350-07060) 

      Fig 18: Installing Snap Ring
      G05282965Courtesy of © TOYOTA, LICENSE AGREEMENT TMS1002
  13. INSTALL CENTER PLANETARY GEAR ASSEMBLY 
    1. Install the center planetary gear assembly and planetary sun gear to the case.
    2. Coat the thrust bearing race with petroleum jelly, and install it onto the center planetary ring gear.

      Standard race diameter 

      STANDARD RACE DIAMETER SPECIFICATION

      Item Inside Outside
      Race 53.7 mm (2.114 in.) 74.0 mm (2.913 in.)
      Fig 19: Identifying Center Planetary Gear Assembly, Planetary Sun Gear And No. 4 Thrust Bearing Race
      G05282966Courtesy of © TOYOTA, LICENSE AGREEMENT TMS1002
  14. INSTALL NO. 2 BRAKE PISTON 
    1. Coat 2 new O-rings with ATF, and install them to the No. 2 brake piston.
    2. Be careful not to damage the O-rings. Press the No. 2 brake piston into the No. 2 brake cylinder with both hands.
    3. Install the No. 2 brake piston to the case.
      Fig 20: Identifying O-Rings
      G05282967Courtesy of © TOYOTA, LICENSE AGREEMENT TMS1002
  15. INSTALL NO. 2 BRAKE DISC 
    1. Install the flange, 3 plates, 3 discs and brake piston return spring.

      Install in order: D-P-D-P-D-P-F 

      HINT:

      P = Plate, D = Disc, F = Flange

      Fig 21: Identifying Flange, Plates, Discs And Brake Piston Return Spring
      G05282968Courtesy of © TOYOTA, LICENSE AGREEMENT TMS1002
    2. Using SST and press, install the No. 2 brake spring snap ring.

      SST 09351-40010 

      Fig 22: Installing No. 2 Brake Spring Snap Ring
      G05282969Courtesy of © TOYOTA, LICENSE AGREEMENT TMS1002
  16. INSTALL NO. 1 BRAKE PISTON 
    1. Coat 2 new O-rings with ATF, and install them on the No. 1 brake piston.
    2. Be careful not to damage the O-rings. Press the No. 1 brake piston into the No. 1 brake cylinder with both hands.
      Fig 23: Identifying O-Rings
      G05282970Courtesy of © TOYOTA, LICENSE AGREEMENT TMS1002
  17. INSTALL BRAKE PISTON RETURN SPRING SUB-ASSEMBLY 
    1. Install the brake piston return spring and No. 1 brake piston with No. 1 brake cylinder on the transmission case.
      Fig 24: Identifying Brake Piston Return Spring
      G05282971Courtesy of © TOYOTA, LICENSE AGREEMENT TMS1002
  18. INSTALL BRAKE PISTON RETURN SPRING SNAP RING 
    1. Using SST and a press, install the brake piston return spring snap ring.

      SST 09351-40010 

      Fig 25: Installing Brake Piston Return Spring Snap Ring
      G05282972Courtesy of © TOYOTA, LICENSE AGREEMENT TMS1002
  19. INSTALL NO. 1 BRAKE DISC 
    1. Install the 3 plates, 3 discs and flange.

      Install in order: P-D-P-D-P-D-P-D-F 

      HINT:

      P = Plate, D = Disc, F = Flange

      Fig 26: Identifying No. 1 Brake Plates, Discs And Flange
      G05282973Courtesy of © TOYOTA, LICENSE AGREEMENT TMS1002
  20. INSTALL CENTER PLANETARY RING GEAR 
    1. Install the center planetary ring gear and front planetary ring gear flange on the front planetary ring gear.
      Fig 27: Identifying Center Planetary Ring Gear And Front Planetary Ring Gear Flange
      G05282974Courtesy of © TOYOTA, LICENSE AGREEMENT TMS1002
    2. Using a screwdriver, install the snap ring.
      Fig 28: Installing Snap Ring
      G05282975Courtesy of © TOYOTA, LICENSE AGREEMENT TMS1002
  21. INSTALL FRONT PLANETARY RING GEAR 
    1. Install the front planetary ring gear and thrust needle roller bearing on the case.

      Standard thrust needle roller bearing diameter 

      THRUST NEEDLE ROLLER BEARING SPECIFICATION

      Item Inside Outside
      Thrust needle roller bearing 55.7 mm (2.193 in.) 76.4 mm (3.008 in.)
      Fig 29: Identifying Front Planetary Ring Gear And Bearing
      G05282976Courtesy of © TOYOTA, LICENSE AGREEMENT TMS1002
  22. INSTALL FRONT PLANETARY GEAR ASSEMBLY 
    1. Install the thrust needle roller bearing and thrust washer.
    2. Coat the thrust race with petroleum jelly, and install it onto the front planetary ring gear.

      Standard thrust needle roller bearing and race diameter 

      THRUST NEEDLE ROLLER BEARING SPECIFICATION

      Item Inside Outside
      Thrust needle roller bearing 43.4 mm (1.709 in.) 58.3 mm (2.295 in.)
      Fig 30: Identifying Thrust Needle Roller Bearing And Thrust Washer
      G05282977Courtesy of © TOYOTA, LICENSE AGREEMENT TMS1002
      THRUST NEEDLE ROLLER BEARING SPECIFICATION

      Item Inside Outside
      Race 38.0 mm (1.496 in.) 57.0 mm (2.244 in.)
    3. Install the front planetary gear assembly and 1-way clutch inner race from the case.
      Fig 31: Identifying Front Planetary Gear Assembly And 1 -Way Clutch Inner Race
      G05282978Courtesy of © TOYOTA, LICENSE AGREEMENT TMS1002
  23. INSPECT NO. 1 PISTON STROKE OF BRAKE PISTON 
    1. Make sure the No. 1 brake piston moves smoothly when applying and releasing the compressed air into the transmission case.
      Fig 32: Applying Compressed Air Into Transmission Case
      G05282979Courtesy of © TOYOTA, LICENSE AGREEMENT TMS1002
    2. Using a feeler gauge, measure the B3 brake pack clearance between the snap ring and flange.

      Standard piston stroke: 0.42 to 0.72 mm (0.0165 to 0.0283 in.) 

      If the piston stroke is outside the specification, parts may have been assembled incorrectly.

      Perform the reassembly again.

      If the piston stroke is still outside the specification, select another flange.

      HINT:

      There are 4 different thicknesses for the flange.

      Fig 33: Measuring B3 Brake Pack Clearance Between Snap Ring And Flange
      G05282980Courtesy of © TOYOTA, LICENSE AGREEMENT TMS1002

      Standard flange thickness 

      FLANGE THICKNESS CHART

      No. Thickness No. Thickness
      0 2.0 mm (0.079 in.) 2 2.4 mm (0.094 in.)
      1 2.2 mm (0.087 in.) 3 2.6 mm (0.102 In.)
  24. INSTALL 2ND BRAKE PISTON 
    1. Coat 2 new O-rings with ATF, and install them to the 2nd brake piston.
    2. Be careful not to damage the O-rings. Press the 2nd brake cylinder into the 2nd brake piston with both hands.
      Fig 34: Identifying O-Rings
      G05282981Courtesy of © TOYOTA, LICENSE AGREEMENT TMS1002
    3. Using SST and press, install the snap ring. SST 09351-40010
      NOTE: Be sure the end gap of the snap ring is not aligned with the spring retainer claw.
      Fig 35: Installing Snap Ring
      G05282982Courtesy of © TOYOTA, LICENSE AGREEMENT TMS1002
  25. INSTALL 2ND BRAKE CYLINDER 
    1. Install the 2nd brake cylinder to the case.
      Fig 36: Identifying 2Nd Brake Cylinder
      G05282983Courtesy of © TOYOTA, LICENSE AGREEMENT TMS1002
  26. INSTALL 1-WAY CLUTCH ASSEMBLY 
    1. Install the 1 -way clutch and thrust washer to the case.
      Fig 37: Identifying 1-Way Clutch Assembly
      G05282984Courtesy of © TOYOTA, LICENSE AGREEMENT TMS1002
  27. INSTALL 2ND BRAKE PISTON HOLE SNAP RING 
    1. Using SST, install the snap ring.

      SST 09350-30020 (09350-07060) 

      Fig 38: Installing 2nd Brake Piston Hole Snap Ring
      G05282985Courtesy of © TOYOTA, LICENSE AGREEMENT TMS1002
  28. INSTALL NO. 3 BRAKE DISC 
    1. install the flanges, 4 discs, 4 plates and cushion plate to the case.

      Install in order: C-P-D-P-D-P-D-P-D-F 

      HINT:

      P = Plate, D = Disc, F = Flange C = Cushion

      Fig 39: Identifying Flanges, Discs, Plates & Cushion Plate
      G05282986Courtesy of © TOYOTA, LICENSE AGREEMENT TMS1002
  29. INSTALL NO. 3 BRAKE SNAP RING 
    1. Using a screwdriver, install the snap ring.
      Fig 40: Installing No. 3 Brake Snap Ring
      G05282987Courtesy of © TOYOTA, LICENSE AGREEMENT TMS1002
  30. INSTALL NO. 2 1-WAY CLUTCH ASSEMBLY 
    1. Coat the race with petroleum jelly and install it onto the No. 2 clutch drum thrust washer.
    2. Install the No. 2 1-way clutch assembly washer.
      Fig 41: Identifying No. 2 1 -Way Clutch Assembly
      G05282988Courtesy of © TOYOTA, LICENSE AGREEMENT TMS1002
  31. INSTALL CLUTCH DRUM AND INPUT SHAFT ASSEMBLY 
    1. Install the thrust needle roller bearing.
    2. Coat the race with petroleum jelly and install it onto the clutch drum and input shaft assembly.

      Standard thrust needle roller bearing and diameter 

      THRUST NEEDLE ROLLER BEARING SPECIFICATION

      Item Inside Outside
      Thrust needle roller bearing 71.9 mm (2.831 in.) 85.6 mm (3.370 in.)
      Race 73.6 mm (2.898 in.) 102.0 mm (4.016 in.)
    3. Install the input shaft sub-assembly with the direct and reverse multiple disc assembly onto the transmission case.
      Fig 42: Identifying Thrust Needle Roller Bearing
      G05282989Courtesy of © TOYOTA, LICENSE AGREEMENT TMS1002
      Fig 43: Installing Input Shaft Sub-Assembly
      G05282990Courtesy of © TOYOTA, LICENSE AGREEMENT TMS1002
  32. INSTALL OIL PUMP ASSEMBLY 
    1. Install the No. 1 thrust bearing race to the front oil pump.

      Standard No. 1 thrust bearing race diameter 

      THRUST BEARING RACE DIAMETER SPECIFICATION

      Item Inside Outside
      Race 74.2 mm (2.921 in.) 87.74 mm (3.454 in.)
      Fig 44: Identifying No. 1 Thrust Bearing Race
      G05282991Courtesy of © TOYOTA, LICENSE AGREEMENT TMS1002
    2. Coat a new O-ring with ATF, and install it around the oil pump assembly.
    3. Place the oil pump through the input shaft, and align the bolt holes of the oil pump assembly with the transmission case.
    4. Hold the input shaft, and lightly press the oil pump body to slide the oil seal rings into the overdrive direct clutch drum.
      NOTE: Do not push on the oil pump strongly, as the oil seal ring will stick to the direct clutch drum.
      Fig 45: Identifying O-Ring
      G05282992Courtesy of © TOYOTA, LICENSE AGREEMENT TMS1002
    5. Install the 10 bolts.

      Torque: 21 N*m (214 kgf*cm, 15 ft.*lbf) 

      Fig 46: Installing Oil Pump Assembly Bolts
      G05282993Courtesy of © TOYOTA, LICENSE AGREEMENT TMS1002
  33. INSTALL MANUAL VALVE LEVER SHAFT OIL SEAL 
    1. Using SST, tap in 2 new oil seals.

      SST 09350-30020 (09350-07110) 

    2. Coat the oil seal lips with MP grease.
  34. INSPECT INDIVIDUAL PISTON OPERATION INSPECTION (See  INSPECTION   ) 
    Fig 47: Tapping Oil Seals
    G05282994Courtesy of © TOYOTA, LICENSE AGREEMENT TMS1002
  35. INSTALL MANUAL VALVE LEVER SUB-ASSEMBLY 
    1. Install a new spacer to the manual valve lever.
    2. Install the manual valve lever shaft to the transmission case through the manual valve lever.
      Fig 48: Installing Manual Valve Lever Shaft To Transmission Case
      G05282995Courtesy of © TOYOTA, LICENSE AGREEMENT TMS1002
    3. Using a hammer, tap in a new spring pin.
      Fig 49: Tapping In Spring Pin
      G05282996Courtesy of © TOYOTA, LICENSE AGREEMENT TMS1002
    4. Align the manual valve lever indentation with the spacer hole, and stake them together with a punch and hammer.
    5. Make sure the shaft rotates smoothly.
      Fig 50: Aligning Manual Valve Lever
      G05282997Courtesy of © TOYOTA, LICENSE AGREEMENT TMS1002
  36. INSTALL PARKING LOCK PAWL SHAFT 
    1. Install the E-ring to the shaft.
    2. Install the parking lock pawl, shaft and spring.
      Fig 51: Identifying Parking Lock Pawl, Shaft And Spring
      G05282998Courtesy of © TOYOTA, LICENSE AGREEMENT TMS1002
  37. INSTALL PARKING LOCK ROD SUB-ASSEMBLY 
    1. Connect the parking lock rod to the manual valve lever.
      Fig 52: Connecting Parking Lock Rod
      G05282999Courtesy of © TOYOTA, LICENSE AGREEMENT TMS1002
  38. INSTALL PARKING LOCK PAWL BRACKET 
    1. Place the parking lock pawl bracket onto the transmission case and torque the 3 bolts.

      Torque: 7.4 N*m (75 kgf*cm, 65 in.*lbf) 

      Fig 53: Installing Bolts And Parking Lock Pawl Bracket
      G05283000Courtesy of © TOYOTA, LICENSE AGREEMENT TMS1002
    2. Shift the manual valve lever to the P position, and confirm that the planetary ring gear is correctly locked up by the lock pawl.
      Fig 54: Identifying Shift Manual Valve Lever And Planetary Ring Gear
      G05283001Courtesy of © TOYOTA, LICENSE AGREEMENT TMS1002
  39. INSTALL C-1 ACCUMULATOR VALVE 
    1. Coat a new O-ring with ATF, and install it to the piston.
      Fig 55: Identifying Accumulator Valve
      G05283002Courtesy of © TOYOTA, LICENSE AGREEMENT TMS1002
    2. Install the spring and accumulator valve to the hole.

      Standard accumulator spring 

      STANDARD ACCUMULATOR SPRING REFERENCE

      Spring Free Length Outer Diameter Color
      C-1 Inner 30.40 mm (1.197 in.)
      11.40 mm (0.449 in.)
      Pink
      C-1 Outer 48.76 mm (1.920 in.)
      16.60 mm (0.654 in.)
      Light green
      Fig 56: Identifying Spring And Accumulator Valve
      G05283003Courtesy of © TOYOTA, LICENSE AGREEMENT TMS1002
  40. INSTALL C-3 ACCUMULATOR PISTON 
    1. Coat a new O-ring with ATF, and install it to the piston.
      Fig 57: Identifying C-3 Accumulator Piston
      G05283004Courtesy of © TOYOTA, LICENSE AGREEMENT TMS1002
    2. Install the spring and accumulator piston to the hole.

      Standard accumulator spring 

      STANDARD ACCUMULATOR SPRING SPECIFICATION

      Spring Free Length Outer Diameter Color
      C-3 Inner 44.0 mm (1.732 in.)
      14.0 mm (0.551 in.)
      Yellow
      C-3 Outer 73.35 mm (2.888 in.)
      19.90 mm (0.784 in.)
      Red
      Fig 58: Identifying Spring And Accumulator Piston
      G05283005Courtesy of © TOYOTA, LICENSE AGREEMENT TMS1002
  41. INSTALL B-3 ACCUMULATOR PISTON 
    1. Coat 2 new O-rings with ATF, and install them to the piston.
      Fig 59: Identifying B-3 Accumulator Piston
      G05283006Courtesy of © TOYOTA, LICENSE AGREEMENT TMS1002
    2. Install the spring and accumulator piston to the hole.

      Standard accumulator spring 

      STANDARD ACCUMULATOR SPRING SPECIFICATION

      Spring Free length Outer diameter Color
      B-3 70.5 mm (2.776 in.)
      19.7 mm (0.776 in.)
      Purple
      Fig 60: Identifying Spring And Accumulator Piston
      G05283007Courtesy of © TOYOTA, LICENSE AGREEMENT TMS1002
  42. INSTALL C-2 ACCUMULATOR PISTON 
    1. Coat 2 new O-rings with ATF, and install them to the piston.
      Fig 61: Identifying C-2 Accumulator Piston
      G05283008Courtesy of © TOYOTA, LICENSE AGREEMENT TMS1002
    2. Install the spring and accumulator piston to the hole.

      Standard accumulator spring 

      STANDARD ACCUMULATOR SPRING SPECIFICATION

      Spring Free length Outer diameter Color
      C-2 62.0 mm (2.441 in.)
      15.9 mm (0.6260 in.)
      White
      Fig 62: Identifying Spring And Accumulator Piston
      G05283009Courtesy of © TOYOTA, LICENSE AGREEMENT TMS1002
  43. INSTALL CHECK BALL BODY 
    1. Install the check ball body and spring.
      Fig 63: Identifying Check Ball Body And Spring
      G05283010Courtesy of © TOYOTA, LICENSE AGREEMENT TMS1002
  44. INSTALL BRAKE DRUM GASKET 
    1. Install the 3 new brake drum gaskets.
      Fig 64: Identifying Brake Drum Gaskets
      G05283011Courtesy of © TOYOTA, LICENSE AGREEMENT TMS1002
  45. INSTALL TRANSAXLE CASE GASKET 
    1. Install the 3 transaxle case gaskets.
      Fig 65: Identifying Transaxle Case Gaskets
      G05283012Courtesy of © TOYOTA, LICENSE AGREEMENT TMS1002
  46. INSTALL TRANSMISSION VALVE BODY ASSEMBLY 
    1. Align the groove of the manual valve with the pin of the lever.
      Fig 66: Aligning Groove Of Manual Valve With Pin Of Lever
      G05283013Courtesy of © TOYOTA, LICENSE AGREEMENT TMS1002
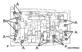
    2. Install the 19 bolts.

      Torque: 11 N*m (110 kgf*cm, 8 ft.*lbf) 

      HINT:

      Each bolt length is indicated below.

      Standard bolt length: 

      25 mm (0.98 in.) for bolt A 

      36 mm (1.42 in.) for bolt B 

      Fig 67: Identifying Transmission Bolts
      G05283014Courtesy of © TOYOTA, LICENSE AGREEMENT TMS1002
  47. INSTALL TRANSMISSION WIRE 
    1. Install a new O-ring to the transmission wire.
    2. Install the transmission wire harness.
    3. Install the bolt.

      Torque: 5.4 N*m (55 kgf*cm, 48 in.*lbf) 

    4. Connect the solenoid connector.
      Fig 68: Locating Case Bolt
      G05283015Courtesy of © TOYOTA, LICENSE AGREEMENT TMS1002
    5. Connect the 7 solenoid connectors.
    6. Install the ATF temperature sensor.
    7. Install the clamp and the 2 bolts.

      Torque: 10 N*m (100 kgf*cm, 7 ft.*lbf) for bolt A 

      11 N*m (112 kgf*cm, 8 ft.*lbf) for bolt B 

      HINT:

      Each bolt length is indicated below.

      Standard bolt length: 

      12 mm (0.47 in.) for bolt A 

      36 mm (1.42 in.) for bolt B 

      Fig 69: Identifying Transmission Wire Bolts
      G05283016Courtesy of © TOYOTA, LICENSE AGREEMENT TMS1002
  48. INSTALL VALVE BODY OIL STRAINER ASSEMBLY 
    1. Coat a new O-ring with ATF, and install them to the valve body oil strainer.
    2. Install the oil strainer with the 4 bolts.

      Torque: 10 N*m (100 kgf*cm, 7 ft.*lbf) 

      Fig 70: Locating Valve Body Oil Strainer Assembly Bolts
      G05283017Courtesy of © TOYOTA, LICENSE AGREEMENT TMS1002
  49. INSTALL TRANSMISSION OIL CLEANER MAGNET 
    1. Install the 4 transmission oil cleaner magnets.
  50. INSTALL AUTOMATIC TRANSMISSION OIL PAN SUB-ASSEMBLY 
    1. Install a new gasket on the oil pan.
    2. Install the 20 bolts.

      Torque: 4.4 N*m (45 kgf*cm, 39 in.*lbf) 

    3. Install the drain plug.

      Torque: 20 N*m (204 kgf*cm, 15 ft.*lbf) 

      Fig 71: Identifying Transmission Oil Cleaner Magnets
      G05283018Courtesy of © TOYOTA, LICENSE AGREEMENT TMS1002
  51. INSTALL TRANSMISSION CASE ADAPTOR OIL SEAL 
    1. Using SST and a hammer, tap in a new oil seal.

      SST 09226-10010 

      Fig 72: Tapping In Oil Seal
      G05283019Courtesy of © TOYOTA, LICENSE AGREEMENT TMS1002
  52. INSTALL TRANSMISSION CASE ADAPTER SUB-ASSEMBLY 
    1. Apply seal packing or equivalent to the 8 bolts.

      Seal breadth: 1.0 to 1.5 mm (0.4 to 0.06 in.) 

      Seal packing: Part No. 08826-00090, THREE BOND 1281 or equivalent. 

      Fig 73: Identifying Transmission Case Adapter Sub-Assembly
      G05283020Courtesy of © TOYOTA, LICENSE AGREEMENT TMS1002
    2. Install the transmission case adapter sub-assembly with the 8 bolts.

      Torque: 34 N*m (345 kgf*cm, 25 ft.*lbf) 

      HINT:

      Each bolt length is indicated below.

      Standard bolt length: 

      50 mm (1.969 in.) for bolt A 

      45 mm (1.772 in.) for bolt B 

      Fig 74: Identifying Transmission Case Adapter Bolts
      G05283021Courtesy of © TOYOTA, LICENSE AGREEMENT TMS1002
  53. INSTALL AUTOMATIC TRANSMISSION HOUSING 
    1. Clean the threads of the bolts and case with white gasoline.
    2. Install the transmission housing with the 10 bolts.

      Torque: 34 N*m (345 kgf*cm, 25 ft.*lbf) for bolt A 

      57 N*m (581 kgf*cm, 42 ft.*lbf) for bolt B 

      34 N*m (345 kgf*cm, 25 ft.*lbf) for bolt C 

      HINT:

      Each bolt head is indicated bellow.

      14 mm for bolt A and C

      17 mm for bolt B

      Fig 75: Locating Automatic Transmission Housing Bolt
      G05283022Courtesy of © TOYOTA, LICENSE AGREEMENT TMS1002
  54. INSTALL AUTOMATIC TRANSAXLE BREATHER TUBE 
    1. Install a new O-ring to the breather tube.
    2. Install the breather tube with the 3 bolts.

      Torque: 5.4 N*m (55 kgf*cm, 48 in.*lbf) 

      Fig 76: Identifying Automatic Transaxle Breather Tube
      G05283023Courtesy of © TOYOTA, LICENSE AGREEMENT TMS1002
  55. INSTALL TRANSMISSION REVOLUTION SENSOR 
    1. Coat 2 new O-rings with AFT, and install it to the transmission revolution sensor.
    2. Install the 2 transmission revolution sensors.
    3. Install the 2 bolts.

      Torque: 5.4 N*m (55 kgf*cm, 48 in.*lbf) 

      Fig 77: Locating Bolts And Speed Sensor
      G05283024Courtesy of © TOYOTA, LICENSE AGREEMENT TMS1002
  56. INSTALL OIL COOLER TUBE UNION 
    1. Coat a new O-ring with ATF, and install it to oil cooler tube union.
    2. Install the oil cooler tube union.

      Torque: 29 N*m (296 kgf*cm, 21 ft.*lbf) 

      Fig 78: Identifying Oil Cooler Tube Union
      G05283025Courtesy of © TOYOTA, LICENSE AGREEMENT TMS1002
  57. INSTALL PARK/NEUTRAL POSITION SWITCH ASSEMBLY 
    1. Install the park/neutral position switch onto the manual valve lever shaft, and temporarily install the adjusting bolt.
    2. Install the new lock washer. Install and torque the nut.

      Torque: 6.9 N*m (70 kgf*cm, 61 in.*lbf) 

      Fig 79: Locating Nut, Lock Washer And Bolt
      G05283026Courtesy of © TOYOTA, LICENSE AGREEMENT TMS1002
    3. Push the control shaft rearward as much as possible.
    4. Return the control shaft lever 2 notches to the N position.
      Fig 80: Adjusting Shift Lever Position
      G05283027Courtesy of © TOYOTA, LICENSE AGREEMENT TMS1002
    5. Align the neutral basic line with the switch groove as shown in the illustration, and tighten the adjusting bolt.

      Torque: 13 N*m (130 kgf*cm, 9 ft.*lbf) 

      Fig 81: Aligning Neutral Basic Line With Switch Groove
      G05283028Courtesy of © TOYOTA, LICENSE AGREEMENT TMS1002
    6. Using a screwdriver, bend the tabs of the lock washer.

      HINT:

      Bend at least 2 of the lock washer tabs.

      Fig 82: Bending Tabs Of Lock Washer
      G05283029Courtesy of © TOYOTA, LICENSE AGREEMENT TMS1002
  58. INSTALL TRANSMISSION CONTROL SHAFT LEVER LH 
    1. Install the washer and nut to the control shaft lever LH.

      Torque: 16 N*m (163 kgf*cm, 12 ft.*lbf) 

      Fig 83: Identifying Control Shaft Lever N Position
      G05283030Courtesy of © TOYOTA, LICENSE AGREEMENT TMS1002