lemon-mirror:
Home >> Mazda >> 2002 >> Protege5 Automatic >> Repair and Diagnosis >> Engine Mechanical >> Engine Mechanical 2.0L >> Torque Specifications

Torque Specifications

TORQUE SPECIFICATIONS

Application Ft. Lbs. (N.m)
A/C Compressor Bracket 28-38 (38-51)
Camshaft Pulley 37-44 (50-60)
Connecting Rod Caps
Step 1 16.3-19.8 (22.1-26.9)
Step 2 Tighten An Additional 85-95 Degrees
Crankshaft Main Bearing Caps (1)
Step 1 13-16 (17-22)
Step 2 Tighten An Additional 85-95 Degrees
Crankshaft Pulley 122 (166)
Cylinder Head (2)
Step 1 13-16 (17-22)
Step 2 Tighten An Additional 85-95 Degrees
Step 3 Tighten An Additional 85-95 Degrees
Drive Plate/Flywheel 70-76 (95-103)
EGR Pipe 43-55 (59-75)
Engine Mount Member Bolt/Nut 50-68 (67-93)
Exhaust Manifold Nut 15-21 (20-28)
Front Pipe-To-WU-TWC Nut 28-38 (38-51)
Generator Bracket 28-38 (38-51)
HO2S 22-36 (29-49)
Idler* 28-38 (38-51)
Intake Manifold 14-18 (19-25)
Intake Manifold Bracket 28-38 (38-51)
No. 1 Engine Mount 50-68 (67-93)
No. 2 Engine Mount 28-38 (38-51)
No. 3 Engine Mount
Bolt 44-59 (60-80)
Nut 55-73 (75-104)
No. 4 Engine Mount 50-68 (67-93)
Oil Drain Plug 22-30 (30-40)
Oil Pan (Lower) 14-18 (19-25)
Oil Pan (Upper, Long Bolt) (5) 14-18 (19-25)
Oil Pressure Switch 9-13 (12-17)
Oil Pump 14-18 (19-25)
P/S Oil Pump Bracket 27-37 (39-50)
Roll Damper Nut 28-38 (38-51)
Spark Plugs 16 (22)
Tensioner Bolt 28-38 (38-51)
Thermostat Housing 14-18 (19-25)
Throttle Body 14-18 (19-25)
WU-TWC-To-Exhaust Manifold Nut 15-21 (21-28)
Water Pump 14-18 (19-25)
INCH Lbs. (N.m) 
Air Cleaner 70-97 (8-11)
Camshaft Caps (3) 100-124 (11-14)
Camshaft Position Sensor 70-97 (8-11)
Crankshaft Position Sensor 70-97 (8-11)
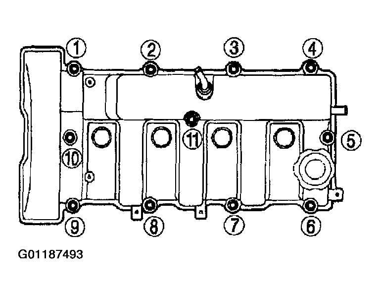
Cylinder Head Cover (4) 61-89 (7-10)
End Plate Bolt 70-97 (8-11)
Exhaust Manifold Insulator 70-97 (8-11)
Fresh Air Duct 70-97 (8-11)
Ignition Coil Bolt 70-97 (8-11)
Oil Level Dipstick 70-97 (8-11)
Oil Pan (Upper, Short Bolt) (5) 70-97 (8-11)
Oil Pump Cover 53-80 (6-9)
Oil Strainer 70-97 (8-11)
PRC Solenoid Valve 70-97 (8-11)
Radiator Mount Bolt 70-97 (8-11)
Rear Cover Bolt 70-97 (8-11)
Resonance Chamber 70-97 (8-11)
Solenoid Valve 70-97 (8-11)
Timing Belt Cover 70-97 (8-11)
Water Pump Pulley 70-97 (8-11)
(1) Tighten in sequence. See Fig 1.
(2) Tighten in sequence. See Figure.
(3) Tighten in sequence. See Figure.
(4) Tighten in sequence. See Figure.
(5) Tighten in sequence. See Figure.
Fig 1: Crankshaft Main Bearing Cap Bolt Tightening Sequence
G00253704Courtesy of MAZDA MOTORS CORP.