lemon-mirror:
Home >> Scion >> 2005 >> tC Automatic >> Repair and Diagnosis >> Brakes >> Traction Control >> Abs With EBD System >> DTC Check/Clear

DTC Check/Clear

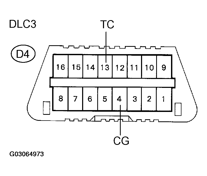
  1. DTC CHECK (USING SST CHECK WIRE) 
    1. Check DTCs.
      1. Using SST, connect terminals TC and the CG of the DLC3.
        1. SST 09843-18040
        Fig 1: Connecting Terminals TC And CG Of DLC3
        G03064973Courtesy of © TOYOTA, LICENSE AGREEMENT TMS1002
      2. Turn the ignition switch to the ON position.
      3. Read the DTC from the ABS warning light on the combination meter assy.

        HINT:

        • If no code appears, inspect the TC terminal circuit or ABS warning light circuit.
          ABS WARNING LIGHT AND TC TERMINAL CIRCUITS REFERENCE

          Trouble Area Refer To
          TC terminal circuit TC TERMINAL CIRCUIT 
          ABS warning light circuit ABS WARNING LIGHT CIRCUIT (REMAINS ON) 
        • As examples, the blinking patterns for a normal system code and trouble codes 11 and 21 are shown in Fig 2 .
        Fig 2: Blinking Patterns For Normal System Code And Trouble Codes 11 And 21
        G03064974Courtesy of © TOYOTA, LICENSE AGREEMENT TMS1002
      4. Codes are explained in the code table DIAGNOSTIC TROUBLE CODE CHART  .
      5. After completing the check, disconnect terminals TC and CG of the DLC3, and turn off the display.

    If 2 or more malfunctions are indicated at the same time, the lowest numbered code will be displayed 1st.

  2. DTC CHECK (USING HAND-HELD TESTER) 
    1. Check DTCs.
      1. Connect the hand-held tester to the DLC3.
      2. Turn the ignition switch to the ON position.
      3. Read the DTCs by following the prompts on the tester screen.

    HINT:

    Refer to the hand-held tester operator's manual for further details.

    Fig 3: Connecting Hand-Held Tester To DLC3
    G03064975Courtesy of © TOYOTA, LICENSE AGREEMENT TMS1002
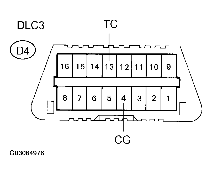
  3. CLEAR DTC (USING SST CHECK WIRE) 
    1. Clear the DTCs.
      1. Using SST, connect terminals TC and CG of the DLC3.
        1. SST 09843-18040
        Fig 4: Connecting Terminals TC And CG Of DLC3
        G03064976Courtesy of © TOYOTA, LICENSE AGREEMENT TMS1002
      2. Turn the ignition switch to the ON position.
      3. Clear the DTCs stored in ECU by depressing the brake pedal 8 times or more within 5 seconds.
        Fig 5: Clearing DTCs Stored In ECU By Depressing Brake Pedal
        G03064977Courtesy of © TOYOTA, LICENSE AGREEMENT TMS1002
      4. Check that the warning light indicates the normal system code.
      5. Remove the SST from the terminals of the DLC3.

    HINT:

    Clearing the DTCs cannot be performed by removing the battery cable or ECU-IG fuse.

  4. CLEAR DTC (USING HAND-HELD TESTER) 
    1. Clear the DTCs.
      1. Connect the hand-held tester to the DLC3.
        Fig 6: Connecting Hand-Held Tester To DLC3
        G03064978Courtesy of © TOYOTA, LICENSE AGREEMENT TMS1002
      2. Turn the ignition switch to the ON position.
      3. Operate the hand-held tester to erase the codes.

    HINT:

    Refer to the hand-held tester operator's manual for further details.

  5. END OF DTC CHECK/CLEAR 
    1. Turn the ignition switch to the ON position.
    2. Check that the ABS warning light goes off in about 3 seconds.