lemon-mirror:
Home >> Scion >> 2005 >> xB Automatic >> Repair and Diagnosis >> Body & Frame >> Windows >> Windshield/WINDOWGLASS/Mirror >> Windshield Glass >> Replacement

Windshield Glass: Replacement

HINT:

  1. REMOVE ROOF HEADLINING ASSY (See  REPLACEMENT  ) 
    1. Remove the front door opening trim LH and RH.
    2. Remove the front pillar garnish LH and RH.
    3. Remove the LH and RH visors.
    4. Remove the assist grip.
    5. Remove the visor holder LH and RH.
    6. Remove the map lamp lens cover.
    7. Remove the map lamp.
    8. Partially remove the roof headlining.

    HINT:

    It is not necessary to completely remove the roof headlining. Slightly lower the front section of the roof headlining so that the windshield glass can be removed later in step  5

  2. REMOVE INNER REAR VIEW MIRROR ASSY (See  REPLACEMENT  ) 
  3. REMOVE COWL TOP VENTILATOR LOUVER (See  REPLACEMENT  ) 
    1. Remove the wiper arm cover LH and RH.
    2. Remove the front wiper arm LH and RH.
    3. Remove the hood to cowl top seal.
    4. Remove the cowl top ventilator louver LH and RH.
  4. REMOVE WINDSHIELD MOULDING OUTSIDE 
    1. Using a knife, cut off the moulding, as shown in Fig 1.
      NOTE: Do not damage the body with the knife.
      Fig 1: Cutting Off Windshield Outside Moulding
      G03095208Courtesy of © TOYOTA, LICENSE AGREEMENT TMS1002
    2. Remove the remaining moulding.

      HINT:

      Make a partial cut in the moulding. Then, pull and remove it by hand.

  5. REMOVE WINDSHIELD GLASS 
    1. From the interior, insert piano wire between the vehicle body and glass, as shown in Fig 2.
    2. Fig 2: Inserting Piano Wire Between Vehicle Body And Glass
      G03095209Courtesy of © TOYOTA, LICENSE AGREEMENT TMS1002
    3. Tie objects that can serve as handles (for example, wooden blocks) to all wire ends.

      HINT:

      Apply protective tape to the outer surface to the vehicle to prevent its surface from being scratched.

      NOTE:
      • When separating the glass from the vehicle, take care not to damage the vehicle's paint and interior/exterior ornaments.
      • To prevent the instrument panel from being scratched when removing the glass, place a plastic sheet between the piano wire and instrument panel.
    4. Cut through the adhesive by pulling the piano wires around the glass.
      Fig 3: Cutting Through Adhesive By Pulling Piano Wires Around Glass
      G03095210Courtesy of © TOYOTA, LICENSE AGREEMENT TMS1002
    5. Disengage the stoppers.
    6. Using a suction cup, remove the glass.
    NOTE: Leave as much adhesive on the vehicle body as possible when removing the glass.
  6. CLEAN WINDSHIELD GLASS 
    1. Using a scraper, remove the damaged stoppers, dam and adhesive sticking to the glass.
    2. Clean the outer edges of the glass with white gasoline.
    NOTE:
    • Do not touch the glass surface after cleaning it.
    • Be careful not to damage the glass.
    • Even if using new glass, clean the glass with white gasoline.
    Fig 4: Cleaning Windshield Glass
    G03095211Courtesy of © TOYOTA, LICENSE AGREEMENT TMS1002
  7. INSTALL WINDSHIELD GLASS STOPPER NO. 2 
    1. Apply Primer G to the installation part of the stoppers.
      NOTE:
      • Allow the primer coating to dry for 3 minutes or more.
      • Throw away any leftover Primer G.
      • Do not apply too much primer.
    2. Install 2 new stoppers onto the glass, as shown in Fig 5.

      Specification: 

      STOPPER INSTALLATION SPECIFICATIONS

      Area Measurement
      A 40.0 mm (1.575 in.)
      B 9.0 mm (0.354 in.)
    3. Fig 5: Installing Windshield Glass Stopper No. 2
      G03095212Courtesy of © TOYOTA, LICENSE AGREEMENT TMS1002
  8. INSTALL WINDSHIELD GLASS STOPPER NO. 1 
    1. Install 2 new stoppers to the vehicle body, as shown in Fig 6.
      Fig 6: Installing Windshield Glass Stopper No. 1 To Vehicle Body
      G03095213Courtesy of © TOYOTA, LICENSE AGREEMENT TMS1002
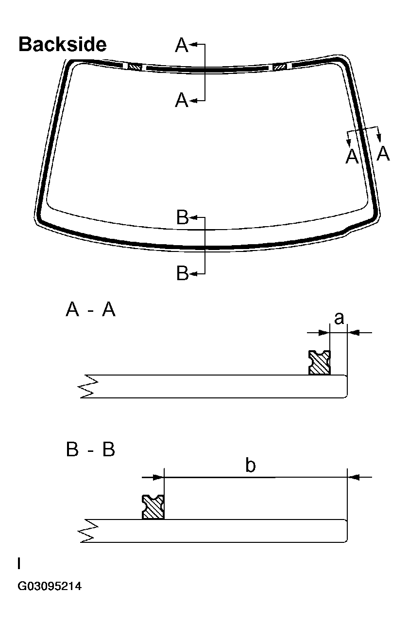
  9. INSTALL WINDOW GLASS ADHESIVE DAM 
    1. Apply Primer G to the installation part of the window glass adhesive dams.
      NOTE:
      • Allow the primer coating to dry for 3 minutes or more.
      • Throw away any leftover Primer G.
      • Do not apply too much primer.
    2. Install a new dams applying double-sided tape, as shown in Fig 7.

      Specification: 

      WINDOW GLASS ADHESIVE DAM INSTALLATION SPECIFICATIONS

      Area Measurement
      a 7.0 mm (0.276 in.)
      b 23.5 mm (0.925 in.)
      Fig 7: Installing Dams Applying Double-Sided Tape
      G03095214Courtesy of © TOYOTA, LICENSE AGREEMENT TMS1002
  10. INSTALL WINDSHIELD MOULDING OUTSIDE 
    1. Using a brush or sponge, apply Primer G to the contact surface of the glass.
      NOTE:
      • Allow the primer coating to dry for 3 minutes or more.
      • Do not coat the adhesive with Primer G.
      • Throw away any leftover Primer G.
    2. Install new windshield moulding.
  11. INSTALL WINDSHIELD GLASS 
    1. Clean and shape the contact surface of the adhesive on the vehicle body.
      1. Using a knife, cut away any excess or unneeded adhesive on the contact surface.

        HINT:

        Leave as much adhesive on the vehicle body as possible.

      2. Fig 8: Cutting Away Excess Or Unneeded Adhesive On Contact Surface
        G03095215Courtesy of © TOYOTA, LICENSE AGREEMENT TMS1002
      3. Clean the contact surface of the vehicle body with cleaner.

      HINT:

      Even if all the adhesive is removed, clean the vehicle body.

    2. Position the glass.
      1. Using a suction cup, place the glass in the correct position.
      2. Check that the whole contact surface of the glass rim is perfectly even.
      3. Place reference marks between the glass and vehicle body.
        Fig 9: Placing Reference Marks Between Glass And Vehicle Body
        G03095216Courtesy of © TOYOTA, LICENSE AGREEMENT TMS1002
        NOTE: Check that the stoppers are attached to the vehicle body correctly.

        HINT:

        When reusing the glass, check and correct the reference mark positions.

      4. Remove the glass.
    3. Using a brush, apply Primer M to the exposed part of the vehicle body.
      NOTE:
      • Allow the primer coating to dry for 3 minutes or more.
      • Do not coat the adhesive with Primer M.
      • Throw away any leftover Primer M.
      Fig 10: Applying Primer M To Exposed Part Of Vehicle Body
      G03095217Courtesy of © TOYOTA, LICENSE AGREEMENT TMS1002
    4. Using a brush or sponge, apply Primer G to the contact surface of the glass.

      Specification: 

      PRIMER G APPLICATION SPECIFICATIONS

      Area Measurement
      a 7.0 mm (0.276 in.)
      b 23.5 mm (0.925 in.)

      HINT:

      If Primer G is accidentally applied to another part of the vehicle, wipe off the primer with cleaner before it dries.

      NOTE:
      • Allow the primer coating to dry for 3 minutes or more.
      • Do not coat the adhesive with Primer G.
      • Throw away any leftover Primer G.
      Fig 11: Identifying Primer G Application Areas
      G03095218Courtesy of © TOYOTA, LICENSE AGREEMENT TMS1002
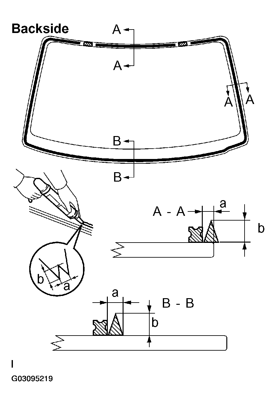
    5. Apply adhesive.

      Adhesive: Part No. 08850-00801 or equivalent 

      1. Cut off the tip of the cartridge nozzle, as shown in Fig 12.

        HINT:

        After cutting off the tip, use all adhesive within the time written in ADHESIVE USAGE TIMEFRAME .

        Usage Timeframe: 

        ADHESIVE USAGE TIMEFRAME

        Temperature Usage Timeframe
        35°C (95°F) 15 minutes
        20°C (68°F) 1 hour 40 minutes
        5°C (41°F) 8 hours
      2. Load the sealer gun with the cartridge.
      3. Apply adhesive to the glass.

        Specification: 

        ADHESIVE APPLICATION SPECIFICATIONS

        Area Measurement
        a 8.0 mm (0.315 in.)
        b 12.0 mm (0.472 in.)
      4. Fig 12: Applying Adhesive To Glass
        G03095219Courtesy of © TOYOTA, LICENSE AGREEMENT TMS1002
    6. Install the glass.
      1. Using a suction cup, position the glass so that the reference marks are aligned. Press it in gently along the rim.
        NOTE:
        • Allow the primer coating to dry for 3 minutes or more.
        • Check that the stoppers are attached to the vehicle body correctly.
        • Check the clearance between the vehicle body and glass.
        Fig 13: Using Suction Cup To Position Glass With Reference Marks Aligned
        G03095220Courtesy of © TOYOTA, LICENSE AGREEMENT TMS1002
      2. Lightly press the front surface of the glass to ensure a close fit.
      3. Using a scraper, remove any excess or protruding adhesive.
        Fig 14: Removing Any Excess Or Protruding Adhesive With Scraper
        G03095221Courtesy of © TOYOTA, LICENSE AGREEMENT TMS1002

      HINT:

      Apply adhesive onto the glass rim.

      NOTE: Do not to drive the vehicle within the time written in ADHESIVE SETTING TIMES .

      Minimum time: 

      ADHESIVE SETTING TIMES

      Temperature Minimum time prior to driving vehicle
      35°C (95°F) 1 hour 30 minutes
      20°C (68°F) 5 hours
      5°C (41°F) 24 hours
      Fig 15: Applying Adhesive Onto Glass Rim
      G03095222Courtesy of © TOYOTA, LICENSE AGREEMENT TMS1002
  12. CHECK FOR LEAKS AND REPAIR 
    1. Conduct a leak test after the adhesive has completely hardened.
    2. Seal any leaks with auto glass sealer.