lemon-mirror:
Home >> Subaru >> 2005 >> Baja Base, Automatic >> Repair and Diagnosis >> Body & Frame >> Windows >> Glass/Window/Mirrors >> Outer Mirror >> Replacement

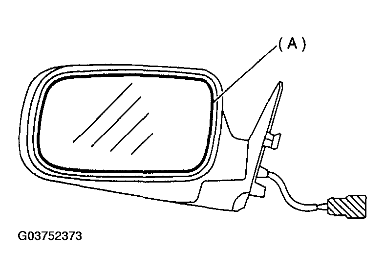
Outer Mirror: Replacement

  1. Remove the outer mirror assembly. < Ref. to , REMOVAL , Outer Mirror Assembly. >
  2. Warm the area around the mirror holder (A) with a hair drier until the edges of the mirror holder become soft (about 2 or 3 minutes with a 1,000 W drier.)
  3. Use a flat-bladed screwdriver without sharp edges to lift the mirror out of the mirror holder (A). (Also remove the connector from the back of mirrors with heaters.)
    Fig 1: Removing Outer Mirror Assembly
    G03752373Courtesy of SUBARU OF AMERICA, INC.
  4. Warm the area around the mirror holder (A) with a hair drier until the edges of the mirror holder (A) become soft (about 2 or 3 minutes with a 1,000 W drier.)
  5. With heater models, connect the connector on the back of mirror.
  6. Remove the backing of the new two-sided tape, and push the mirror in to install it.
    CAUTION: Unless the mirror holder is warmed sufficiently, the mirror holder edges may be damaged or the mirror cracked.