lemon-mirror:
Home >> Subaru >> 2006 >> Forester X, Automatic >> Repair and Diagnosis >> Transmission >> Automatic Trans >> Automatic Transmission >> Transmission Control Device >> Installation

Transmission Control Device: Installation

  1. Install the detention spring to the transmission case.

    Tightening torque: 

    6 N.m (0.6 kgf-m, 4.4 ft-lb) 

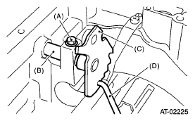
  2. Fig 1: Identifying Detent Spring
    G05002849Courtesy of SUBARU OF AMERICA, INC.
  3. insert the range select lever, and then tighten the bolt.

    Tightening torque: 

    6 N.m (0.6 kgf-m, 4.4 ft-lb) 

    Fig 2: Identifying Range Select Lever
    G04994410Courtesy of SUBARU OF AMERICA, INC.
  4. Insert the manual plate and parking rod.
    Fig 3: Inserting Manual Plate And Parking Rod
    G04994411Courtesy of SUBARU OF AMERICA, INC.
  5. Insert the spring pin to the manual plate.
    Fig 4: Inserting Spring Pin To Manual Plate
    G04994412Courtesy of SUBARU OF AMERICA, INC.
  6. Install the oil pan and the control valve assembly. <Ref. to INSTALLATION  CONTROL VALVE BODY. >
  7. Turn over the transmission case to its original position.
  8. Install the pitching stopper bracket.

    Tightening torque: 

    41 N.m (4.2 kgf-m, 30.4 ft-lb) 

  9. Install and adjust the inhibitor switch. <Ref. to INHIBITOR SWITCH . >
  10. Insert the inhibitor switch and transmission connector to the stay.
    Fig 5: Identifying Inhibitor Switch And Transmission Connector
    G04994413Courtesy of SUBARU OF AMERICA, INC.
  11. Install the air breather hose. <Ref. to INSTALLATION  AIR BREATHER HOSE. >
  12. Insert the input shaft while rotating it lightly by hand, and then check the amount of protrusion.

    Normal protrusion A: 

    50 - 55 mm (1.97 - 2.17 in) 

    Fig 6: Identifying Input Shaft
    G04990427Courtesy of SUBARU OF AMERICA, INC.
  13. Install the torque converter clutch assembly. <Ref. to INSTALLATION  TORQUE CONVERTER CLUTCH ASSEMBLY. >
  14. Install the transmission assembly to the vehicle. <Ref. to INSTALLATION  AUTOMATIC TRANSMISSION ASSEMBLY. >