lemon-mirror:
Home >> Subaru >> 2008 >> Outback Base, Automatic >> Repair and Diagnosis >> Steering >> Power Steering >> Power Steering System >> Steering Gearbox >> Installation

Steering Gearbox: Installation

  1. Insert the gearbox into crossmember, being careful not to damage gearbox boot.
  2. Install the gearbox and bracket. Temporarily tighten the bolts.
    Fig 1: Locating Gearbox Bracket Bolts
    G05343521Courtesy of SUBARU OF AMERICA, INC.
  3. Insert bolts through the clamp to temporarily tighten the gearbox to the crossmember bracket.
    Fig 2: Locating Crossmember Bracket Clamp Bolts
    G05343522Courtesy of SUBARU OF AMERICA, INC.
  4. Tighten the bolts temporarily holding the gearbox clamp and bracket together to the specified torque.

    Tightening torque: 60 N.m (6.1 kgf-m, 44.1 ft-lb) 

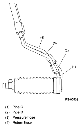
  5. Connect pipe D to the return hose, then connect pipe C to the pressure hose.

    Tightening torque: 15 N.m (1.5 kgf-m, 10.8 ft-lb) 

    Fig 3: Identifying Pipe C, Pipe D, Pressure Hose And Return Hose
    G05343523Courtesy of SUBARU OF AMERICA, INC.
  6. Install the universal joint. <Ref. to INSTALLATION , Universal Joint.>
  7. Connect the tie-rod end and knuckle arm, and tighten with castle nut.

    Castle nut tightening torque: 27 N.m (2.75 kgf-m, 19.9 ft-lb) 

    CAUTION: When connecting, do not hit the cap at the bottom of tie-rod end with hammer.
  8. After tightening the castle nut to the specified tightening torque, tighten it further within 60° until the cotter pin hole is aligned with slot in the nut. Fit the cotter pin into the nut, and then bend the pin to lock.
    Fig 4: Identifying Cotter Pin, Castle Nut And Tie-Rod End
    G05343524Courtesy of SUBARU OF AMERICA, INC.
  9. Install the front stabilizer. <Ref. to INSTALLATION , Front Stabilizer.>
  10. Install the front crossmember support plate and jack-up plate.
  11. Install the front exhaust pipe assembly. (Non-turbo model) <Ref. to INSTALLATION , Front Exhaust Pipe.>
  12. Install the undercover. <Ref. to INSTALLATION , Front Under Cover.>
  13. Install the front wheels.
  14. Tighten the wheel nuts to the specified torque.

    Tightening torque: 90 N.m (9.1 kgf-m, 65.8 ft-lb) 

  15. Lower the vehicle.
  16. Remove the steering wheel. <Ref. to REMOVAL , Steering Wheel.>
  17. Align the center position of the roll connector. <Ref. to ADJUSTMENT , Roll Connector.>
  18. Install the steering wheel. <Ref. to INSTALLATION , Steering Wheel.>
  19. Connect the battery ground cable to the battery.
  20. Pour fluid into the oil tank, and bleed air. <Ref. to POWER STEERING FLUID . >
  21. Check for fluid leaks.
  22. Check the fluid level in oil tank.
  23. After adjusting toe-in and steering angle, tighten the lock nut on tie-rod end.

    Tightening torque: 85 N.m (8.7 kgf-m, 62.7 ft-lb) 

    NOTE: When adjusting toe-in, hold the boot as shown to prevent it from being rotated or twisted. If it becomes twisted, straighten it.
    Fig 5: Tightening Lock Nut On Tie-Rod End
    G05343525Courtesy of SUBARU OF AMERICA, INC.