lemon-mirror:
Home >> Subaru >> 2008 >> Tribeca Base >> Repair and Diagnosis >> Suspension >> Wheel Alignment >> Rear Suspension System >> General Description >> Specification

Rear Suspension System: General Description: Specification

Refer to FRONT SUSPENSION article for rear suspension specifications. < Ref. to SPECIFICATION , General Description . >

NOTE:
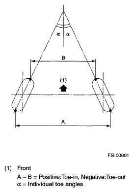
  • Front and rear toe-in and front camber can be adjusted. Adjust if the toe-in or camber tolerance exceeds specifications.
  • Other items indicated in the specifications table cannot be adjusted. If other items exceed specifications, check the suspension parts and connections for deformation, and replace with new parts as required.
    Fig 1: Identifying Toe-In Angles
    G05664397Courtesy of SUBARU OF AMERICA, INC.