lemon-mirror:
Home >> Subaru >> 2021 >> Forester Base >> Repair and Diagnosis >> Transmission >> Automatic Trans >> CVT Transaxle System >> Drive Pinion >> Assembly

Drive Pinion: Assembly

  1. Install the plug to the drive pinion retainer with a new O-ring.
    NOTE: Apply CVTF to the O-rings.

    Tightening torque: 

    22 N.m (2.2 kgf.m, 16.2 ft.lb)

  2. Using the ST, install the oil seal.
    NOTE:
    • Apply CVTF to the press-fitting surface of oil seal and apply differential gear oil to the lip portion.
    • Make sure to install in the right direction.

    Preparation tool: 

    ST: HOUSING BUSHING INSTALLER AND REMOVER (927720000)

    G13869523Courtesy of SUBARU OF AMERICA, INC.
  3. Select the drive pinion washer.
    1. Measure width "A" of a new taper roller bearing (front) inner race.
      G08318098Courtesy of SUBARU OF AMERICA, INC.
    2. Measure width "B" of a new taper roller bearing (rear) inner race.
      G08318099Courtesy of SUBARU OF AMERICA, INC.
    3. Measure width "C" of the drive pinion spacer.
      G08318100Courtesy of SUBARU OF AMERICA, INC.
    4. Press-fit a new taper roller bearing (front) outer race using the ST1, ST2 and a press.

      Preparation tool: 

      ST1: PRESS SNAP RING (28499TC010)

      ST2: INSTALLER (398177700)

      G08318101Courtesy of SUBARU OF AMERICA, INC.
    5. Press-fit a new taper roller bearing (rear) outer race using the ST and a press.

      Preparation tool: 

      ST: INSTALLER (20099AE020)

      G08318102Courtesy of SUBARU OF AMERICA, INC.
    6. Place the drive pinion retainer on the surface plate, and install the taper roller bearing (rear) inner race to the taper roller bearing (rear) outer race.
      NOTE: Place the drive pinion retainer so that the mating surface of the drive pinion retainer (mating surface with the converter case) contacts the surface plate.
    7. Measure the height "D" from the end face of the taper roller bearing (rear) inner race to the surface plate.
      G08318103Courtesy of SUBARU OF AMERICA, INC.
    8. Install the taper roller bearing (front) inner race to the taper roller bearing (front) outer race.
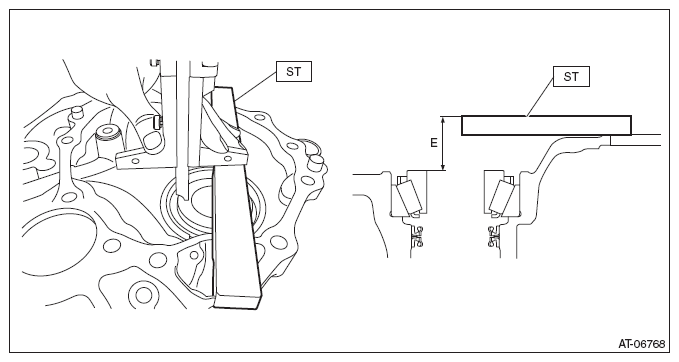
    9. Measure the depth "E" from the end face of the taper roller bearing (front) inner race to the end face of the ST.

      Preparation tool: 

      ST: GAUGE (499575400)

      G08318104Courtesy of SUBARU OF AMERICA, INC.
    10. Using following formula, select one to three drive pinion washers.

      T mm = D - (A + B + C + E - 15) - (0±0.0125)

      [T in = D - (A + B + C + E - 0.591) - (0±0.0005)]

      A: Width of taper roller bearing (front) inner race

      B: Width of taper roller bearing (rear) inner race

      C: Width of drive pinion spacer

      D: Height from end face of taper roller bearing (rear) inner race to surface plate

      E: Depth from the end face of the taper roller bearing (front) inner race to the end face of the ST

      15 mm (0.591 in): Thickness of ST

      T: Drive pinion washer thickness

      0±0.0125 mm (0±0.0005 in): Clearance

  4. Measure and record the drive pinion shim thickness to be reused. When reuse is not possible, select the drive pinion shim.
    1. Using a precise round bar, measure the height "G" from the mating surface of transmission case of the converter case to the upper end of the round bar. Also, measure and record the diameter "M" of the round bar.
      G12394604Courtesy of SUBARU OF AMERICA, INC.
    2. Using the following formula, calculate the height "A1" from the mating surface of the converter case and transmission case to the bottom end of the differential side retainer hole.

      A1 mm = G - M

      [A1 in = G - M]

      G: Height from the mating surface of the converter case and transmission case to the upper end of the round bar

      M: Diameter of the round bar

    3. Measure the hole inner diameter "R" of differential side retainer of the converter case.
      NOTE: Perform the measurement at the contact surface of the side bearing outer race.
      G12394605Courtesy of SUBARU OF AMERICA, INC.
    4. Using the following formula, calculate the hole radius "A2" of the differential side retainer.

      A2 mm = R/2

      [A2 in = R/2]

      R: Hole inner diameter of differential side retainer of the converter case

    5. Using the following formula, calculate the differential center distance "A" from the mating surface of the converter case and transmission case.

      A mm = A1 + A2

      [A in = A1 + A2]

      G12394606Courtesy of SUBARU OF AMERICA, INC.
    6. Measure the depth "B1" from the ST to the mating surface of drive pinion retainer. Then, using the following formula, calculate the height "B" from the mating surface of transmission case of the converter case to the mating surface of drive pinion retainer.

      Preparation tool: 

      ST: GAUGE (499575400)

      B mm = B1 - 15

      [B in = B1 - 0.591]

      B1: Depth from ST to the drive pinion retainer mating surface

      15 mm (0.591 in): Thickness of ST

      G12394607Courtesy of SUBARU OF AMERICA, INC.
    7. Using following formula, select one to three drive pinion shims.

      T mm = (A - B + E - 15) - 90.8 + (0±0.0125)

      [T in = (A - B + E - 0.591) - 3.575 + (0±0.0005)]

      A: Differential center distance from the mating surface of the converter case and transmission case

      B: Height from the mating surface of the converter case and transmission case to the mating surface of the drive pinion retainer

      E: Depth from the end face of the taper roller bearing (front) inner race to the end face of the ST, measured in (9) in "3. Select the drive pinion washer"

      15 mm (0.591 in): Thickness of ST

      T: Drive pinion shim thickness

      90.8 mm (3.575 in): Ideal distance from the differential center to the drive pinion end surface

      0±0.0125 mm (0±0.0005 in): Clearance

      G12394608Courtesy of SUBARU OF AMERICA, INC.
  5. Install the drive pinion shim that is reused for the drive pinion.
  6. Press-fit the taper roller bearing (front) inner race using the ST1, ST2 and a press.

    Preparation tool: 

    ST1: INSTALLER (899580100)

    ST2: EXTENSION DRIVE SHAFT (927130000)

    G08318105Courtesy of SUBARU OF AMERICA, INC.
  7. Install the drive pinion spacer.
    NOTE: Replace the O-ring with a new part after tooth contact inspection.
    G08318090Courtesy of SUBARU OF AMERICA, INC.
  8. Install the selected drive pinion washer.
    G08318107Courtesy of SUBARU OF AMERICA, INC.
  9. Insert the drive pinion into the drive pinion retainer.
    CAUTION: Be careful not to damage the oil seal.
  10. Install the lock nut.
    NOTE: Apply differential gear oil to the threaded portion of the drive pinion.
    G08318108Courtesy of SUBARU OF AMERICA, INC.
  11. Using the ST1, ST2 and ST3, tighten the lock nut to the specified torque so that the initial load of the drive pinion is within the specified range.
    CAUTION: Before inspecting the starting torque, apply differential gear oil to roller of bearing and rotate the taper roller bearing several times.
    NOTE:
    • Tighten the lock nut while directly aligning ST2 and torque wrench.
    • If the initial load is not within the specified range, select the drive pinion washer, and repeat the step until the initial load is within the specified range.
    • When a thicker drive pinion washer is selected, the initial load decreases. When a thinner drive pinion washer is selected, the initial load increases.

    Initial load: 

    5.1 - 17.1 N (0.5 - 1.7 kgf, 1.1 - 3.8 lbf)

    Preparation tool: 

    ST1: ADAPTER (499787500)

    ST2: WRENCH (499787700)

    ST3: HOLDER (498937110)

    Using the following formula, calculate the tightening torque for a torque wrench.

    T2 = L2/(L1 + L2) x T1

    T1: 170 - 250 N.m (17.3 - 25.5 kgf-m, 125.4 - 184.4 ft-lb) [Specified tightening torque range]

    T2: Tightening torque

    L1: ST1 length 0.072 m (2.83 in)

    L2: Torque wrench length

    Example:

    Torque wrench length m (in) Tightening torque N.m (kgf-m, ft-lb)
    0.4 (15.75) 144 - 211 (14.7 - 21.5, 106.2 - 155.6)
    0.45 (17.72) 147 - 215 (15.0 - 21.9, 108.4 - 158.6)
    0.5 (19.69) 149 - 218 (15.2 - 22.2, 109.9 - 160.8)
    0.55 (21.65) 150 - 221 (15.3 - 22.5, 110.6 - 163.0)
    G08318087Courtesy of SUBARU OF AMERICA, INC.
    G08318110Courtesy of SUBARU OF AMERICA, INC.
  12. Install the drive pinion retainer to the converter case, and check the backlash and tooth contact of the hypoid gear set. Ref. to CONTINUOUSLY VARIABLE TRANSMISSION (TR580)>Drive Pinion>ADJUSTMENT . Ref. to CONTINUOUSLY VARIABLE TRANSMISSION (TR580)>Front Differential>ADJUSTMENT .
  13. Remove the drive pinion retainer from converter case. Ref. to CONTINUOUSLY VARIABLE TRANSMISSION (TR580)>Drive Pinion>REMOVAL .
  14. Remove the drive pinion spacer from the drive pinion. Ref. to CONTINUOUSLY VARIABLE TRANSMISSION (TR580)>Drive Pinion>DISASSEMBLY .
  15. Install a new O-ring.
    NOTE: Apply the differential gear oil to O-ring.
    G08318091Courtesy of SUBARU OF AMERICA, INC.
  16. Install the drive pinion spacer.
    G08318090Courtesy of SUBARU OF AMERICA, INC.
  17. Install the drive pinion washer.
    G08318107Courtesy of SUBARU OF AMERICA, INC.
  18. Insert the drive pinion.
    CAUTION: Be careful not to damage the oil seal.
    G08318088Courtesy of SUBARU OF AMERICA, INC.
  19. Install a new lock nut.
    NOTE: Apply differential gear oil to the threaded portion of the drive pinion.
    G08318108Courtesy of SUBARU OF AMERICA, INC.
  20. Using the ST1, ST2 and ST3, tighten the lock nut to the specified torque so that the initial load of the drive pinion is within the specified range.
    CAUTION: Before inspecting the initial load, apply differential gear oil to the roller of the taper roller bearing (front) and taper roller bearing (rear), and rotate the taper roller bearing several times.
    NOTE:
    • Tighten the lock nut while directly aligning ST2 and torque wrench.
    • If the initial load is not within the specified range, select the drive pinion washer, and repeat the step until the initial load is within the specified range.
    • When a thicker drive pinion washer is selected, the initial load decreases. When a thinner drive pinion washer is selected, the initial load increases.

    Initial load: 

    5.1 - 17.1 N (0.5 - 1.7 kgf, 1.1 - 3.8 lbf)

    Preparation tool: 

    ST1: ADAPTER (499787500)

    ST2: WRENCH (499787700)

    ST3: HOLDER (498937110)

    Using the following formula, calculate the tightening torque for a torque wrench.

    T2 = L2/(L1 + L2) x T1

    T1: 170 - 250 N.m (17.3 - 25.5 kgf-m, 125.4 - 184.4 ft-lb) [Specified tightening torque range]

    T2: Tightening torque

    L1: ST1 length 0.072 m (2.83 in)

    L2: Torque wrench length

    Example:

    Torque wrench length m (in) Tightening torque N.m (kgf-m, ft-lb)
    0.4 (15.75) 144 - 211 (14.7 - 21.5, 106.2 - 155.6)
    0.45 (17.72) 147 - 215 (15.0 - 21.9, 108.4 - 158.6)
    0.5 (19.69) 149 - 218 (15.2 - 22.2, 109.9 - 160.8)
    0.55 (21.65) 150 - 221 (15.3 - 22.5, 110.6 - 163.0)
    G08318087Courtesy of SUBARU OF AMERICA, INC.
    G08318110Courtesy of SUBARU OF AMERICA, INC.
  21. Crimp the lock nut.
  22. Press-fit a new plug using ST1, ST2 and a press.

    Preparation tool: 

    ST1: PRESS SNAP RING (499755602)

    ST2: INSTALLER (398177700)

    G08318118Courtesy of SUBARU OF AMERICA, INC.