Master Power Window Switch
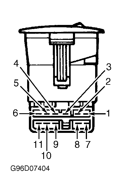
Disconnect master power window switch connector. Using DVOM, ensure continuity exists across specified switch terminals with switch in specified positions. See appropriate MASTER POWER WINDOW SWITCH CONTINUITY table. See Fig 1 , Fig 2 or Fig 3 . If continuity does not exist, replace master power window switch.
MASTER POWER WINDOW SWITCH CONTINUITY (ESTEEM)
| Application & Switch Position | Check Continuity Between Terminals No. | ||
|---|---|---|---|
| Left Front Window | |||
| Up | 1 & 3; 2 & 11 | ||
| Off | 1, 2 & 11 | ||
| Down | 2 & 3; 1 & 11 | ||
| Right Front Window | |||
| Unlocked | |||
| Up | 3 & 5; 6 & 11 | ||
| Off | 5, 6 & 11 | ||
| Down | 3 & 6; 5 & 11 | ||
| Locked | |||
| Up | 3 & 5 | ||
| Off | 5 & 6 | ||
| Down | 3 & 6 | ||
| Left Rear Window | |||
| Unlocked | |||
| Up | 3 & 7; 8 & 11 | ||
| Off | 7, 8 & 11 | ||
| Down | 3 & 8; 7 & 11 | ||
| Locked | |||
| Up | 3 & 7 | ||
| Off | 7 & 8 | ||
| Down | 3 & 8 | ||
| Right Rear Window | |||
| Unlocked | |||
| Up | 3 & 9; 10 & 11 | ||
| Off | 9, 10 & 11 | ||
| Down | 3 & 10; 9 & 11 | ||
| Locked | |||
| Up | 3 & 9 | ||
| Off | 9 & 10 | ||
| Down | 3 & 10 | ||
MASTER POWER WINDOW SWITCH CONTINUITY (VITARA 2-DOOR)
| Application & Switch Position | Check Continuity Between Terminals | ||
|---|---|---|---|
| Left Front Window | |||
| Window Lock Off Or On | |||
| Up | A & G; C & H | ||
| Off | A & G; A & H | ||
| Down | A & H; C & G | ||
| Right Front Window | |||
| Window Lock Off | |||
| Up | A & B; C & E; A & F | ||
| Off | A & B; A & E; A & F | ||
| Down | A & E; B & C; A & F | ||
| Window Lock On | |||
| Up | C & E | ||
| Off | B & E | ||
| Down | B & C | ||
MASTER POWER WINDOW SWITCH CONTINUITY (Grand Vitara, Vitara & XL7)
| Application & Switch Position | Check Continuity Between Terminals | ||
|---|---|---|---|
| Left Rear Window | |||
| Window Lock Off | |||
| Up | C & H; G & K | ||
| Off | C & G; C & H | ||
| Down | C & G; H & K | ||
| Window Lock On | |||
| Up | G & K | ||
| Off | G & H | ||
| Down | H & K | ||
| Right Rear Window | |||
| Window Lock Off | |||
| Up | I & K; C & J | ||
| Off | C & I; C & J | ||
| Down | J & K; C & I | ||
| Window Lock On | |||
| Up | I & K | ||
| Off | I & J | ||
| Down | J & K | ||
| Left Front Window | |||
| Window Lock Off Or On | |||
| Up | A & K; B & C | ||
| Off | A & C; B & C | ||
| Down | A & C; B & K | ||
| Right Front Window | |||
| Window Lock Off | |||
| Up | C & F; E & K | ||
| Off | C & E; C & F | ||
| Down | C & E; F & K | ||
| Window Lock On | |||
| Up | E & K | ||
| Off | E & F | ||
| Down | F & K | ||