lemon-mirror:
Home >> Suzuki >> 2007 >> SX4 Base, Automatic >> Repair and Diagnosis >> Transmission >> Automatic Trans >> Automatic Transmission >> Repair Instructions >> Automatic Transaxle Unit Assembly

Automatic Transaxle Unit Assembly

Reference: AUTOMATIC TRANSAXLE UNIT DISMOUNTING AND REMOUNTING 

Reference: AUTOMATIC TRANSAXLE UNIT DISASSEMBLY 

  1. Apply lithium grease to new manual shift shaft oil seal lip.

    : Grease 99000-25030SUZUKI Super Grease C 

  2. Press-fit new manual shift shaft oil seal (1) to transaxle case, using special tool.

    Special Tool 

    (A): 09943-88211 

    Fig 1: Identifying Manual Shift Shaft Oil Seal
    G04847966Courtesy of SUZUKI OF AMERICA CORP.
  3. Apply A/T fluid to new oil seal rings (1) and install oil seal rings (1) to transaxle case.
    NOTE: Do not spread oil seal ring ends excessively.
    Fig 2: Identifying Oil Seal Rings
    G04847967Courtesy of SUZUKI OF AMERICA CORP.
  4. Install one-way No. 3 clutch (1) to transaxle case.
    NOTE: Make sure that groove section of one-way No. 3 clutch faces (2) toward upper side.
  5. Install snap ring (3), using flat end rod or the like.
    NOTE: Make sure that opening end of snap ring should be aligned with protrusion of transaxle case.
    Fig 3: Identifying One-Way No. 3 Clutch To Transaxle Case
    G04847968Courtesy of SUZUKI OF AMERICA CORP.
  6. Apply A/T fluid to new O-rings (1) and install O-rings (1) to underdrive brake accumulator cover (2) and underdrive brake accumulator piston (3).
  7. Put underdrive brake accumulator spring (4) in transaxle case, and insert under drive brake accumulator piston (3) and underdrive brake accumulator cover (2) into transaxle case.
    NOTE: Do not twist or deviate O-rings during installation.
    Fig 4: Installing O-Rings To Underdrive Brake Accumulator Cover & Piston
    G04847969Courtesy of SUZUKI OF AMERICA CORP.
  8. Push underdrive brake accumulator cover and install underdrive brake accumulator bracket (1), spacer (2) and torsion spring (3) by tighten 2 torx® bolts to specified torque.

    Tightening torque 

    Underdrive brake accumulator bracket bolt(s) a: 10 N.m (1.0 kg-m, 7.5 lb-ft) 

    Fig 5: Identifying Underdrive Brake Accumulator Bracket With Bolt
    G04847970Courtesy of SUZUKI OF AMERICA CORP.
  9. Apply A/T fluid to new O-rings (1) and install O-rings (1) to underdrive brake piston assembly (2) and underdrive brake piston cover (3).
  10. Put underdrive brake piston return spring (4) in transaxle case, and underdrive brake piston assembly (2) and underdrive brake piston cover (3) into transaxle case.
    NOTE: Do not twist or deviate O-rings during installation.
    Fig 6: Identifying Underdrive Brake Piston Return Spring In Transaxle Case
    G04847971Courtesy of SUZUKI OF AMERICA CORP.
  11. Apply special tools and push in underdrive brake piston cover (1).

    Special Tool 

    1. 09916-14510 
    2. 09916-14910 
  12. Install snap ring (2), using pliers or the like.
    Fig 7: Identifying Special Tool On Snap Ring
    G04847972Courtesy of SUZUKI OF AMERICA CORP.
  13. Install underdrive brake band (1).
    Fig 8: Identifying Underdrive Brake Band
    G04847973Courtesy of SUZUKI OF AMERICA CORP.
  14. Apply A/T fluid to new O-ring (1) and install new O-ring (1) to underdrive brake band anchor bolt (2).
  15. Tighten underdrive brake band anchor bolt (2) to specified torque, using special tool.

    Special Tool 

    (A): 09927-68010 

    Tightening torque 

    Underdrive brake band anchor bolt a: 170 N.m (17.0 kg-m, 123.0 lb-ft) 

  16. Remove oil plug bolt with O-ring installed (3).
    Fig 9: Identifying Oil Plug Bolt With O-Ring
    G04847974Courtesy of SUZUKI OF AMERICA CORP.
  17. Measure underdrive brake piston stroke while applying and releasing compressed air (400 - 800 kPa, 4 - 8 kg/cm2 , 57 - 113 psi) through oil hole (2). If measured piston stroke exceeds specified value, replace underdrive brake piston rod in the following so as piston stroke to be in standard value. If piston stroke is still standard value or more, replace underdrive brake band with a new one.

    Underdrive brake piston stroke 

    Standard: 5.48 - 7.02 mm (0.26 - 0.28 in.) 

    Available underdrive brake piston rod length 

    70.5 mm (2.776 in.), 72.0 mm (2.835 in.) 

    Fig 10: Applying Compressed Air Into Oil Hole
    G04847975Courtesy of SUZUKI OF AMERICA CORP.
  18. Apply A/T fluid to new O-ring and install O-ring to oil plug bolt (1).
  19. Tighten oil plug bolt to specified torque.

    Tightening torque 

    Underdrive brake oil plug bolt: 7.5 N.m (0.75 kg-m, 5.5 lb-ft) 

    Fig 11: Identifying O-Ring To Oil Plug Bolt
    G04847976Courtesy of SUZUKI OF AMERICA CORP.
  20. Apply petroleum jelly to underdrive clutch thrust bearing (1) and countershaft rear thrust bearing race (2).
  21. Install underdrive clutch thrust bearing (1) and countershaft rear thrust bearing race (2) to underdrive clutch assembly (3).
  22. Install underdrive clutch assembly (3) onto transaxle case.
    Fig 12: Identifying Underdrive Clutch Assembly Onto Transaxle Case
    G04847977Courtesy of SUZUKI OF AMERICA CORP.
  23. Make sure that underdrive clutch turns freely when turned counterclockwise [A] and locks when turned clockwise [B].
    Fig 13: Turning Freely Underdrive Clutch
    G04847978Courtesy of SUZUKI OF AMERICA CORP.
  24. Apply petroleum jelly to countershaft rear thrust bearing (1), countershaft front thrust bearing (2) and countershaft front thrust bearing race (3).
  25. Install countershaft rear thrust bearing (1), countershaft front thrust bearing race (3) and countershaft front thrust bearing (2) to counter driven gear.
  26. Install underdrive gear assembly (4) onto under drive clutch (5).
    Fig 14: Identifying Underdrive Gear Assembly Onto Under Drive Clutch
    G04847979Courtesy of SUZUKI OF AMERICA CORP.
  27. Install parking lock pawl (1). Place torsion spring (2) on parking lock pawl shaft (3) and install them into transaxle case.
  28. Install parking lock pawl bracket and manual detent spring (4) by 2 tightening bolts to specified torque.

    Tightening torque 

    Manual detent spring bolt No.1 a: 10 N.m (1.0 kg-m, 7.5 lb-ft) 

    Manual detent spring bolt No.2 b: 5.5 N.m (0.55 kg-m, 4.0 lb-ft) 

    Fig 15: Identifying Manual Detent Spring Bolt
    G04847980Courtesy of SUZUKI OF AMERICA CORP.
  29. Insert parking lock rod (1) to parking lock pawl bracket and connect parking lock rod (1) with manual shift shaft (2).
    Fig 16: Identifying Parking Lock Rod
    G04847981Courtesy of SUZUKI OF AMERICA CORP.
  30. Install reduction drive gear assembly (1) into transaxle case (2).
  31. Install snap ring (3).
    Fig 17: Identifying Reduction Drive Gear Assembly Into Transaxle Case
    G04847982Courtesy of SUZUKI OF AMERICA CORP.
  32. Apply A/T fluid to new O-rings and install O-rings to 1st/reverse brake piston (1).
  33. Place 1st/reverse brake piston (1) into transaxle case.
    NOTE: Do not twist or deviate O-rings during installation.
    Fig 18: Identifying 1st/Reverse Brake Piston
    G04847983Courtesy of SUZUKI OF AMERICA CORP.
  34. Mount 1st/reverse brake piston return spring (1).
  35. Install retainer ring (2) by compressing 1st/reverse brake piston return spring (1) with flat end rod or the like.
    NOTE: Make sure that opening end of ring is not aligned with protrusion of transaxle case.
  36. Apply petroleum jelly to front planetary ring gear front thrust bearing race (3).
  37. Place front planetary ring gear front thrust bearing race (3) onto counter driven gear.
    Fig 19: Identifying Thrust Bearing Race Onto Counter Driven Gear
    G04847984Courtesy of SUZUKI OF AMERICA CORP.
  38. Apply petroleum jelly to front planetary ring gear front thrust bearing (1) and front planetary ring gear rear thrust bearing (2).
  39. Install front planetary ring gear front thrust bearing (1) and front planetary ring gear rear thrust bearing (2) to front planetary ring gear (3).
  40. Install front planetary ring gear (3).
    Fig 20: Identifying Front Planetary Ring Gear
    G04847985Courtesy of SUZUKI OF AMERICA CORP.
  41. Make sure that front planetary ring gear (1) turns freely when turned counterclockwise [A] and locks when clockwise [B].
    Fig 21: Turning Freely Front Planetary Ring Gear
    G04847986Courtesy of SUZUKI OF AMERICA CORP.
  42. Install separator plates "S", friction plates "F" and retaining plates "R" in the following order.

    R --> F --> S --> F --> S --> F --> S --> F --> S --> F --> R

  43. Install snap ring, using flat end rod or the like.
    NOTE: Make sure that opening end of ring is not aligned with protrusion of transaxle case.
    Fig 22: Identifying Separator Plates, Friction Plates & Retaining Plates
    G04847987Courtesy of SUZUKI OF AMERICA CORP.
  44. Measure 1st/reverse brake piston stroke while applying and releasing compressed air (400 - 800 kPa, 4 - 8 kg/cm2 , 57 - 113 psi) through oil hole (1) by using special tools. If measured piston stroke exceeds specified value, check for an important installation.

    Special Tool 

    1. 09900-20607 
    2. 09900-20701 

    1st / reverse brake piston stroke 

    Standard: 1.35 - 2.15 mm (0.053 - 0.085 in.) 

    Fig 23: Measuring 1st/Reverse Brake Piston Stroke
    G04847988Courtesy of SUZUKI OF AMERICA CORP.
  45. Apply petroleum jelly to front planetary carrier rear thrust bearing race (1).
  46. Place front planetary carrier rear thrust bearing race (1) onto planetary front gear (2).
  47. Install planetary front gear (2) to front planetary ring gear (3).
    Fig 24: Identifying Planetary Front Gear To Front Planetary Ring Gear
    G04847989Courtesy of SUZUKI OF AMERICA CORP.
  48. Apply petroleum jelly to input shaft front thrust bearing (1) and rear planetary ring gear rear thrust bearing (2).
  49. Install input shaft front thrust bearing (1), planetary sun gear (3), and rear planetary ring gear rear thrust bearing (2) to forward and direct clutch assembly (4).
    Fig 25: Identifying Direct Clutch Assembly
    G04847990Courtesy of SUZUKI OF AMERICA CORP.
  50. Apply petroleum jelly to rear planetary ring gear, rear thrust bearing race and front planetary carrier rear thrust bearing.
  51. Install rear planetary ring gear rear thrust bearing race (1), rear planetary ring gear (2) and front planetary carrier rear thrust bearing (3) to planetary sun gear (4).
    NOTE: Make sure that tube of rear planetary ring gear rear thrust bearing race fit into notch of rear planetary ring gear.
    Fig 26: Identifying Planetary Sun Gear Assembly
    G04847991Courtesy of SUZUKI OF AMERICA CORP.
  52. Install forward and direct clutch assembly (1).
  53. Apply petroleum jelly to input shaft thrust bearing front race (2) and input shaft rear thrust bearing (3).
  54. Place input shaft rear thrust bearing front race (2) and input shaft rear thrust bearing (3) to forward and direct clutch assembly (1).
    Fig 27: Identifying Forward & Direct Clutch Assembly
    G04847992Courtesy of SUZUKI OF AMERICA CORP.
  55. Apply A/T fluid to 4 new gaskets (1).
  56. Install 4 new gaskets (1) to transaxle case.
  57. Apply A/T fluid to transaxle lubrication tubes (2).
  58. Install tube clamp (3) and tighten the torx® bolt to specified torque.

    Tightening torque 

    Tube clamp torx® bolt a: 9 N.m (0.9 kg-m, 6.5 lb-ft) 

    Fig 28: Identifying Gaskets To Transaxle Case
    G04847993Courtesy of SUZUKI OF AMERICA CORP.
  59. Apply petroleum jelly to input shaft rear thrust bearing rear race (1).
  60. Place input shaft rear thrust bearing rear race (1) to transaxle rear cover (2).
    Fig 29: Identifying Input Shaft Rear Thrust Bearing Rear Race To Transaxle Rear Cover
    G04847994Courtesy of SUZUKI OF AMERICA CORP.
  61. Apply sealant to mating surface of transaxle case by using a nozzle as shown in Fig 30 by such amount that its section is 1.5 mm (0.059 in.) in diameter.

    "A": Sealant 99000-31230SUZUKI Bond No.1216B 

    Fig 30: Identifying Area Applying Sealant To Transaxle Case
    G04847995Courtesy of SUZUKI OF AMERICA CORP.
  62. Install transaxle rear cover to transaxle case by a tightening bolts to specified torque.
    TORQUE SPECIFICATIONS

    Bolt Size Length (mm) Pieces
    A M6 16 2
    B M8 25 2
    C M8 45 4
    D M8 48 3
    NOTE: Make sure to use new transaxle rear cover bolts A, B and D.

    Tightening torque 

    Transaxle rear cover bolts a: 10 N.m (1.0 kg-m, 7.5 lb-ft) 

    Transaxle rear cover bolts b: 24 N.m (2.4 kg-m, 17.5 lb-ft) 

    Fig 31: Tightening Transaxle Rear Cover Bolts
    G04847996Courtesy of SUZUKI OF AMERICA CORP.
  63. Apply A/T fluid to inner surface of new countershaft front bearing (1).
  64. Install new countershaft front bearing (1) to transaxle housing, using special tool.

    Special Tool 

    (A): 09913-75510 

    Fig 32: Identifying Countershaft Front Bearing To Transaxle Housing
    G04847997Courtesy of SUZUKI OF AMERICA CORP.
  65. Apply A/T fluid to new oil seal ring (1) and install oil seal ring (1) to transaxle housing.
    NOTE: Do not spread oil seal ring ends excessively.
  66. Apply A/T fluid to transaxle rubrication tube (2).
  67. Install tube clamp (3) and tighten the bolt to specified torque.

    Tightening torque 

    Transaxle lubrication tube bolt a: 5.5 N.m (0.55 kg-m, 4.0 lb-ft) 

  68. Install oil reservoir RH plate and tighten 3 bolts to specified torque.

    Tightening torque 

    Oil reservoir RH plate bolt b: 5.5 N.m (0.55 kg-m, 4.0 lb-ft) 

    Fig 33: Tightening Oil Reservoir RH Plate Bolts
    G04847998Courtesy of SUZUKI OF AMERICA CORP.
  69. Install oil reservoir LH plate (1) and tighten 2 bolts to specified torque.

    Tightening torque 

    Oil reservoir LH plate bolts a: 5.5 N.m (0.55 kg-m, 4.0 lb-ft) 

    Fig 34: Tightening Oil Reservoir LH Plate Bolts
    G04847999Courtesy of SUZUKI OF AMERICA CORP.
  70. Install oil strainer assembly (1) and tighten the bolt to specified torque.

    Tightening torque 

    Oil strainer bolt a: 5.5 N.m (0.55 kg-m, 4.0 lb-ft) 

  71. Install differential gear assembly.
    Fig 35: Identifying Oil Strainer Assembly
    G04848000Courtesy of SUZUKI OF AMERICA CORP.
  72. Apply sealant to mating surface of transaxle case by using a nozzle as shown in Fig 36 by such amount that its section is 1.5 mm (0.059 in.) in diameter.

    "A": Sealant 99000-31230SUZUKI Bond No.1216B 

    Fig 36: Applying Sealant To Mating Surface Of Transaxle Case
    G04848001Courtesy of SUZUKI OF AMERICA CORP.
  73. Install transaxle housing to transaxle case by 15 tightening bolts to specified torque.
    TORQUE SPECIFICATIONS

    Bolt Size Length (mm) Pieces
    A M8 30 9
    B M8 30 4
    C M8 35 2
    D M8 45 1
    E M8 Torx® T40 30 1

    Tightening torque 

    Transaxle case bolt: 29 N.m (2.9 kg-m, 20.98 lb-ft) 

    NOTE: Make sure to use new transaxle housing bolts B and C.
    Fig 37: Tightening Transaxle Housing Bolts
    G04848002Courtesy of SUZUKI OF AMERICA CORP.
  74. Install one-way No. 1 clutch assembly (1) into oil pump assembly (2).
    Fig 38: Identifying One-Way No. 1 Clutch Assembly Into Oil Pump Assembly
    G04848003Courtesy of SUZUKI OF AMERICA CORP.
  75. Check for correct installation of each component parts as follows.

    Measure the distance "a" by using vernier (1) and straight edge (2). If distance is out of specification, remove one-way No. 1 clutch assembly (3) and install them properly.

    Distance between upper edge of one-way No. 1 clutch to oil pump plate 

    "a": 51.1 - 51.7 mm (2.012 - 2.035 in.) 

    Fig 39: Identifying Distance Between Upper Edge Of One-Way No. 1 Clutch To Oil Pump Plate
    G04848004Courtesy of SUZUKI OF AMERICA CORP.
  76. Apply A/T fluid to O-ring and install oil pump assembly (1) by 8 tightening bolts to specified torque.
    NOTE: Do not twist or deviate O-ring during installation.

    Tightening torque 

    Oil pump body bolt: 25 N.m (2.5 kg-m, 18.08 lb-ft) 

    Fig 40: Tightening Oil Pump Body Bolt
    G04848005Courtesy of SUZUKI OF AMERICA CORP.
  77. Measure end play of input shaft (1), using special tool. If end play is out of specification, replace input shaft rear thrust bearing front race in the following so as end play to be in standard value.

    Special Tool 

    1. 09900-20607 
    2. 09900-20701 

    End play of input shaft 

    Standard: 0.37 - 0.90 mm (0.0034 - 0.035 in.) 

    Available input shaft rear thrust bearing front race thickness 

    0.81 mm (0.031 in.), 1.15 mm (0.045 in.) 

    Fig 41: Measuring End Play Of Input Shaft
    G04848006Courtesy of SUZUKI OF AMERICA CORP.
  78. Apply A/T fluid to new gaskets (1) and install gaskets (1) to transaxle case.
    Fig 42: Identifying A/T Fluid Gaskets
    G04848007Courtesy of SUZUKI OF AMERICA CORP.
  79. While holding valve body assembly, connect manual valve connecting rod (1) to manual shift shaft (2).
  80. Install valve body assembly (3) by 9 tightening bolts to specified torque.

    Tightening torque 

    Valve body bolt: 10 N.m (1.0 kg-m, 7.5 lb-ft) 

    TORQUE SPECIFICATIONS

    Bolt Length (mm) Pieces
    A 16 2
    B 50 4
    C 55 3
    Fig 43: Identifying Valve Body Bolt
    G04848008Courtesy of SUZUKI OF AMERICA CORP.
  81. Apply A/T fluid to new O-ring and install O-ring to solenoid harness (1).
  82. Install solenoid harness (1) into transaxle case.
    NOTE: Do not twist or deviate O-ring during installation.
  83. Connect solenoid connectors by identifying wire color.

    Solenoid coupler: Wire color

    Pressure control solenoid valve (1): Blue + Brawn

    Shift solenoid valve-A (No. 1) (2): White

    Shift solenoid valve-B (No. 2) (3): Black

    TCC solenoid valve (4): Yellow

  84. Clamp solenoid harness.
    Fig 44: Identifying Solenoid Harness Clamp
    G04848009Courtesy of SUZUKI OF AMERICA CORP.
  85. Apply sealant to mating surface of transaxle case by using a nozzle as shown in Fig 45 by such amount that its section is 1.5 mm (0.059 in.) in diameter.

    "A": Sealant 99000-31230SUZUKI Bond No.1216B 

    Fig 45: Applying Sealant To Mating Surface Of Transaxle Case
    G04848010Courtesy of SUZUKI OF AMERICA CORP.
  86. Install transaxle side cover (1) by tightening new torx® bolts to specified torque.

    Tightening torque 

    Transaxle side cover bolts a: 13 N.m (1.3 kg-m, 9.5 lb-ft) 

    Fig 46: Tightening Transaxle Side Cover Bolts
    G04848011Courtesy of SUZUKI OF AMERICA CORP.
  87. Apply A/T fluid to transmission fluid temperature sensor (1), output shaft speed sensor (2), input shaft speed sensor (3) and fluid filler tube (4).
  88. Install input shaft speed sensor and output shaft speed sensor (with new O-rings installed) by tightening bolts to specified torque.

    Tightening torque 

    Input shaft speed sensor bolt a: 5.5 N.m (0.55 kg-m, 4.0 lb-ft) 

    Output shaft speed sensor bolt b: 5.5 N.m (0.55 kg-m, 4.0 lb-ft) 

  89. Install fluid filler tube (4) (with new O-ring installed).
  90. Install transmission fluid temperature sensor (1) (with new O-ring installed) to specified torque.

    Tightening torque 

    Transmission fluid temperature sensor d: 10 N.m (1.0 kg-m, 7.2 lb-ft) 

    Fig 47: Identifying Transmission Fluid Temperature Sensor
    G04848012Courtesy of SUZUKI OF AMERICA CORP.
  91. Install transmission range sensor assembly.
    1. Install transmission range sensor plate (1) to groove of solenoid harness.
    2. Install transmission range sensor (2) to manual valve lever shaft (3).
    3. Place lock washer (4).
    4. Insert transmission range sensor bolts.
    5. Tighten transmission range sensor lock nut (5) to specified torque and then bend claws lock washer.

      Tightening torque 

      Transmission range sensor lock nut a: 7.0 N.m (0.7 kg-m, 5.0 lb-ft) 

    6. Install manual shift lever (6), washer (7) and tighten nut (8) to specified torque.

      Tightening torque 

      Manual select lever nut b: 12 N.m (1.2 kg-m, 8.7 lb-ft) 

    7. Adjust transmission range sensor.
    8. Tighten transmission range sensor bolt and nut to specified torque.

      Tightening torque 

      Transmission range sensor bolt c: 25 N.m (2.5 kg-m, 18.0 lb-ft) 

      Transmission range sensor nut d: 7.5 N.m (0.75 kg-m, 5.5 lb-ft) 

      Fig 48: Identifying Transmission Range Sensor Bolt & Nut
      G04848013Courtesy of SUZUKI OF AMERICA CORP.
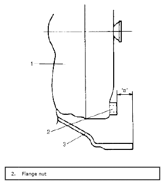
  92. Install torque converter (1) to input shaft.
    1. Install torque converter (1), using care not to damage oil seal of oil pump.
    2. After installing torque converter (1), check that distance "a" is within specification.

      Distance between torque converter and mating surface of transaxle housing (3) 

      "a": 21.5 mm (0.846 in.) or more 

    3. Check torque converter (1) for smooth rotation.
      CAUTION:
      • Before installing converter, make sure that its pump hub portion is free from nicks, burrs or damage which may cause oil seal to leak.
      • Be very careful not to drop converter on oil pump gear. Damage in gear, should it occur, may cause a critical trouble.
      Fig 49: Identifying Distance Between Torque Converter & Mating Surface Of Transaxle Housing
      G04848014Courtesy of SUZUKI OF AMERICA CORP.