lemon-mirror:
Home >> Suzuki >> 2007 >> SX4 Base, Automatic >> Repair and Diagnosis >> Transmission >> Automatic Trans >> Automatic Transmission >> Repair Instructions >> Automatic Transaxle Unit Disassembly

Automatic Transaxle Unit Disassembly

Reference: AUTOMATIC TRANSAXLE UNIT DISMOUNTING AND REMOUNTING 

Reference: AUTOMATIC TRANSAXLE ASSEMBLY COMPONENTS 

Reference: AUTOMATIC TRANSAXLE UNIT ASSEMBLY 

CAUTION:
  • Thoroughly clean transaxle exterior before overhauling it.
  • Keep working table, tools and hands clean while overhauling.
  • Use special care to handle aluminum parts so as not to damage them.
  • Do not expose removed parts to dust. Keep them always clean.
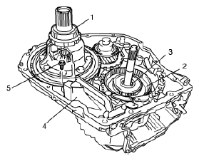
  1. Extract torque converter (1).
    CAUTION: Remove torque converter as much straight as possible. Leaning it may cause to damage oil seal lip.
    Fig 1: Identifying Extract Torque Converter
    G04847817Courtesy of SUZUKI OF AMERICA CORP.
  2. Remove fluid level gauge (1), fluid filler tube (2), output shaft speed sensor (3) and input shaft speed sensor (4) (for speedometer).
  3. Disconnect transmission fluid temperature sensor connector (6) and remove transmission fluid temperature sensor (7).
    Fig 2: Identifying Output & Input Shaft Speed Sensor
    G04847818Courtesy of SUZUKI OF AMERICA CORP.
  4. Pull out transmission range sensor assembly (1).
    1. Remove nut, washer and manual shift lever (2).
    2. Pry off lock washer (4).
    3. Remove lock nut (3).
    4. Remove lock washer (4).
    5. Remove bolt (5) and nut (6).
      NOTE: Never reuse lock washer after removal.
      Fig 3: Identifying Nut, Washer & Manual Shift Lever
      G04847819Courtesy of SUZUKI OF AMERICA CORP.
  5. Remove transaxle side cover (1) by removing bolts.
    Fig 4: Identifying Transaxle Side Cover
    G04847820Courtesy of SUZUKI OF AMERICA CORP.
  6. Remove solenoid harness from clamp.
  7. Disconnect pressure control solenoid, shift solenoid-A, shift solenoid-B and TCC solenoid connectors (1, 2, 3, 4).
  8. Remove solenoid harness (5) with O-ring.
    Fig 5: Identifying TCC Solenoid Connectors
    G04847821Courtesy of SUZUKI OF AMERICA CORP.
  9. Remove valve body assembly (1) by removing 9 bolts (4), and then disconnect manual valve connecting rod (2) from manual valve lever (3).
    CAUTION: Be careful not to let manual valve fall off when removing valve body assembly.
    Fig 6: Identifying Manual Valve Connecting Rod From Manual Valve Lever
    G04847822Courtesy of SUZUKI OF AMERICA CORP.
  10. Remove 2 gaskets (1).
    Fig 7: Identifying Gaskets
    G04847823Courtesy of SUZUKI OF AMERICA CORP.
  11. Remove 17 bolts (1) of transaxle housing.
  12. Remove 8 bolts (2) of oil pump body.
    Fig 8: Identifying Oil Pump Body Bolts
    G04847824Courtesy of SUZUKI OF AMERICA CORP.
  13. Remove transaxle housing with oil pump (1), using special tool, and then remove oil pump body (2) by hand.

    Special Tool 

    (A): 09912-34510 

    Fig 9: Removing Oil Pump Body
    G04847825Courtesy of SUZUKI OF AMERICA CORP.
  14. Clean and wipe off gasket sealant on mating surface between transaxle housing and transaxle case.
  15. Remove oil reservoir RH plate (1) by removing 3 bolts.
  16. Remove transaxle lubrication tube (2) by removing the bolt and prying up both ends of the tube.
    Fig 10: Identifying Transaxle Lubrication Tube
    G04847826Courtesy of SUZUKI OF AMERICA CORP.
  17. Remove countershaft front bearing (1) using bearing puller.
    Fig 11: Identifying Countershaft Front Bearing
    G04847827Courtesy of SUZUKI OF AMERICA CORP.
  18. Remove differential gear assembly (1).
  19. Remove one-way No. 1 clutch assembly (2) and one-way No. 1 clutch front thrust washer (3).
  20. Remove oil strainer assembly (4) by removing bolt (5).
    Fig 12: Identifying Differential Gear Assembly
    G04847828Courtesy of SUZUKI OF AMERICA CORP.
  21. Loosen 11 bolts of transaxle rear cover.
  22. Lightly and uniformly tap two rib sections of transaxle rear cover (1), using plastic hammer.
  23. Pull out transaxle rear cover (1) and input shaft rear thrust bearing rear race (2).
    Fig 13: Identifying Transaxle Rear Cover & Input Shaft Rear Thrust Bearing Rear Race
    G04847829Courtesy of SUZUKI OF AMERICA CORP.
  24. Remove 4 gaskets (1) from transaxle case.
  25. Remove tube clamp (2) and transaxle lubrication tube (3) prying up both ends of the tube.
    Fig 14: Identifying Tube Clamp & Transaxle Lubrication Tube
    G04847830Courtesy of SUZUKI OF AMERICA CORP.
  26. Remove forward and direct clutch assembly (1), thrust bearing (2) and bearing front race (3) of input shaft rear side.
    Fig 15: Identifying Direct Clutch Assembly, Thrust Bearing & Bearing Front Race
    G04847831Courtesy of SUZUKI OF AMERICA CORP.
  27. Remove planetary gear (1) and planetary sun gear (2) with the input shaft front thrust bearing (3) installed.
    Fig 16: Identifying Planetary Gear & Planetary Sun Gear
    G04847832Courtesy of SUZUKI OF AMERICA CORP.
  28. Remove snap ring (1) using flat end rod or the like.
  29. Remove front planetary ring gear and one-way No. 2 clutch (2) with front planetary ring gear rear thrust bearing (3).
  30. Remove retaining plates "R", friction plates "F" and separator plates "S" in the following order. R --> F --> S --> F --> S --> F --> S --> F --> S --> F --> R
    Fig 17: Identifying Snap Ring
    G04847833Courtesy of SUZUKI OF AMERICA CORP.
  31. Remove front thrust bearing (2) and bearing race (1) of front planetary ring gear.
  32. Remove retainer ring (3) and 1st/reverse brake piston return spring (4).
    Fig 18: Identifying Front Thrust Bearing & Bearing Race
    G04847834Courtesy of SUZUKI OF AMERICA CORP.
  33. Remove 1st/reverse brake piston (1) with O-ring installed while applying and releasing compressed air (400 - 800 kPa, 4 - 8 kg/cm2 , 57 - 113 psi) through oil hole section (2).
    NOTE: If piston will not pop out, it is recommended to use needle nose pliers for removal.
    Fig 19: Compressing Air To Oil Hole
    G04847835Courtesy of SUZUKI OF AMERICA CORP.
  34. Remove reduction drive gear (2) by removing retainer ring (1).
    Fig 20: Identifying Reduction Drive Gear & Retainer Ring
    G04847836Courtesy of SUZUKI OF AMERICA CORP.
  35. Remove oil reservoir LH plate (1).
    Fig 21: Identifying Oil Reservoir LH Plate
    G04847837Courtesy of SUZUKI OF AMERICA CORP.
  36. Remove parking lock pawl bracket and manual detent spring (1).
  37. Remove parking lock pawl shaft (2), torsion spring (3) and parking lock pawl (4).
  38. Remove parking lock rod (5) and manual shift shaft (6).
    Fig 22: Identifying Parking Lock Rod & Manual Shift Shaft
    G04847838Courtesy of SUZUKI OF AMERICA CORP.
  39. Remove underdrive gear assembly (1) with bearing (2) and bearing race (3).
    Fig 23: Identifying Underdrive Gear Assembly With Bearing & Bearing Race
    G04847839Courtesy of SUZUKI OF AMERICA CORP.
  40. Remove torsion spring (1), spacer (2) and underdrive brake accumulator bracket (3).
    Fig 24: Identifying Torsion Spring, Spacer & Underdrive Brake Accumulator Bracket
    G04847840Courtesy of SUZUKI OF AMERICA CORP.
  41. Remove underdrive brake accumulator cover (1), piston (2) and spring (3) while applying and releasing compressed air (400 - 800 kPa, 4 - 8 kg/cm2 , 57 - 113 psi) through oil hole (4).
    Fig 25: Compressing Air To Oil Hole
    G04847841Courtesy of SUZUKI OF AMERICA CORP.
  42. Remove underdrive brake band anchor bolt (1) with O-ring (2), using special tool.

    Special Tool 

    (A): 09927-68010 

    Fig 26: Identifying Underdrive Brake Band Anchor Bolt With O-Ring
    G04847842Courtesy of SUZUKI OF AMERICA CORP.
  43. Remove underdrive clutch assembly (1) with bearing (2) and race (3).
    Fig 27: Identifying Underdrive Clutch Assembly With Bearing
    G04847843Courtesy of SUZUKI OF AMERICA CORP.
  44. Remove underdrive clutch thrust bearing (1).
  45. Remove underdrive brake band (2).
    Fig 28: Identifying Underdrive Clutch Thrust Bearing & Underdrive Brake Band
    G04847844Courtesy of SUZUKI OF AMERICA CORP.
  46. Remove underdrive brake piston as follows.
    1. Using special tool, compress underdrive brake piston cover (2) and remove snap ring using pliers or the like.
    2. Remove cover (2), piston (3) and spring (4) by applying compressed air (400 - 800 kPa, 4 - 8 kg/cm2 , 57 - 113 psi) from oil hole (1).
      Fig 29: Applying Compressed Air To Oil Hole
      G04847845Courtesy of SUZUKI OF AMERICA CORP.
  47. Remove snap ring (1) using flat end rod or the like.
  48. Remove one-way No. 3 clutch (2).
    Fig 30: Identifying One-Way No. 3 Clutch
    G04847846Courtesy of SUZUKI OF AMERICA CORP.
  49. Remove 2 oil seal rings (1).
    Fig 31: Identifying Oil Seal Rings
    G04847847Courtesy of SUZUKI OF AMERICA CORP.
  50. Remove differential side oil seal (1) using special tools.

    Special Tool 

    1. 09913-75821 
    2. 09924-84510-005 
      Fig 32: Identifying Special Tools On Differential Side Oil Seal
      G04847848Courtesy of SUZUKI OF AMERICA CORP.
  51. Remove manual shift shaft oil seal (1) using flat end rod or the like.
    Fig 33: Identifying Manual Shift Shaft Oil Seal
    G04847849Courtesy of SUZUKI OF AMERICA CORP.