lemon-mirror:
Home >> Toyota >> 2002 >> 4Runner Base >> Repair and Diagnosis >> External Pages >> Different car >> Section 249 (Cruise Control Systems) >> Trouble Shooting >> Pre-check

Trouble Shooting: Pre-check

WARNING: This page is about a different car, the 2002 Toyota MR2. However, it is still accessible from the selected car via links, so may be relevant.
NOTE:

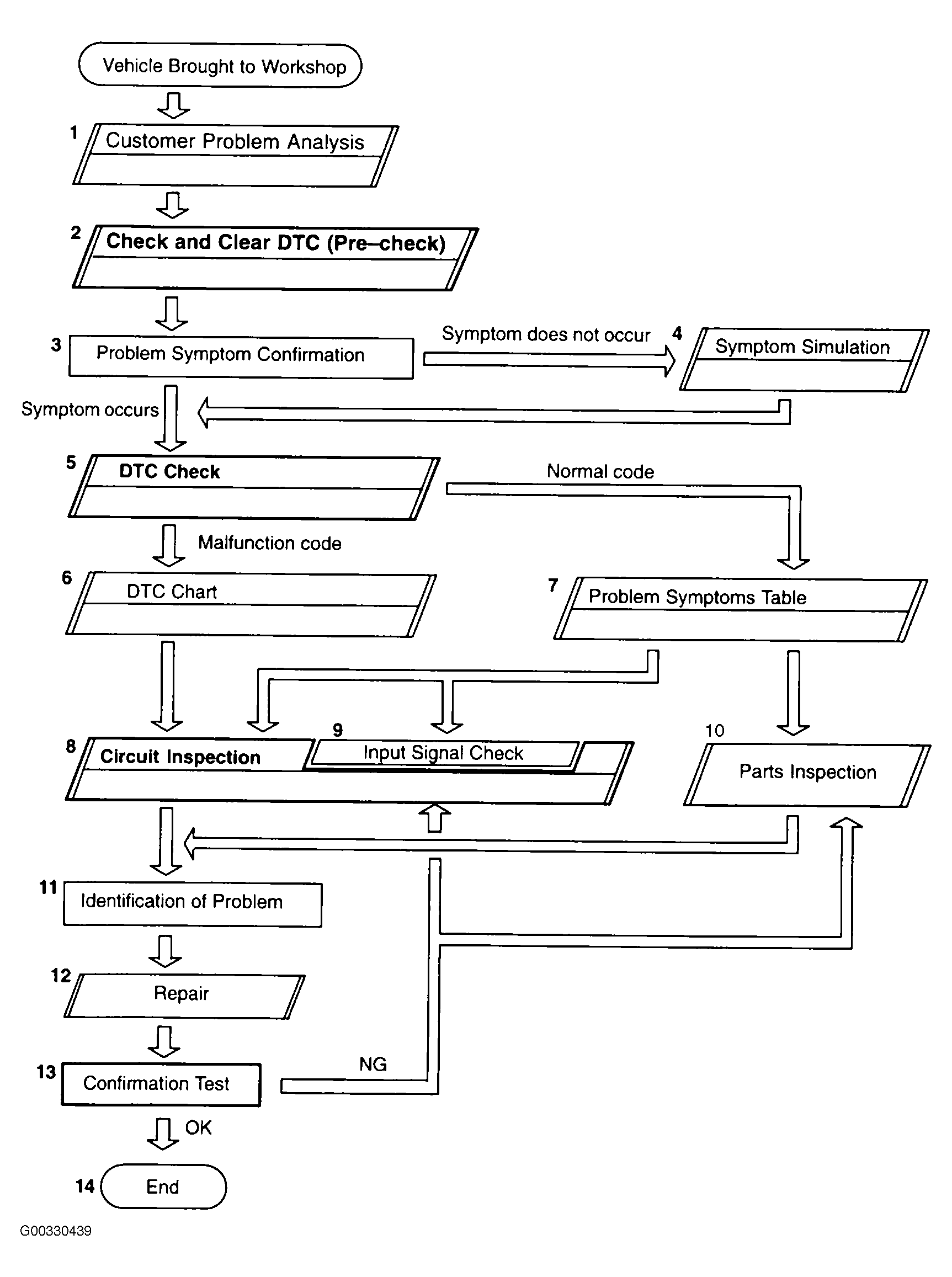
Customer Problem Analysis  : use the Customer Problem Analysis (Cruise Control System Check List) in conjunction with the trouble shooting flow chart. See Fig 1 and Fig 2 .

  1. Diagnose System 
    1. Check the indicator:
      1. Turn the ignition switch ON.
      2. NOTE: If the indicator check result is not normal, proceed to trouble shooting for the combination meter section. See DIAGNOSTICS - COMBINATION METER .
      3. Check that the CRUISE main indicator light comes ON when the cruise control main switch is turned ON, and that the indicator light goes off when the main switch is turned OFF. See Figure.
    2. NOTE: If a malfunction occurs in the speed sensor or actuator, etc. during cruise control driving, the ECU actuates AUTO CANCEL of the cruise control and turns on and off the CRUISE MAIN indicator light to inform the driver of a malfunction. At the same time, the malfunction is stored in memory as a DTC.
    3. Check the DTC, See Fig 3.
    4. Output a DTC using diagnosis check wire:
      1. Turn the ignition switch ON.
      2. Using SST, connect terminals Tc and CG of the DLC3. See Fig 4. SST 09843-18020.
      3. NOTE: If The DTC is not output, inspect the diagnosis circuit. See  DIAGNOSE SYSTEM.

        As an example, the blinking patterns for codes; normal, 11 and 21 are shown in the illustration. See Figure.

      4. Read the DTC on the CRUISE MAIN indicator light. See Figure.
  2. ECM Terminal Values Measurement By Using Toyota Break-Out-Box And Toyota Hand-Held Tester  :
    1. Connect the TOYOTA break-out-box and TOYOTA hand-held tester to the vehicle. See Fig 5.
    2. Read the ECM input/output values by following the prompts on the tester screen.
    3. Please refer to the TOYOTA hand-held tester has a "Snapshot" function. This records the measured data and is effective in the diagnosis of intermittent problems.
  3. Monitor ECM Output By Using Toyota Hand-Held Tester  :
    1. Hook up the TOYOTA hand-held tester to the DLC3. See Fig 6.
    2. NOTE: TOYOTA hand-held tester has a "Snapshot" function which records the monitored data.

      Please refer to the TOYOTA hand-held tester operator's manual for further details.

    3. Monitor the ECU data by following the prompts on the tester screen.
  4. Clearing DTCs  :
    1. The following actions will erase DTC's and freeze frame data.
      1. Operating the OBD II scan tool (complying with SAEJ1978) or TOYOTA hand-held tester to erase the codes (See the OBD II scan tool's instruction book for operating instructions).
      2. Disconnecting the battery terminals or EFI 1 fuse.
    2. After completing repairs, the DTC retained in the memory can be cleared by removing the ECU-B fuse for 10 seconds or more with the ignition OFF.
    3. Check that the normal code is displayed after connecting the fuse.
  5. Problem Symptom Confirmation (Road Test) 
    1. Inspect the SET switch, see Figure:
      1. Push the main switch ON. See Figure.
      2. Drive at a desired speed (25 mph (40 km/h). or higher).
      3. Press the control switch to the SET/COAST. See Figure.
      4. After releasing the switch, check that the vehicle cruises at the desired speed.
    2. Inspect the ACCEL switch, see Figure.
      1. Push the main switch ON. See Figure.
      2. Drive at a desired speed (25 mph (40 km/h). or higher).
      3. Check that the vehicle speed increases while the control switch is turned to RES/ACC, and that the vehicle cruises at the set speed when the switch is released. See Figure.
      4. Momentarily press the control switch upward for RES/ACC and then immediately release it. Check that the vehicle speed increases by about 1.5 Km/h (Tap-up function).
    3. Inspect the COAST switch, see Figure.
      1. Push the main switch ON. See Figure.
      2. Drive at a desired speed 25 mph (40 km/h) or higher.
      3. Check that the vehicle speed decreases while the control switch is turned to SET/COAST, and the vehicle cruises at the set speed when the switch is released. See Figure.
      4. Momentarily press the control switch is turned to SET/COAST, and then immediately release it. Check that the vehicle speed decreases by about 1.5 km/h (Tap-down function).
    4. Inspect the CANCEL switch, see Figure.
      1. Push the main switch ON. See Figure.
      2. Drive at a desired speed 25 mph (40 km/h) or higher.
      3. When operating one of the followings, check that the cruise control system is cancelled and that the normal driving mode is reset.

        Depress the brake pedal.

        Shift to except S position.

        Push the main switch OFF.

        Pull the cruise control switch to CANCEL. See Figure.

    5. Inspect the RESUME switch, see Figure.
      1. Push the main switch ON. See Figure.
      2. Drive at a desired speed 25 mph (40 km/h) or higher.
      3. When operating one of the followings, check that the cruise control system is cancelled and that the normal driving mode is reset:

        Depress the brake pedal.

        Shift to except S position.

        Pull the cruise control switch to CANCEL. See Figure.

      4. After the control switch is turned to RES/ACC at the driving speed of more than 40 km/h (25 mph), check that the vehicle restores the speed before the cancellation.
  6. Input Signal Check By Using Toyota Hand-Held Tester 
    1. Connect the TOYOTA hand-held tester to the DLC3.
    2. Check the control switch (CRUISE ON/OFF, CANCEL, SET/COAST, RES/ACC).
Problem Symptoms Table

Symptom Suspect Area See
SET not occurring or CANCEL occurring. (DTC is Normal)
..... Input signal circuit (1)
..... Vehicle Speed Sensor Circuit (2)
..... Stop Light Switch Circuit (3)
..... Park/Neutral Position Switch Circuit (4)
..... ECM (5)
SET not occurring or CANCEL occurring. (DTC dose not output)
..... ECM (5)
Actual Vehicle Speed Deviates Above Or Below The Set Speed.
..... Input signal circuit (1)
..... ECM (5)
Cruise Control Not Cancelled, Even When Brake Pedal Is Depressed.
..... Stop Light Switch Circuit (3)
..... ECM (5)
Cruise control not cancelled, even when transmission is shifted to "S" position.
..... Transmission Control ECU (5)
..... ECM (5)
Control switch does not operate. (SET/COAST, ACC/RES, CANCEL impossible)
..... Cruise Control Switch Circuit (1)
..... ECM (5)
SET possible at 25 mph or less, or CANCEL does not operate at 25 mph or less.
..... Input signal circuit (1)
..... ECM (5)
Poor response is ACCEL and RESUME modes.
..... ECM (5)
DTC memory is erased.
..... ECM (5)
DTC is not output, or is output when should not be
..... Diagnosis Circuit (6)
..... ECM (5)
Cruise MAIN indicator light remains ON or fails to light up
..... Input signal circuit (1)
..... ECM (5)
(1) DTC P1566/54: Input Signal Circuit 
(2) DTC P0500/21,23 Vehicle Speed Sensor Circuit 
(3) Stop light switch circuit 
(4) See, DTC P1780 : Transmission Neutral Switch Malfunction
(5) See, How To Troubleshoot ECU Controlled Systems
(6) Manufacturer did not specify procedure
Fig 1: Customer Problem Analysis (Cruise Control System Check List)
G00203267Courtesy of © TOYOTA, LICENSE AGREEMENT TMS1002
Fig 2: Trouble Shooting Flow Chart
G00330439Courtesy of © TOYOTA, LICENSE AGREEMENT TMS1002
Fig 3: Checking Indicator Light DTC
G00330505Courtesy of © TOYOTA, LICENSE AGREEMENT TMS1002
Fig 4: Identifying Terminals Of DLC3
G00368816Courtesy of © TOYOTA, LICENSE AGREEMENT TMS1002
Fig 5: Connecting Toyota Break Out Box & Hand Held Tester
G00330453Courtesy of © TOYOTA, LICENSE AGREEMENT TMS1002
Fig 6: Connecting Toyota Hand Held Tester To DLC3
G00368818Courtesy of © TOYOTA, LICENSE AGREEMENT TMS1002
Fig 7: Diagnostic Trouble Code Chart
G00368836Courtesy of © TOYOTA, LICENSE AGREEMENT TMS1002